Федеральное агентство
по техническому регулированию и метрологии
Национальный
стандарт
Российской
Федерации ГОСТ Р 52289-2019
Технические средства организации
дорожного движения
ПРАВИЛА ПРИМЕНЕНИЯ ДОРОЖНЫХ
ЗНАКОВ, РАЗМЕТКИ, СВЕТОФОРОВ,
ДОРОЖНЫХ ОГРАНИЧЕНИЙ
И НАПРАВЛЯЮЩИХ УСТРОЙСТВ
TRAFFIC CONTROL DEVICES. RULES OF APPLICATION OF TRAFFIC SIGNS, MARKINGS, TRAFFIC LIGHTS, GUARDRAILS AND DELINEATORS
Предисловие
- РАЗРАБОТАН Федеральным автономным учреждением "Российский дорожный научно-исследовательский институт" (ФАУ "РОСДОРНИИ") Министерства транспорта Российской Федерации
- ВНЕСЕН Техническим комитетом по стандартизации ТК 278 "Безопасность дорожного движения"
- УТВЕРЖДЕН И ВВЕДЕН В ДЕЙСТВИЕ Приказом Федерального агентства по техническому регулированию и метрологии от 20 декабря 2019 г. N 1425-ст
- ВЗАМЕН ГОСТ Р 52289-2004
- Стандарт полностью соответствует требованиям Конвенции о дорожных знаках и сигналах (Вена, 1968 г.) и Европейского соглашения, дополняющего эту Конвенцию (Женева, 1971 г.), с учетом поправок (1995 г.)
Правила применения настоящего стандарта установлены в статье 26 Федерального закона от 29 июня 2015 г. N 162-ФЗ "О стандартизации в Российской Федерации". Информация об изменениях к настоящему стандарту публикуется в ежегодном (по состоянию на 1 января текущего года) информационном указателе "Национальные стандарты", а официальный текст изменений и поправок - в ежемесячном информационном указателе "Национальные стандарты". В случае пересмотра (замены) или отмены настоящего стандарта соответствующее уведомление будет опубликовано в ближайшем выпуске ежемесячного информационного указателя "Национальные стандарты". Соответствующая информация, уведомление и тексты размещаются также в информационной системе общего пользования - на официальном сайте Федерального агентства по техническому регулированию и метрологии в сети Интернет (www.gost.ru)
1 Область применения
Настоящий стандарт устанавливает правила применения технических средств организации дорожного движения: дорожных знаков, дорожной разметки, дорожных светофоров, а также боковых дорожных ограждений и направляющих устройств на автомобильных дорогах общего пользования, улицах и дорогах городов и сельских поселений (далее, кроме раздела 8, - дорогах).
Примечание - Настоящий стандарт распространяется на прилегающие территории по [1], кроме 5.1.4, 5.1.6, 5.1.14, 5.4.22, 5.7.19.
2 Нормативные ссылки
В настоящем стандарте использованы нормативные ссылки на следующие документы:
ГОСТ 19433 Грузы опасные. Классификация и маркировка
ГОСТ 23407 Ограждения инвентарные строительных площадок и участков производства строительно-монтажных работ. Технические условия
ГОСТ 32757 Дороги автомобильные общего пользования. Временные технические средства организации дорожного движения. Классификация
ГОСТ 32758 Дороги автомобильные общего пользования. Временные технические средства организации дорожного движения. Технические требования и правила применения
ГОСТ 32759 Дороги автомобильные общего пользования. Дорожные тумбы. Технические требования
ГОСТ 32843 Дороги автомобильные общего пользования. Столбики сигнальные дорожные. Технические требования
ГОСТ 32865 Дороги автомобильные общего пользования. Знаки переменной информации. Технические требования
ГОСТ 32866 Дороги автомобильные общего пользования. Световозвращатели дорожные. Технические требования
ГОСТ 32945 Дороги автомобильные общего пользования. Знаки дорожные. Технические требования
ГОСТ 32948 Дороги автомобильные общего пользования. Опоры дорожных знаков. Технические требования
ГОСТ 32952 Дороги автомобильные общего пользования. Разметка дорожная. Методы контроля
ГОСТ 32953 Дороги автомобильные общего пользования. Разметка дорожная. Технические требования
ГОСТ 32964 Дороги автомобильные общего пользования. Искусственные неровности сборные. Технические требования. Методы контроля
ГОСТ 33062 Дороги автомобильные общего пользования. Требования к размещению объектов дорожного и придорожного сервиса
ГОСТ 33078 Дороги автомобильные общего пользования. Методы измерения сцепления колеса автомобиля с покрытием
ГОСТ 33127 Дороги автомобильные общего пользования. Ограждения дорожные. Классификация
ГОСТ 33128 Дороги автомобильные общего пользования. Ограждения дорожные. Технические требования
ГОСТ 33129 Дороги автомобильные общего пользования. Ограждения дорожные. Методы контроля
ГОСТ 33151 Дороги автомобильные общего пользования. Элементы обустройства. Технические требования. Правила применения
ГОСТ 33153 Дороги автомобильные общего пользования. Проектирование тоннелей. Общие требования
ГОСТ 33220 Дороги автомобильные общего пользования. Требования к эксплуатационному состоянию
ГОСТ 33385 Дороги автомобильные общего пользования. Дорожные светофоры. Технические требования
ГОСТ Р 50597 Автомобильные дороги и улицы. Требования к эксплуатационному состоянию, допустимому по условиям обеспечения безопасности дорожного движения. Методы контроля
ГОСТ Р 50970 Технические средства организации дорожного движения. Столбики сигнальные дорожные. Общие технические требования. Правила применения
ГОСТ Р 50971 Технические средства организации дорожного движения. Световозвращатели дорожные. Общие технические требования. Правила применения
ГОСТ Р 51256 Технические средства организации дорожного движения. Разметка дорожная. Классификация. Технические требования
ГОСТ Р 52282 Технические средства организации дорожного движения. Светофоры дорожные. Типы и основные параметры. Общие технические требования. Методы испытаний
ГОСТ Р 52290 Технические средства организации дорожного движения. Знаки дорожные. Общие технические требования
ГОСТ Р 52605 Технические средства организации дорожного движения. Искусственные неровности. Общие технические требования. Правила применения
ГОСТ Р 52721 Технические средства организации дорожного движения. Методы испытаний дорожных ограждений
ГОСТ Р 52766 Дороги автомобильные общего пользования. Элементы обустройства. Общие требования
ГОСТ Р 55691 Системы управления и информации на транспорте. Системы оповещения о дорожных происшествиях (TIWS). Требования к системе
ГОСТ Р 58350 Автомобильные дороги общего пользования. Технические средства организации дорожного движения в местах производства работ. Технические требования. Правила применения
ГОСТ Р 58351 Дороги автомобильные общего пользования. Ограждения дорожные фронтальные, удерживающие боковые комбинированные и удерживающие пешеходные. Общие технические требования. Методы испытаний и контроля. Правила применения
ГОСТ Р ИСО 23600 Вспомогательные технические средства для лиц с нарушением функций зрения и лиц с нарушением функций зрения и слуха. Звуковые и тактильные сигналы дорожных светофоров
СП 34.13330 СНиП 2.05.02-85 Автомобильные дороги
СП 42.13330 СНиП 2.07.01-89 Градостроительство. Планировка и застройка городских и сельских поселений
Примечание - При пользовании настоящим стандартом целесообразно проверить действие ссылочных стандартов (сводов правил) в информационной системе общего пользования - на официальном сайте Федерального агентства по техническому регулированию и метрологии в сети Интернет или по ежегодному информационному указателю "Национальные стандарты", который опубликован по состоянию на 1 января текущего года, и по выпускам ежемесячного информационного указателя "Национальные стандарты" за текущий год. Если заменен ссылочный документ, на который дана недатированная ссылка, то рекомендуется использовать действующую версию этого документа с учетом всех внесенных в данную версию изменений. Если заменен ссылочный документ, на который дана датированная ссылка, то рекомендуется использовать версию этого документа с указанным выше годом утверждения (принятия). Если после утверждения настоящего стандарта в ссылочный документ, на который дана датированная ссылка, внесено изменение, затрагивающее положение, на которое дана ссылка, то это положение рекомендуется применять без учета данного изменения. Если ссылочный документ отменен без замены, то положение, в котором дана ссылка на него, рекомендуется применять в части, не затрагивающей эту ссылку. Сведения о действии сводов правил целесообразно проверить в Федеральном информационном фонде стандартов.
3 Термины и определения
В настоящем стандарте применены следующие термины с соответствующими определениями:
3.1
временные технические средства организации дорожного движения: Комплекс устройств, применяемых на дорогах для обеспечения безопасности дорожного движения и повышения пропускной способности дороги в течение периода, вызвавшего необходимость временного изменения организации дорожного движения. [ГОСТ 32757-2014, пункт 3.1] |
3.2
дорожный знак (знак): Техническое средство организации движения с обозначениями и/или надписями, информирующими участников дорожного движения о дорожных условиях и режимах движения, расположении населенных пунктов и других объектах. [ГОСТ 32945-2014, пункт 3.3] |
3.3 знак основной: Знак, необходимость установки которого определяется дорожными условиями в соответствии с требованиями настоящего стандарта.
3.4 знак дублирующий: Знак, установленный в том же поперечном сечении дороги, что и основной знак, служащий для повышения надежности восприятия информации участниками движения.
3.5 знак предварительный: Знак, установленный до основного знака и предупреждающий водителей о предстоящем изменении режима движения или объекте, информация о которых содержится на основном знаке.
3.6 знак повторный: Знак, установленный за основным знаком и подтверждающий его информацию.
3.7 знак дополнительной информации (табличка): Знак, уточняющий или ограничивающий действие знаков, с которыми он применен, либо содержащий иную информацию для участников дорожного движения.
3.8
знак переменной информации; ЗПИ: Техническое средство организации дорожного движения, предназначенное для отображения дорожных знаков, за исключением знаков индивидуального проектирования. Примечание - Знаки переменной информации позволяют отобразить сменяющиеся во времени изображения дорожных знаков. Включенным состоянием ЗПИ называют его рабочее состояние, при котором он отображает изображение дорожного знака, выключенным - когда не отображает. [ГОСТ 32865-2014, пункт 3.1] |
3.9
разметка дорожная: Линии, надписи и другие обозначения на проезжей части автомобильной дороги, искусственных сооружениях и элементах обустройства дорог, информирующие участников дорожного движения об условиях и режимах движения на участке дороги. [ГОСТ 32953-2014, пункт 3.1.1] |
3.10 островок безопасности: Элемент обустройства дороги, разделяющий полосы движения (в том числе полосы для велосипедистов), а также полосы движения и трамвайные пути, конструктивно выделенный бордюрным камнем над проезжей частью дороги или обозначенный техническими средствами организации дорожного движения и предназначенный для остановки пешеходов при переходе проезжей части дороги.
Примечание - К островку безопасности может относиться часть разделительной полосы, через которую проложен пешеходный переход.
3.11
островок направляющий: Элемент обустройства дороги, расположенный в одном уровне с проезжей частью, либо приподнятый над ней и обеспечивающий благоприятные условия разделения и слияния транспортных потоков. [ГОСТ 32846—2014, пункт 3.23] |
3.12
светофор дорожный: Светосигнальное устройство, применяемое для регулирования очередности пропуска транспортных средств и пешеходов. [ГОСТ 33385—2015, пункт 3.1] |
3.13 светофорный объект: Группа дорожных светофоров (далее - светофоров), установленных на участке улично-дорожной сети, очередность движения по которому конфликтующих транспортных средств или транспортных средств и пешеходов регулируется светофорной сигнализацией, работающей в едином цикле.
3.14
дорожное ограждение: Устройство, предназначенное для обеспечения движения транспорта с наименьшими рисками столкновений и съездов с дорог, предотвращения переезда через разделительную полосу, столкновения со встречным транспортным средством, наезда на массивные препятствия и сооружения, расположенные на обочине в полосе отвода дороги, на разделительной полосе, снижения риска возможности падения пешеходов с дороги или мостового сооружения, а также для упорядочения движения пешеходов и предотвращения выхода животных на проезжую часть. [ГОСТ 33127-2014, пункт 3.1] |
3.15 высота ограждения: Расстояние в вертикальной плоскости от наиболее высокой точки ограждения до уровня обочины, покрытия на мостовом сооружении, разделительной полосе или проезжей части (при установке ограждения на тротуаре или газоне), измеренное у края ограждения со стороны проезжей части.
Примечание - Для пешеходного ограждения высотой является расстояние от наиболее высокой точки ограждения до уровня покрытия тротуара (разделительной полосы).
3.16 конструктивно выделенная разделительная полоса: элемент дороги, разделяющий смежные проезжие части и не предназначенный для движения и остановки транспортных средств, выделенный с помощью одного или нескольких следующих элементов обустройства: дорожными ограждениями, бордюрным камнем, направляющими устройствами, противоослепляющими экранами, а также газоном и обозначенный линиями разметки 1.2*.
* - Здесь и далее указаны номера разметки по ГОСТ Р 51256-2018.
3.17
динамический прогиб дорожного удерживающего бокового ограждения (прогиб): Наибольшее горизонтальное смещение лицевой поверхности ограждения в поперечном направлении относительно лицевой поверхности недеформированного ограждения при наезде на него транспортного средства (автомобиля). [ГОСТ 33128-2014, пункт 3.2] |
3.18
рабочая ширина дорожного ограждения: Максимальное динамическое боковое смещение кузова транспортного средства или фрагмента дорожного ограждения (в зависимости от места установки дорожного ограждения) относительно лицевой поверхности недеформированного дорожного ограждения. [ГОСТ 33128-2014, пункт 3.4] |
3.19
направляющие устройства: Технические средства, предназначенные для зрительного ориентирования участников дорожного движения. [[2], статья 2] |
4 Общие положения
4.1 Технические средства организации дорожного движения допускается применять в случаях, не предусмотренных настоящим стандартом, если их применение необходимо для целей обеспечения безопасности и организации дорожного движения.
4.2 В полосе отвода дороги, в том числе на разделительной полосе и обочинах, не допускается размещать посторонние предметы, не являющиеся элементами обустройства и не имеющие отношения к организации движения, а также наносить на проезжую часть и элементы обустройства дороги изображения, которые могут быть приняты за дорожные знаки или иные технические средства организации дорожного движения, либо могут снижать их видимость или эффективность, либо ослеплять участников движения или отвлекать их внимание, создавая тем самым опасность для дорожного движения.
Не допускается размещать на знаках, на их оборотной стороне, светофорах и опорах, на которых они расположены, на путепроводах и надземных пешеходных переходах наружную рекламу, средства наружной рекламы и другие приспособления (устройства), не имеющие отношения к организации движения и не относящиеся к специальным техническим средствам, которые работают в автоматическом режиме и имеют функции фото- и киносъемки, видеозаписи, для обеспечения контроля за дорожным движением.
4.3 Знаки и светофоры (условные обозначения - по таблице А.1 приложения А) размещают таким образом, чтобы они воспринимались только участниками движения, для которых они предназначены, и не были закрыты какими-либо препятствиями (наружной рекламой, средствами ее размещения, зелеными насаждениями, опорами наружного освещения и т.п.), другими знаками и (или) светофорами, иными элементами обустройства, обеспечивали удобство эксплуатации и уменьшали вероятность их повреждения.
4.4 Временные и стационарные знаки и светофоры, не предназначенные для действующей схемы организации движения, допускается закрывать чехлами, исключающими возможность прочтения изображения знаков, сигналов светофора.
Временную разметку наносят и демаркируют в соответствии с ГОСТ Р 58350.
4.5 Владельцы автомобильных дорог по разрешению подразделения Госавтоинспекции на федеральном уровне могут применять в экспериментальных целях технические средства организации дорожного движения, не предусмотренные действующими стандартами.
При этом владельцами автомобильных дорог предоставляется следующая информация:
- цели и задачи эксперимента;
- сроки и перечень мест проведения эксперимента;
- ожидаемый результат;
- методика оценки эффективности технических средств организации дорожного движения и их восприятия участниками дорожного движения;
- техническая документация на техническое решение (изделие).
Для информирования участников дорожного движения о назначении такого технического средства устанавливают транспаранты, разъясняющие смысл проводимого эксперимента.
5 Правила применения дорожных знаков
5.1 Общие требования
5.1.1 Номера, наименования и изображения дорожных знаков приведены в приложении Б.
5.1.2 Знаки, в том числе временные, устанавливаемые на дороге, должны соответствовать требованиям ГОСТ 32945 или ГОСТ Р 52290, размещаться на опорах по ГОСТ 32948 и в процессе эксплуатации отвечать требованиям ГОСТ 33220 и ГОСТ Р 50597.
Допускается размещать знаки на опорах освещения при соблюдении расстояний по 5.1.7.
5.1.3 Действие знаков распространяется на проезжую часть, тротуар, обочину, трамвайные пути, велосипедную, велопешеходную или пешеходную дорожки, у которых или над которыми они установлены.
5.1.4 Расстояние видимости знака должно быть не менее 100 м.
В населенных пунктах* при ограничении скорости 40 км/ч и менее допускается обеспечивать расстояние видимости знака не менее 50 м.
* - Здесь и далее под населенным пунктом понимается участок улично-дорожной сети, обозначенный знаками 5.23.1 или 5.23.2..
5.1.5 Знаки устанавливают справа от проезжей части или над нею, вне обочины (при ее наличии) так, чтобы их лицевая поверхность была обращена в сторону прямого направления движения, за исключением случаев, оговоренных настоящим стандартом.
Опоры дорожных знаков не должны мешать передвигаться лицам в инвалидных колясках.
5.1.6 На дорогах с двумя и более полосами движения в данном направлении знаки 1.1, 1.2, 1.20.1 - 1.20.3, 1.25, 2.4, 2.5, 3.24**, установленные справа от проезжей части, должны дублироваться. Знаки 3.20 и 3.22 дублируются на дорогах с одной полосой для движения в каждом направлении, знак 5.15.6 - на дорогах с тремя полосами для движения в обоих направлениях.
** - Здесь и далее указаны номера знаков по ГОСТ Р 52290-2004.
Дублирующие знаки устанавливают на конструктивно выделенной разделительной полосе. На дорогах с разделительной полосой, выделенной только разметкой 1.2, или без разделительной полосы дублирующие знаки устанавливают:
- слева от проезжей части в случаях, когда встречное движение осуществляется по одной или двум полосам;
- над проезжей частью в случаях, когда встречное движение осуществляется по трем или более полосам.
При необходимости допускается дублировать таким же образом и другие знаки.
На дорогах с тремя и более полосами для движения во встречном направлении допускается дублирование временных дорожных знаков на разделительной полосе, выделенной только разметкой 1.2, при ее отсутствии временные знаки дублируются слева от проезжей части.
В населенных пунктах на дорогах с двухсторонним движением с двумя и более полосами для движения в данном направлении***, а также на дорогах с односторонним движением с тремя и более полосами, и вне населенных пунктов на всех дорогах знак 5.19.1 дублируют над проезжей частью. Знак 5.19.1 над проезжей частью размещают не ближе оси крайней правой полосы движения относительно края проезжей части.
*** - Здесь и далее учитываются переходно-скоростные полосы, дополнительные полосы на подъеме, полосы для маршрутных транспортных средств и т. п.
5.1.7 Расстояние от края проезжей части (при наличии обочины — от бровки земляного полотна) до ближайшего к ней края знака, установленного сбоку от проезжей части, должно быть от 0,5 до 2,5 м (рисунки В.1а, б приложения В), до края знаков особых предписаний 5.23.1, 5.24.1, 5.25, 5.26 и информационных знаков 6.9.1,6.9.2, 6.10.1—6.12, 6.17 — от 0,5 до 5,0 м.
Расстояние от края проезжей части до ближайшего к ней края знака, установленного на конструктивно выделенной разделительной полосе шириной 6 м и более, должно быть не менее 2,0 м, шириной от 6 до 3 м — не менее 1,0 м.
5.1.8 Расстояние от нижнего края знака (без учета знаков 1.4.1—1.4.6, а в ненаселенных пунктах и табличек) до поверхности дорожного покрытия (высота установки), кроме случаев, специально оговоренных настоящим стандартом, должно быть:
- от 1,5 до 3,0 м — при установке сбоку от проезжей части вне населенных пунктов (рисунок В.1а), от 2,0 до 4,0 м — в населенных пунктах (рисунок В.16), от 3,0 до 4,0 м — на конструктивно выделенной разделительной полосе шириной менее 3 м;
- от 0,6 до 1,5 м — при установке на конструктивно выделенных направляющих островках или островках безопасности, а также на проезжей части или обочине на переносных опорах по ГОСТ Р 58350 или на переносных передвижных комплексах по ГОСТ 32758;
- от 5,0 до 6,0 м — при размещении над проезжей частью. Допускается увеличивать это расстояние с учетом требований 5.1.15. Знаки, размещенные на пролетных строениях искусственных сооружений, расположенных на высоте менее 5,0 м от поверхности дорожного покрытия, не должны выступать за их нижний край.
Высоту установки знаков, расположенных сбоку от проезжей части, определяют от поверхности дорожного покрытия на краю проезжей части.
Очередность размещения знаков разных групп на одной опоре (сверху вниз, слева направо), кроме случаев, оговоренных настоящим стандартом, должна быть следующей:
- знаки приоритета;
- предупреждающие знаки;
- предписывающие знаки;
- знаки особых предписаний;
- запрещающие знаки;
- информационные знаки;
- знаки сервиса.
На протяжении одной дороги высота установки знаков должна быть по возможности одинаковой.
5.1.9 Знаки устанавливают непосредственно перед перекрестком, пересечением проезжих частей, местом разворота, объектом сервиса и т. д., а при необходимости — на расстоянии не более 25 м в населенных пунктах и 50 м — вне населенных пунктов перед ними, кроме случаев, оговоренных настоящим стандартом.
Знаки, вводящие ограничения и режимы, устанавливают в начале участков, где это необходимо, а отменяющие ограничения и режимы — в конце, кроме случаев, оговоренных настоящим стандартом.
5.1.10 Установка знаков на обочинах, оградах, фасадах домов и объектов капитального строительства допустима в стесненных условиях (у обрывов, выступов скал, парапетов, в исторических частях городов и т. п.). При этом расстояние между краем проезжей части и ближайшим к ней краем знака должно быть не менее 1 м, а высота установки — от 2 до 3 м вне населенных пунктов (рисунок В. 1 в), от 2 до 4 м — в населенных пунктах.
5.1.11 Знаки, устанавливаемые на конструктивно выделенных разделительной полосе, островках безопасности и направляющих островках или обочине в случае отсутствия дорожных ограждений размещают на травмобезопасных опорах по ГОСТ 32948. Верхний обрез фундамента опоры знака выполняют в одном уровне с поверхностью разделительной полосы, островка безопасности и направляющего островка, обочины или присыпной бермы.
5.1.12 В местах проведения работ на дороге и при временных оперативных изменениях организации движения знаки на переносных опорах, переносных или передвижных комплексах допускается устанавливать на проезжей части, обочинах и разделительной полосе.
5.1.13 Расстояние между ближайшими краями соседних знаков, размещенных на одной опоре и распространяющих свое действие на одну и ту же проезжую часть, должно быть от 50 до 200 мм.
Знаки на одной опоре, распространяющие свое действие на разные проезжие части одного направления движения, располагают над соответствующими проезжими частями или максимально приближают к ним с учетом технических возможностей и требований настоящего стандарта.
5.1.14 В одном поперечном сечении дороги устанавливают не более трех знаков без учета знаков 5.15.2, дублирующих знаков, знаков дополнительной информации, а также знаков 1.34.1—1.34.3 в местах производства дорожных работ, вне населенных пунктов — не более двух временных знаков (без учета знаков дополнительной информации) и не более одного временного знака дополнительной информации.
Изображения знаков сервиса допускается размещать на одном щите прямоугольной формы с фоном синего цвета с учетом требований ГОСТ 32945 и ГОСТ Р 52290, при этом один щит с изображениями знаков сервиса принимают за один знак.
Знаки, кроме установленных на перекрестках, остановочных пунктах маршрутных транспортных средств, в местах устройства искусственных неровностей и производства дорожных работ, а также кроме знака 6.4, установленного совместно с табличками 8.6.1—8.6.9 и 8.17, располагают вне населенных пунктов на расстоянии не менее 50 м, в населенных пунктах — не менее 15 м друг от друга, с учетом обеспечения видимости.



5.1.15 Знаки устанавливают на расстоянии не менее 1 м от проводов воздушных линий электропередачи напряжением не более 1 кВ включительно, более 1 кВ — по согласованию с сетевой организацией. В пределах охранной зоны воздушных линий размещение знаков на тросах-растяжках запрещается.
5.1.16 Типоразмеры знаков по ГОСТ Р 52290 принимают по таблице 1, кроме случаев, оговоренных настоящим стандартом. Допускается по этой же таблице принимать типоразмеры знаков по ГОСТ 32945. При необходимости допускается применять знаки большего типоразмера.
На одной дороге предпочтительно применять знаки одного типоразмера, соответствующего одному из вышеуказанных стандартов.
Высоту прописной буквы на информационных знаках индивидуального проектирования выбирают в соответствии с таблицей 2.
Таблица 1 — Типоразмеры знаков
знака по ГОСТ Р 52290 | знака по ГОСТ 32945 | Применение знаков | |
вне населенных пунктов | в населенных пунктах | ||
I | 11) | Дороги с одной полосой | Улицы и дороги местного значения, парковые дороги, проезды, улицы и дороги сельских поселений |
II | 3 | Дороги с двумя и тремя полосами | Магистральные городские дороги (кроме скоростного движения), магистральные улицы |
III | 4 | Дороги с четырьмя и более полосами и автомагистрали | Магистральные городские дороги скоростного движения |
IV | 5 | Места производства работ на автомобильных дорогах IА и IБ технической категории, опасные участки на других дорогах при обосновании целесообразности применения | Места производства работ на магистральных городских дорогах скоростного движения |
1) Знаки типоразмера 1 по ГОСТ 32945 применяют в населенных пунктах на улицах и дорогах с одной полосой для движения в каждом направлении. Допускается применение знаков квадратной формы со стороной 500 мм. Примечание - Классификация дорог вне населенных пунктов - по СП 34.13330. Классификация улиц и дорог в населенных пунктах - по СП 42.13330. |
Таблица 2 — Высота прописной буквы на знаках индивидуального проектирования
Высота прописной буквы, мм | Знаки 5.23.1, 5.24.1, 5.25, 5.26, 6.9.1, 6.9.2, 6.10.1-6.12 | |
вне населенных пунктов | в населенных пунктах | |
75, 100 или 150 | Дороги с одной полосой | Улицы и дороги местного значения, парковые дороги, проезды, улицы и дороги сельских поселений |
150, 200 или 250 | - | Магистральные дороги (кроме скоростного движения), магистральные улицы |
200, 250 или 300 | Дороги с двумя и тремя полосами | Магистральные городские дороги скоростного движения |
300 или 400 | Дороги с четырьмя и более полосами | - |
400 или 500 | Автомагистрали | - |
Примечания 1 Классификация дорог вне населенных пунктов - по СП 34.13330. Классификация улиц и дорог в населенных пунктах - по СП 42.13330. 2 Высота прописной буквы на знаках 6.14.1 и 6.14.2 - 150 мм, на знаке 6.17 - 200 мм вне населенных пунктов, 100 мм - в населенных пунктах. |
5.1.17 Знаки, изготовленные с использованием пленки типа Б или В по ГОСТ Р 52290 применяют на дорогах (участках дорог) с числом полос четыре и более, на кривых в плане с радиусом менее допустимого, на пересечениях с железными дорогами в одном уровне, пересечениях и примыканиях дорог в одном уровне, участках дорог с расстояниями видимости в плане или профиле менее минимальных значений (таблица 4), на мостовых сооружениях с шириной проезжей части, равной или менее ширины проезжей части дороги, в местах проведения дорожных работ.
Знаки, изготовленные с использованием световозвращающей пленки типа В, следует применять:
- на дорогах (участках дорог) в населенных пунктах с числом полос шесть и более;
- автомагистралях;
- участках дорог с искусственным освещением вне населенных пунктов.
При установке над проезжей частью или сбоку от нее на высоте более 3 м предпочтительно применять знаки с использованием световозвращающей пленки типа В.
На участках одной дороги с одинаковым числом полос движения следует применять знаки, изготовленные с использованием световозвращающей пленки одного типа.
Не допускается применять дорожные знаки, изготовленные с использованием световозвращающей пленки типа А, на автомобильных дорогах федерального значения.
На щитах со световозвращающей флуоресцентной пленкой желто-зеленого цвета применяют знаки 1.1, 1.2, 1.22, 1.23, 5.19.1 и 5.19.2. Другие знаки (кроме знаков по 5.1.19 и знаков 2.1, 2.2, 2.4, 2.5) допускается применять на таких щитах в местах концентрации дорожно-транспортных происшествий (ДТП) и для профилактики их возникновения на опасных участках.
5.1.18 Фотометрические параметры ЗПИ выбирают в зависимости от классов по ГОСТ 32865 соответствии с таблицей 3.
Таблица 3 - Фотометрические параметры ЗПИ
Категория дороги | Фотометрический параметр | Яркость | Ширина светового пучка |
Автомагистрали, скоростные дороги и магистральные городские дороги |
L2 - L3, L3*, L2 (T) - L3 (T) |
В1-В3 |
Другие дороги и улицы | L1, L1 (Т) | В4-В7 |
Примечания 1 L3* - при особых условиях эксплуатации по ГОСТ 32865. 2 L1 (Т) - L3 (Т) - классы для тоннелей. В тоннелях используют значения яркости цветов ЗПИ, соответствующие освещенности не более 400 лк. |
5.1.19 Временные дорожные знаки 1.8, 1.15, 1.16, 1.18-1.21, 1.33, 2.6, 3.11-3.16, 3.18.1-3.25, 6.22 с желтым фоном, применяют в течение периода, вызвавшего необходимость временного изменения организации дорожного движения. При этом знаки 1.8, 1.15, 1.16, 1.18-1.21, 1.33, 2.6, 3.11-3.16, 3.18.1-3.25, выполненные на белом фоне, закрывают чехлами, исключающими возможность прочтения изображения знаков, или демонтируют.
5.2 Предупреждающие знаки
5.2.1 Предупреждающие знаки применяют для информирования водителей о характере опасности и приближении к опасному участку дороги, движение по которому требует принятия мер, соответствующих обстановке.
5.2.2 Предупреждающие знаки, кроме знаков 1.3.1-1.4.6, 1.34.1-1.34.3, устанавливают вне населенных пунктов на расстоянии от 150 до 300 м, а в населенных пунктах - на расстоянии от 50 до 100 м до начала опасного участка в зависимости от разрешенной максимальной скорости движения, условий видимости и возможности размещения.
Допускается устанавливать предупреждающие знаки на ином расстоянии, указываемом в этом случае на табличке 8.1.1.
5.2.3 Повторные предупреждающие знаки с табличкой 8.1.1, кроме знаков 1.4.1-1.4.6, допускается устанавливать между перекрестком и началом опасного участка в случаях, если расстояние между ними составляет от 20 до 150 м вне населенных пунктов и от 20 до 50 м - в населенных пунктах (рисунок В.2а). Повторные знаки 1.1, 1.2, 1.5, 1.9, 1.10, 1.23, 1.25 устанавливают обязательно.
Предупреждающий знак с табличкой 8.1.3 или 8.1.4 при расстоянии между перекрестком и началом опасного участка менее 20 м допускается устанавливать на пересекающей дороге на расстоянии от 50 до 60 м от перекрестка (рисунок В.2б), в этом случае знаки 1.1, 1.2, 1.5, 1.9, 1.10, 1.23, 1.25 устанавливают обязательно.
5.2.4 Знаки 1.1, 1.2, 1.9, 1.10, 1.21, 1.23, 1.25 устанавливают повторно вне населенных пунктов, а знаки 1.23, 1.25 - и в населенных пунктах. Повторный знак вне населенных пунктов устанавливают на расстоянии от 50 до 100 м до начала опасного участка, а в населенных пунктах - по 5.2.25 и 5.2.27.
5.2.5 Знаки 1.1 "Железнодорожный переезд со шлагбаумом" и 1.2 "Железнодорожный переезд без шлагбаума" устанавливают перед всеми железнодорожными переездами, соответственно оборудованными или не оборудованными шлагбаумами. Знаки дублируют на дорогах с двумя или более полосами для движения в одном направлении, а на дорогах с одной полосой, если расстояние видимости переезда вне населенных пунктов менее 300 м, а в населенных пунктах - менее 100 м.
При расстоянии между железнодорожными переездами 50 м и менее знаки устанавливают перед первым переездом, а при расстоянии более 50 м - перед каждым переездом.
5.2.6 Знаки 1.3.1 "Однопутная железная дорога" и 1.3.2 "Многопутная железная дорога" устанавливают перед всеми железнодорожными переездами соответственно через железную дорогу с одним или двумя и более путями. При наличии на переезде светофорной сигнализации знаки устанавливают на одной опоре со светофорами, а при ее отсутствии - на расстоянии от 6 до 10 м до ближнего рельса (рисунок В.18).
5.2.7 Знаки 1.4.1-1.4.6 "Приближение к железнодорожному переезду" устанавливают перед каждым железнодорожным переездом.
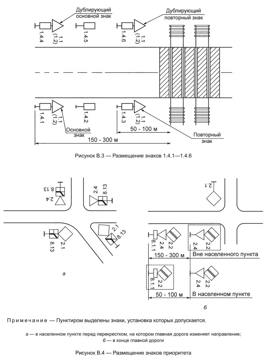
Знаки 1.4.1-1.4.3 устанавливают с правой стороны дороги, а знаки 1.4.4-1.4.6 - с левой. Знаки 1.4.1 и 1.4.4 устанавливают с первым (основным и дублирующим) по ходу движения знаком 1.1 или 1.2, знаки 1.4.3 и 1.4.6 - с повторным знаком 1.1 или 1.2, а знаки 1.4.2 и 1.4.5 - самостоятельно, на равном расстоянии между первым и повторным знаком 1.1 или 1.2 (рисунок В.3).
Знаки 1.4.1, 1.4.3, 1.4.4 и 1.4.6 размещают под знаком 1.1 или 1.2, знаки 1.4.2 и 1.4.5 - на высоте, равной высоте установки знаков 1.4.1, 1.4.3, 1.4.4 и 1.4.6.
5.2.8 Знак 1.5 "Пересечение с трамвайной линией" устанавливают перед пересечением дороги с трамвайными путями вне перекрестка, а также перед перекрестками (площадями), через которые проходят трамвайные пути, при расстоянии видимости путей менее 50 м.
5.2.9 Знак 1.6 "Пересечение равнозначных дорог" устанавливают перед перекрестками равнозначных дорог, на подъездах к которым расстояние видимости перекрестка вне населенных пунктов менее 150 м, а в населенных пунктах - менее 50 м.
Знак устанавливают перед перекрестком, на котором отменяют очередность проезда, установленную знаками приоритета.
5.2.10 Знак 1.7 "Пересечение с круговым движением" устанавливают перед перекрестками, обозначенными знаками 4.3, вне населенных пунктов - перед каждым перекрестком, в населенных пунктах - перед перекрестками, расстояние видимости которых менее 50 м, а также перед перекрестками, на которых отсутствует искусственное освещение.
5.2.11 Знак 1.8 "Светофорное регулирование" устанавливают вне населенных пунктов перед каждым перекрестком, пешеходным переходом или участком дороги, кроме железнодорожных переездов, движение на которых регулируется светофорами, в населенных пунктах - при расстоянии видимости светофора менее 100 м, а также перед первым после въезда в населенный пункт перекрестком или пешеходным переходом со светофорным регулированием.
5.2.12 Знак 1.9 "Разводной мост" устанавливают перед всеми разводными мостами и паромными переправами.
5.2.13 Знак 1.10 "Выезд на набережную" устанавливают перед участками дорог, выходящими на набережную или берег какого-либо водоема. Знак устанавливают независимо от наличия дорожного ограждения.
5.2.14 Знаки 1.11.1 и 1.11.2 "Опасный поворот" устанавливают перед кривыми в плане, на которых значение коэффициента безопасности* 0,6 и менее, а также перед кривыми в плане, на которых расстояние видимости встречного автомобиля при скорости, характерной для предшествующего кривой участка дороги, менее минимального расстояния видимости, обеспечивающего безопасность движения (таблица 4).
* - Отношение скоростей проезда опасного и предшествующего участков.
Таблица 4 - Минимальное расстояние видимости, обеспечивающее безопасность движения при данной скорости
Скорость движения, км/ч | 30 | 40 | 50 | 60 | 70 | 80 | 90 | 100 | 110 | 120 | 130 |
Минимальное расстояние видимости, м: | |||||||||||
- встречного автомобиля | 90 | 110 | 130 | 170 | 200 | 250 | 300 | 350 | 400 | 450 | Не нормируется |
- для остановки перед препятствием | 45 | 55 | 75 | 85 | 125 | 150 | 175 | 200 | 225 | 250 | 300 |
Примечания 1 Для строящихся дорог принимают скорость, соответствующую 70% расчетной скорости, а для эксплуатируемых дорог - скорость, которую на данном участке не превышают 85% транспортных средств. 2 Расстоянием видимости встречного автомобиля следует считать расстояние, на котором с высоты 1,2 м (уровень глаз водителя легкового автомобиля) можно увидеть предмет, находящийся на высоте 1,2 м над уровнем проезжей части. 3 Расстоянием видимости для остановки следует считать расстояние, которое с высоты 1,2 м (уровень глаз водителя легкового автомобиля) обеспечивает видимость любых предметов высотой не менее 0,2 м, находящихся на середине полосы движения. |
5.2.15 Знаки 1.12.1 и 1.12.2 "Опасные повороты" устанавливают перед двумя и более следующими друг за другом кривыми в плане, если расстояние между ними менее 300 м и если перед первой из них согласно 5.2.14 должен быть установлен соответственно знак 1.11.1 или 1.11.2.
Расстояние между соседними кривыми в плане определяют между концом и началом следующих друг за другом кривых, включая переходные кривые.
Знаки 1.12.1 и 1.12.2 с табличкой 8.2.1 устанавливают при трех и более следующих друг за другом кривых в плане.
5.2.16 Знаки 1.13 "Крутой спуск" и 1.14 "Крутой подъем" устанавливают:
- если длина участка дороги на спуске или подъеме более указанной в таблице 5 при соответствующей величине уклона;
- если на вертикальных выпуклых кривых расстояние видимости встречного автомобиля менее указанных в таблице 4 при скорости, характерной для предшествующего кривой участка дороги.
Таблица 5 - Минимальная длина участка дороги на уклоне при установке знаков 1.13 и 1.14 в зависимости от величины уклона
Уклон, ‰ (%) | Длина участка дороги на уклоне, м |
40 (4) | 600 |
50 (5) | 450 |
60 (6) | 350 |
70 (7) | 300 |
80 (8) и более | 270 |
В случае, если спуски и подъемы следуют друг за другом, знаки (без таблички 8.1.1) допускается устанавливать непосредственно перед началом спуска или подъема.
5.2.17 Знак 1.15 "Скользкая дорога" устанавливают перед участками дорог, на которых коэффициент сцепления шины с покрытием, измеренный в соответствии с ГОСТ 33078, менее 0,3, а также перед участками дорог с уплотненным снежным покровом.
5.2.18 Знак 1.16 "Неровная дорога" устанавливают перед участками дорог, имеющими повреждения покрытия (выбоины, неплавное сопряжение подходов с мостовыми сооружениями, волнистость и т.п.), затрудняющие движение транспортных средств с разрешенной скоростью по [1], а также в случаях превышения показателя ровности покрытия по ГОСТ 33220и ГОСТ Р 50597.
5.2.19 Знак 1.17 "Искусственная неровность" устанавливают перед искусственной неровностью по ГОСТ Р 52605.
В случаях, если расстояние между последовательно расположенными неровностями составляет не более 100 м, знак устанавливают перед первой искусственной неровностью с табличкой 8.2.1.
5.2.20 Знак 1.18 "Выброс гравия" устанавливают перед участками дорог, на которых возможен выброс гравия, щебня и т.п. из-под колес транспортных средств.
5.2.21 Знак 1.19 "Опасная обочина" устанавливают перед участками дорог, на которых состояние обочин не соответствует ГОСТ 33220 или ГОСТ Р 50597.
5.2.22 Знаки 1.20.1-1.20.3 "Сужение дороги" устанавливают вне населенных пунктов перед участками дорог, на которых ширина проезжей части уменьшается более чем на 0,5 м, а в населенных пунктах - на одну полосу или более. Вне населенных пунктов знак устанавливают также перед мостовыми сооружениями и тоннелями, если ширина проезжей части в пределах искусственного сооружения равна или менее, чем на подходах к нему, а в населенных пунктах - менее, чем на подходах к нему.
Знак 1.20.2 не устанавливают в местах окончания полосы разгона и дополнительной полосы на подъеме.
Знаки 1.20.1-1.20.3 дублируют в соответствии с 5.1.6.
5.2.23 Знак 1.21 "Двустороннее движение" устанавливают перед участками дороги (проезжей части) с двусторонним движением, если им предшествует участок с односторонним движением. Знак устанавливают независимо от применения знака 5.6. Допускается не устанавливать знак перед участками дорог с односторонним движением протяженностью менее 100 м.
Знак не устанавливают, если дорога, обозначенная знаком 5.5, заканчивается на Т-образном перекрестке, перекрестке с круговым движением или на площади.
5.2.24 Знак 1.22 "Пешеходный переход" устанавливают вне населенных пунктов перед всеми нерегулируемыми наземными пешеходными переходами, а в населенных пунктах - перед первым нерегулируемым наземным пешеходным переходом и перед переходами, расстояние видимости которых менее 150 м.
Знак допускается не устанавливать перед переходами, расположенными на перекрестках при расстоянии видимости их более 150 м.
5.2.25 Знак 1.23 "Дети" устанавливают перед участками дорог, проходящими вдоль территорий детских учреждений* или часто пересекаемыми детьми независимо от наличия пешеходных переходов.
* - Здесь и далее под детскими учреждениями понимают объекты социальной инфраструктуры для детей: здания, строения, сооружения, необходимые для жизнеобеспечения детей, а также организации, деятельность которых осуществляется в целях обеспечения полноценной жизни, охраны здоровья, образования, отдыха и оздоровления, развития детей, удовлетворения их общественных потребностей.
Повторный знак устанавливают с табличкой 8.2.1, на которой указывают протяженность участка дороги, проходящего вдоль территории детского учреждения или часто пересекаемого детьми.
В населенных пунктах повторный знак 1.23 устанавливают на расстоянии от 20 до 30 м от опасного участка.
5.2.26 Знак 1.24 "Пересечение с велосипедной дорожкой или велопешеходной дорожкой" устанавливают перед расположенными вне перекрестков пересечениями с велосипедными или велопешеходными дорожками, обозначенными знаками 4.4.1, 4.5.2, 4.5.4, 4.5.5, а также в местах окончания велосипедной дорожки, где велосипедисты выезжают на проезжую часть.
5.2.27 Знак 1.25 "Дорожные работы" устанавливают перед участком дороги, в пределах которого проводят любые виды работ.
Если работы осуществляются на тротуаре или велосипедной дорожке, то знак устанавливают в случае, когда пешеходы или велосипедисты вынуждены использовать для движения проезжую часть.
Знак 1.25 дублируют в соответствии с 5.1.6.
Повторный знак 1.25 в населенных пунктах, а также вне населенных пунктов, в стесненных условиях, устанавливают непосредственно у начала участка проведения работ, при этом за начало участка следует принимать первое по ходу движения направляющее или ограждающее устройство или временную дорожную разметку, отклоняющую транспортный поток перед опасным участком.
При проведении краткосрочных работ по ГОСТ 32757 на дорогах с ограничением скоростного режима 40 км/ч и менее допускается установка одного знака без таблички 8.1.1 на переносной опоре на расстоянии от 10 до 15 м от места проведения работ, при этом допускается использовать знак уменьшенного размера по ГОСТ Р 52290.
Если перед участком дороги, на котором проводят работы, применяют и другие временные знаки, знак 1.25 устанавливают первым по ходу движения, кроме случаев применения вне населенных пунктов знака 6.19.1.
5.2.28 Знак 1.26 "Перегон скота" устанавливают перед участками дорог, проходящими вдоль скотных дворов, ферм и т.п., а также перед местами постоянного перегона скота через дорогу.
5.2.29 Знак 1.27 "Дикие животные" устанавливают перед участками дорог, проходящими по территории заповедников, охотничьих хозяйств, лесных массивов, и другими участками дорог, если на них возможно появление диких животных, и применяют с табличкой 8.2.1.
5.2.30 Знак 1.28 "Падение камней" устанавливают перед участками дорог, проезжая часть которых не защищена от возможных обвалов, оползней, снежных лавин и камнепадов, и применяют с табличкой 8.2.1.
5.2.31 Знак 1.29 "Боковой ветер" устанавливают перед участками дорог, проходящими по горным перевалам, высоким насыпям, мостам, путепроводам, вдоль ущелий и рек и т.п., на которых возможен сильный боковой ветер.
5.2.32 Знак 1.30 "Низколетящие самолеты" устанавливают перед проходящими вблизи аэродромов участками дорог, над которыми самолеты или вертолеты пролетают на небольшой высоте.
5.2.33 Знак 1.31 "Тоннель" устанавливают перед тоннелями, в которых отсутствует искусственное освещение, а также перед тоннелями, въездные порталы которых из-за рельефа местности видны с расстояния менее 150 м с высоты 1,2 м* над уровнем проезжей части.
* - Уровень глаз водителя легкового автомобиля.
Знак 1.31 устанавливают перед тоннелями, при въезде в которые не видны их выездные порталы, при этом непосредственно перед тоннелями устанавливают повторный знак с табличкой 8.2.1.
5.2.34 Знак 1.32 Затор" применяют в период возникновения затора по ГОСТ Р 55691 на участке дороги или размещают на ЗПИ и устанавливают перед перекрестком, откуда возможен объезд участка дороги, на котором образовался затор.
5.2.35 Знак 1.33 Прочие опасности" устанавливают перед опасными участками дорог, вид опасности на которых не предусмотрен предупреждающими знаками по ГОСТ Р 52290.
5.2.36 Знаки 1.34.1 и 1.34.2 Направление поворота" устанавливают на участках дорог с кривыми в плане радиусами 600 м и менее. Знаки устанавливают с внешней стороны кривой на продолжении оси полосы (полос), по которой осуществляется движение к повороту.
На перекрестке с круговым движением знак 1.34.1 устанавливают на центральном островке, напротив соответствующего въезда.
Знаки с двумя стрелами допускается устанавливать в стесненных условиях.
Знаки с одной стрелой устанавливают на протяжении одной кривой, число их должно быть не менее четырех, а расстояние между ними - не более 20 м.
Знаки устанавливают на высоте от 1,5 до 2,0 м.
5.2.37 Знак 1.34.3 Направление поворота" устанавливают на Т-образных перекрестках и разветвлениях дорог, если имеется опасность их проезда в прямом направлении.
На Т-образных перекрестках знак устанавливают напротив дороги, не имеющей продолжения, на разветвлениях дорог - непосредственно за местом, где разветвляются проезжие части дорог.
Знак с двумя стрелами допускается устанавливать в стесненных условиях.
Знак устанавливают на высоте от 1,5 до 2,0 м.
5.2.38 Знаки 1.34.1-1.34.3 допускается применять в местах производства работ для дополнительного указания направления объезда огороженного участка. Знаки в этом случае допускается размещать на инвентарных ограждениях по ГОСТ 23407.
Знаки типоразмера II высотой 460 мм допускается устанавливать при наличии искусственного освещения.
5.2.39 Знак 1.35 "Участок перекрестка" устанавливают перед перекрестком, на котором нанесена разметка 1.26.
5.3 Знаки приоритета
5.3.1 Знаки приоритета применяют для указания очередности проезда перекрестков, пересечений отдельных проезжих частей, а также узких участков дорог.
5.3.2 Знак 2.1 "Главная дорога" устанавливают в начале участка дороги с преимущественным правом проезда нерегулируемых перекрестков.
В населенных пунктах знак устанавливают перед каждым перекрестком на главной дороге. Перед нерегулируемыми перекрестками, на которых главная дорога проходит в прямом направлении, а пересекающая дорога имеет не более четырех полос, допускается устанавливать знак уменьшенного размера по ГОСТ Р 52290.
Знак 2.1 с табличкой 8.13 устанавливают перед перекрестками, на которых главная дорога изменяет направление, а также перед перекрестками со сложной планировкой. В населенных пунктах знак 2.1 с табличкой 8.13 устанавливают перед перекрестком, а вне населенных пунктов - предварительно на расстоянии от 150 до 300 м до перекрестка и перед перекрестком (рисунок В.4а).
На пересечениях дорог с несколькими проезжими частями знак устанавливают перед пересечениями проезжих частей, на которых возможно неоднозначное определение главенства дорог.
5.3.3 Знак 2.2 "Конец главной дороги" устанавливают в конце участка дороги, где она утрачивает статус главной.
Если дорога, обозначенная знаком 2.1, оканчивается перед пересечением с дорогой, по которой предоставлено преимущественное право проезда данного перекрестка, то знак 2.2 вне населенных пунктов размещают на одной опоре со знаком 2.4, установленным предварительно с табличкой 8.1.1 или 8.1.2, в населенных пунктах - за 25 м от перекрестка либо со знаком 2.4 или 2.5. Вне населенных пунктов знак 2.2 допускается устанавливать повторно со знаком 2.4 или 2.5, а в населенных пунктах - предварительно с табличкой 8.1.1 на расстоянии от 50 до 100 м до основного знака (рисунок В.4б).
5.3.4 Знаки 2.3.1 "Пересечение с второстепенной дорогой", 2.3.2-2.3.7 Примыкание второстепенной дороги" устанавливают вне населенных пунктов перед всеми перекрестками на дорогах, обозначенными знаком 2.1. Знаки не устанавливают перед перекрестками со сложной планировкой и перед перекрестками, на которых главная дорога изменяет направление. Знаки 2.3.4-2.3.7 должны быть установлены, если угол между осями главной и второстепенной дорог составляет менее 60°. Знаки 2.3.1-2.3.7 устанавливают на расстоянии от 150 до 300 м до перекрестка.
Допускается знаки 2.3.1-2.3.7 устанавливать на дорогах по СП 34.13330, проходящих через населенные пункты, в этом случае знаки устанавливают на расстоянии от 50 до 100 м до перекрестка.
При необходимости допускается устанавливать знаки 2.3.1-2.3.7 на ином расстоянии, указываемом в этом случае на табличке 8.1.1.
5.3.5 Знаки 2.3.1-2.3.7 совместно со знаками 2.4 или 2.5 допускается применять для обозначения отдельных перекрестков вне населенных пунктов, на которых необходимо установить очередность проезда, отличную от очередности проезда перекрестка равнозначных дорог.
Допускается не устанавливать знаки 2.1, 2.3.1-2.3.7 перед съездами пересечений дорог в разных уровнях, а также перед примыканиями к дороге с твердым покрытием дорог с грунтовым покрытием, перед примыканиями к дороге выездов с прилегающих территорий, если все перечисленные признаки примыкающих дорог могут однозначно распознаваться водителями транспортных средств, следующих по главной дороге в любое время суток.
5.3.6 Знак 2.4 "Уступите дорогу" применяют для указания того, что водитель должен уступить дорогу транспортным средствам, движущимся по пересекаемой дороге, а при наличии таблички 8.13 - транспортным средствам, движущимся по главной дороге.
Знак устанавливают непосредственно перед выездом на дорогу предпочтительно в начале кривой сопряжения, по которой знаками 2.1 или 2.3.1-2.3.7 предоставлено преимущественное право проезда данного перекрестка, а также перед выездами на автомагистраль.
Перед перекрестками со сложной планировкой и перед перекрестками, на которых главная дорога изменяет направление, знак устанавливают с табличкой 8.13.
Знак устанавливают перед выездами с грунтовых дорог на дорогу с твердым покрытием, а также в местах выезда на дорогу с прилегающих территорий, если признаки примыкающих дорог могут неоднозначно распознаваться водителями транспортных средств, выезжающих на главную дорогу в любое время суток. Знак 2.4 в этом случае может быть установлен при отсутствии знаков 2.1 или 2.3.1-2.3.7 на главной дороге по 5.3.5.
Знак 2.4 устанавливают предварительно с табличкой 8.1.1 на дорогах вне населенных пунктов, за исключением грунтовых дорог, на расстоянии от 150 до 300 м до перекрестка, если перед перекрестком установлен знак 2.4, или с табличкой 8.1.2, если перед перекрестком установлен знак 2.5.
При наличии полосы разгона в местах выезда на дорогу с преимущественным правом проезда перекрестков знак устанавливают перед началом этой полосы.
5.3.7 Знак 2.5 "Движение без остановки запрещено" применяют для указания водителю остановиться и уступить дорогу транспортным средствам, движущимся по пересекаемой дороге, а при наличии таблички 8.13 - транспортным средствам, движущимся по главной дороге.
Знак 2.5 устанавливают вместо знака 2.4, если не обеспечено расстояние видимости транспортных средств, движущихся по пересекаемой дороге в пределах треугольников видимости по СП 42.13330.
Знак устанавливают перед нерегулируемыми железнодорожными переездами (без дежурного, не оборудованными светофорами) совместно со знаком 6.16, на расстоянии 10 м до ближнего рельса в случаях, если на удалении 50 м от ближайшего рельса расстояние видимости поезда менее значения, указанного в таблице 6.
Временный знак 2.5 допускается устанавливать перед переездами при проведении работ на переезде.
При установке знака 2.5 перед железнодорожным переездом предварительный знак 2.4 с табличкой 8.1.2 не устанавливают.
Таблица 6 - Минимальное расстояние видимости поезда из транспортного средства, обеспечивающее безопасность движения
Скорость движения поезда, км/ч | 121-140 | 81-120 | 41-80 | 26-40 | 25 и менее |
Расстояние видимости, м, не менее | 500 | 400 | 250 | 150 | 100 |
Примечания 1 Знак За скорость движения принимают максимальную скорость поезда, установленную на подходах к переезду. 2 При проектировании вновь строящихся и реконструируемых дорог на переездах водителю автомобиля, находящемуся на расстоянии для остановки перед переездом не менее указанного в таблице 4, должна быть обеспечена видимость приближающегося к переезду поезда, который находится на расстоянии не менее 400 м от переезда. |
5.3.8 На регулируемых перекрестках знаки 2.1, 2.2, 2.4, 2.5 следует размещать предпочтительно на опоре основного светофора.
Знаки 2.4 и 2.5 следует дублировать в соответствии с 5.1.6.
5.3.9 Знаки 2.6 "Преимущество встречного движения" и 2.7 "Преимущество перед встречным движением" применяют для организации движения в местах, где невозможен или опасен встречный разъезд транспортных средств (узкие участки дорог, мостовые сооружения, тоннели и т.п.), при интенсивности движения, обеспечивающей саморегулирование встречного разъезда, и видимости всего участка и противоположного въезда на него с каждого конца узкого участка дороги.
Знаки устанавливают перед мостовыми сооружениями, по которым осуществляется двустороннее движение при ширине проезжей части менее 6 м.
На участках дорог с продольным уклоном, обозначенных знаками 1.13 и 1.14, преимущество предоставляется транспортным средствам, которые движутся на подъем.
Знаки устанавливают непосредственно перед узким участком дороги с его противоположных концов, при этом знак 2.6 с табличкой 8.1.1 размещают и предварительно на одной опоре с одним из знаков 1.20.1-1.20.3.
5.4 Запрещающие знаки
5.4.1 Запрещающие знаки применяют для введения ограничений движения или их отмены и устанавливают по 5.1.9.
5.4.2 Знак 3.1 "Въезд запрещен"* устанавливают:
- на участках дорог или проезжих частей с односторонним движением для запрещения движения транспортных средств во встречном направлении, в том числе после всех боковых выездов. Допускается не устанавливать знак у выездов с прилегающих территорий, въезд на которые осуществляется только с данных участков с односторонним движением;
- на дорогах с несколькими проезжими частями, отделенными друг от друга бульваром или разделительной полосой, знак устанавливают для каждой проезжей части с односторонним движением;
- на дорогах, обозначенных знаком 5.11.1 и 5.11.2, для предотвращения въезда транспортных средств навстречу общему потоку, а с табличкой 8.14 - на полосу, выделенную для маршрутных транспортных средств (для предотвращения выезда транспортных средств, движение которых разрешено по [1]) или велосипедистов;
- для организации раздельных въезда и выезда на площадках для стоянки транспортных средств, площадках отдыха, автозаправочных станциях и т.п.;
- для запрещения въезда на отдельную полосу движения или отдельный участок дороги, в том числе трамвайные пути.
* - Здесь и далее действие запрещающих знаков - по [1].
Знак, запрещающий въезд на отдельную полосу или трамвайные пути, устанавливают с табличкой 8.14. Знак, запрещающий въезд на отдельный участок дороги грузовых автомобилей, в том числе и с прицепом, с разрешенной максимальной массой более 3,5 т, применяется с табличкой 8.4.1.
Знак на однополосных съездах пересечений в разных уровнях, по которым осуществляется одностороннее движение, допускается располагать слева.
Если основной знак устанавливают на участке дороги между перекрестками, в начале участка размещают предварительный знак 3.1 с табличкой 8.1.1.
С другими табличками знак 3.1 применять не допускается.
5.4.3 Знак 3.2 "Движение запрещено"* применяют для запрещения движения всех транспортных средств на отдельных участках дорог.
5.4.4 Знак 3.3 "Движение механических транспортных средств запрещено"* применяют для запрещения движения всех механических транспортных средств.
5.4.5 Знак 3.4 "Движение грузовых автомобилей запрещено"* применяют для запрещения движения грузовых автомобилей и составов транспортных средств с разрешенной максимальной массой более 3,5 т (если на знаке не указана масса) или с разрешенной максимальной массой более указанной на знаке, а также тракторов и самоходных машин.
Знак 3.4 не запрещает движение грузовых автомобилей, предназначенных для перевозки людей, транспортных средств организаций федеральной почтовой связи, имеющих на боковой поверхности белую диагональную полосу на синем фоне, а также грузовых автомобилей без прицепа с разрешенной максимальной массой не более 26 тонн, которые обслуживают предприятия, находящиеся в обозначенной зоне. Такие транспортные средства должны въезжать в обозначенную зону и выезжать из нее на ближайшем к месту назначения перекрестке.
5.4.6 Знак 3.5 "Движение мотоциклов запрещено"* применяют для запрещения движения мотоциклов, знак 3.6 "Движение тракторов запрещено"* - для запрещения движения тракторов и самоходных машин, знак 3.7 "Движение с прицепом запрещено"* - для запрещения движения грузовых автомобилей и тракторов с прицепами или полуприцепами любого типа, а также всякой буксировки механических транспортных средств, знак 3.8 "Движение гужевых повозок запрещено"* - для запрещения движения гужевых повозок (саней), животных под седлом или вьюком, а также прогона скота, знак 3.9 "Движение на велосипедах и мопедах запрещено"* - для запрещения движения на велосипедах и мопедах, знак 3.34 "Движение автобусов запрещено"* - для запрещения движения автобусов.
5.4.7 Знак 3.10 Движение пешеходов запрещено" устанавливают в местах, где движение пешеходов недопустимо по условиям их безопасности (искусственные сооружения, не имеющие тротуаров, ремонтируемые участки дорог и т.п.). Знак устанавливают на той стороне дороги, на которой вводят запрещение.
Знак применяют для запрещения перехода на регулируемых перекрестках, где какие-либо направления движения пешеходов запрещены. Знак устанавливают на краю тротуара лицевой стороной к пешеходам, движение которых следует запретить.
5.4.8 Знак 3.11 Ограничение массы" применяют для запрещения движения транспортных средств, в том числе составов транспортных средств, общая фактическая масса которых более указанной на знаке.
Значение допустимой массы, указываемой на знаке, установленном перед мостовым сооружением (мосты, путепроводы и т.п.), определяют с учетом грузоподъемности сооружения по результатам специальных обследований и испытаний.
Значение допустимой массы на знаке, установленном перед ледовой переправой, определяют с учетом несущей способности льда по результатам обследований и испытаний.
5.4.9 Знак 3.12 Ограничение массы, приходящейся на ось транспортного средства" применяют для запрещения движения транспортных средств, у которых фактическая масса, приходящаяся на любую ось, более указанной на знаке.
Знак 3.12 с табличкой 8.20.1 или 8.20.2 применяют для запрещения движения транспортных средств, у которых фактическая масса, приходящаяся на любую из осей тележки, более указанной на знаке.
Значение допустимой массы, указываемой на знаке, определяют по фактической несущей способности дорожной одежды и элементов мостового сооружения в данный период времени по результатам обследований.
5.4.10 Знак 3.13 Ограничение высоты" применяют для запрещения движения транспортных средств, габаритная высота которых (с грузом или без груза) более указанной на знаке.
Знак устанавливают в случаях, если расстояние от поверхности дорожного покрытия до низа пролетного строения искусственного сооружения, инженерных коммуникаций и т.п. менее 5 м.
Вне населенных пунктов высота, указываемая на знаке, должна быть менее фактической на 1,0 м для дорог категорий I-III, а для дорог категорий IV и V - не менее 0,5 м.
В населенных пунктах высота, указываемая на знаке, должна быть менее фактической на высоту от 0,2 до 0,4 м для инженерных коммуникаций, от 0,3 до 0,4 м - для путепроводов, по которым проходят автомобильная или железная дороги.
Разницу между фактической и указываемой высотой допускается увеличивать в зависимости от ровности дорожного покрытия.
Повторный знак 3.13 допускается устанавливать на пролете искусственного сооружения, а при наличии перед ним габаритных ворот - на воротах.
5.4.11 Знак 3.14 Ограничение ширины" применяют для запрещения движения транспортных средств, габаритная ширина которых (с грузом или без груза) более указанной на знаке.
Знак устанавливают перед проездом, если его ширина в тоннеле, между опорами мостового сооружения и т.п. менее 3,5 м.
Ширина, указываемая на знаке, должна быть менее фактической на 0,2 м.
Повторный знак 3.14 допускается устанавливать на пролете или опоре искусственного сооружения.
5.4.12 Знак 3.15 Ограничение длины" применяют для запрещения движения транспортных средств (составов транспортных средств), габаритная длина которых (с грузом или без груза) более указанной на знаке, на участках дорог с узкой проезжей частью, тесной застройкой, крутыми поворотами и т.п., где их движение или разъезд со встречными транспортными средствами затруднены.
5.4.13 Предварительные знаки 3.11-3.15 с табличками 8.1.1, 8.1.3 и 8.1.4 устанавливают перед перекрестком, откуда возможен объезд участка дороги, на котором основными знаками 3.11-3.15 введены соответствующие ограничения.
Допускается предварительные знаки 3.11-3.15 с табличкой 8.1.1 устанавливать за перекрестком в начале участка дороги, на котором основными знаками 3.11-3.15 введены соответствующие ограничения, если на этом участке дороги имеется возможность транспортным средствам, на которые введены ограничения, изменить маршрут движения.
5.4.14 Знак 3.16 Ограничение минимальной дистанции"* применяют для запрещения движения транспортных средств с дистанцией между ними менее указанной на знаке (на мостовых сооружениях с пролетами ограниченной грузоподъемности, на ледовых переправах, в тоннелях и т.п.).
5.4.15 Знак 3.17.1 Таможня" применяют для запрещения проезда без остановки на контрольно-пропускном пункте таможни.
Предварительный знак 3.17.1 с табличкой 8.1.1 устанавливают на расстоянии 500 м до контрольно-пропускного пункта.
5.4.16 Знак 3.17.2 Опасность" применяют для запрещения движения всех транспортных средств на участке дороги, где произошли дорожно-транспортное происшествие, авария или имеется другая опасность для движения, которые требуют временных оперативных изменений организации движения.
5.4.17 Знак 3.17.3 Контроль" применяют для запрещения проезда без остановки на контрольном пункте (на посту полиции, карантинном посту, на въезде в пограничную зону, закрытую территорию, на пункте взимания платы за проезд по платным дорогам и т.п.).
Знак допускается устанавливать совместно со знаком 6.16.
5.4.18 Знаки 3.18.1 Поворот направо запрещен"* и 3.18.2 "Поворот налево запрещен"* применяют для запрещения поворота на ближайшем пересечении проезжих частей в случаях, когда необходимый порядок движения невозможно обеспечить с помощью знаков 4.1.1-4.1.6 или 5.15.1, 5.15.2.
5.4.19 Знак 3.19 "Разворот запрещен"* устанавливают перед перекрестком, где этот маневр создает опасность для движения других транспортных средств или пешеходов.
Знак не применяют для запрещения разворотов в разрывах разделительных полос на участках дорог между перекрестками.
5.4.20 На дорогах с двумя и более полосами для движения в данном направлении основные знаки 3.18.2 и 3.19 устанавливают над левой полосой, на дорогах с конструктивно выделенной разделительной полосой - на разделительной полосе. На дорогах без разделительной полосы при числе полос для встречного движения не более двух допускается устанавливать дублирующий знак на левой стороне дороги.
5.4.21 Знак 3.20 "Обгон запрещен"* применяют для запрещения обгона всех транспортных средств, кроме тихоходных транспортных средств, гужевых повозок, велосипедов, мопедов и двухколесных мотоциклов без бокового прицепа, а знак 3.22 "Обгон грузовым автомобилям запрещен"* - для запрещения обгона грузовым автомобилям с разрешенной максимальной массой более 3,5 т всех транспортных средств.
Знаки 3.20 и 3.22 допускается устанавливать с одной из табличек 8.5.4-8.5.7 на дорогах с тремя и менее полосами движения в обоих направлениях в случаях повышенной опасности столкновения с встречными и попутными транспортными средствами, в зависимости от интенсивности движения, ширины и состояния проезжей части.
Знак 3.20 устанавливают на участках дорог с необеспеченной видимостью встречного автомобиля (таблица 4), зона действия знака в этом случае определяется протяженностью опасного участка.
Знаки 3.20 и 3.22 следует дублировать по 5.1.6.
5.4.22 Знак 3.24 "Ограничение максимальной скорости"* применяют для запрещения движения всех транспортных средств со скоростью выше указанной на знаке при необходимости введения на участке дороги иной максимальной скорости, чем на предшествующем участке.
При ограничении скорости движения на опасных участках дороги (крутые повороты, отсутствие тротуаров, предусмотренных ГОСТ Р 52766, необеспеченная видимость встречного автомобиля, сужение дороги и т.п., место концентрации ДТП) зона действия знака должна соответствовать протяженности опасного участка.
Если на данном участке устанавливают максимальную скорость, отличающуюся от максимальной скорости движения на предшествующем участке на 20 км/ч и более, применяют ступенчатое ограничение скорости с шагом не более 20 км/ч путем последовательной установки знаков 3.24 на расстоянии вне населенных пунктов от 100 до 150 м, а в населенных пунктах - от 50 до 100 м друг от друга.
Перед местами производства работ допускается ступенчатое ограничение скорости по ГОСТ Р 58350.
Ступенчатое ограничение скорости допускается не применять (за исключением дорог на которых разрешенная скорость движения 110 км/ч и более) перед населенным пунктом, обозначенным знаком 5.23.1 или 5.23.2, в случае, если расстояние видимости знака более 150 м.
Знак 3.24 с табличкой 8.2.1 у искусственной неровности устанавливают совместно со знаком 5.20 на одной опоре (рисунок В.21). Значение скорости, указываемое на знаке, должно соответствовать конструкции неровности.
Знак 3.24 следует дублировать в соответствии с 5.1.6.
5.4.23 Знаки 3.21 "Конец запрещения обгона", 3.23 "Конец запрещения обгона грузовым автомобилям" и 3.25 "Конец ограничения максимальной скорости" применяют для обозначения конца участка дороги, на котором вводились ограничения движения соответственно знаками 3.20, 3.22 и 3.24, если нет необходимости распространять их действие до ближайшего по ходу движения перекрестка или до конца населенного пункта, а для знака 3.24 - и до начала населенного пункта, обозначенного знаками 5.23.1 или 5.23.2. На дорогах с одной, двумя или тремя полосами для движения в обоих направлениях знаки 3.21, 3.23, 3.25 допускается устанавливать только с левой стороны дороги, размещая их на оборотной стороне знаков 3.20, 3.22, 3.24 соответственно, предназначенных для водителей транспортных средств, движущихся во встречном направлении.
5.4.24 Знак 3.26 "Подача звукового сигнала запрещена"* применяют для запрещения звукового сигнала, кроме случаев подачи сигнала для предотвращения дорожно-транспортного происшествия, вне населенных пунктов, обозначенных знаками 5.23.1, 5.23.2, на участках дорог, проходящих в непосредственной близости от санаториев, домов отдыха, оздоровительных лагерей, больниц и т.п.
5.4.25 Знак 3.27 "Остановка запрещена"* применяют для запрещения остановки и стоянки транспортных средств.
Знаки 3.28 "Стоянка запрещена"*, 3.29 "Стоянка запрещена по нечетным числам месяца"* и 3.30 "Стоянка запрещена по четным числам месяца"* применяют для запрещения стоянки.
Знаки 3.27-3.30 устанавливают на той стороне дороги, на которой вводится запрещение.
В местах пересечения воздушных линий электропередачи напряжением 330 кВ и выше с автомобильными дорогами знак 3.27 устанавливают на границах охранных зон.
При одновременном применении знаков 3.29, 3.30 на противоположных сторонах проезжей части с 21 до 24 ч (время перестановки) разрешается стоянка на обеих сторонах проезжей части.
Для запрещения остановки или стоянки вдоль одной из сторон площади, фасада здания и т.п. знаки 3.27-3.30 с одной из табличек 8.2.5, 8.2.6 или с обеими табличками одновременно допускается устанавливать напротив въезда на площадь, подъезда к зданию и т.п. лицевой стороной к водителям транспортных средств.
В населенных пунктах повторные знаки 3.27-3.30 уменьшенного размера по ГОСТ Р 52290(без табличек 8.2.2-8.2.4) для подтверждения введенных ранее ограничений допускается устанавливать за выездами с прилегающих территорий, признаки которых могут неоднозначно распознаваться водителями транспортных средств.
5.4.26 Знак 3.31 "Конец всех ограничений" применяют для указания конца участка дороги, на котором вводились одновременно несколько ограничений знаками 3.16, 3.20, 3.22, 3.24, 3.26-3.30, если нет необходимости распространять действия этих ограничений до ближайшего перекрестка или конца населенного пункта.
5.4.27 Знак 3.32 "Движение транспортных средств с опасными грузами запрещено" применяют для запрещения движения транспортных средств, осуществляющих перевозку опасных грузов, которые в соответствии с действующим законодательством должны быть обозначены опознавательными знаками (информационными таблицами) "Опасный груз".
5.4.28 Знак 3.33 "Движение транспортных средств с взрывчатыми и легковоспламеняющимися грузами запрещено" применяют для запрещения движения транспортных средств, осуществляющих перевозку взрывчатых веществ и изделий, а также других грузов, подлежащих маркировке как легковоспламеняющиеся, в количествах, на которые распространяются специальные правила.
Знаки 3.32 и 3.33 применяют для предотвращения съезда транспортных средств с опасными, взрывчатыми или легковоспламеняющимися грузами с предназначенных для них маршрутов, а также для запрещения въезда указанных транспортных средств на дороги или в районы, где они представляют особую опасность для людей.
5.4.29 Знаки 3.2-3.9, 3.32-3.34 устанавливают на каждом въезде на участок дороги или территории, где запрещается движение соответствующих видов транспортных средств. Перед боковыми выездами на дорогу знаки применяют с одной из табличек 8.3.1-8.3.3.
5.4.30 Знаки 3.16, 3.20, 3.22, 3.24, 3.26-3.30 должны быть повторно установлены после окончания населенного пункта или непосредственно за перекрестком при необходимости сохранить ограничения, введенные знаком, установленным соответственно до перекрестка или конца населенного пункта.
При необходимости зону действия знаков допускается уменьшать:
- для знаков 3.16 и 3.26 - применением таблички 8.2.1;
- для знаков 3.20, 3.22, 3.24 - установкой в конце зоны их действия соответственно знаков 3.21, 3.23 или 3.25 (что является предпочтительным) или применением таблички 8.2.1.
Зона действия любого из знаков 3.27-3.30 может быть уменьшена установкой в конце зоны их действия повторных знаков 3.27-3.30 с табличкой 8.2.3 (что является предпочтительным), или применением таблички 8.2.2, или установкой знаков 6.4 или 5.29.
5.4.31 Допускается применять знак 3.27 с разметкой 1.4, знак 3.28 - с разметкой 1.10.
5.5 Предписывающие знаки
5.5.1 Предписывающие знаки применяют для введения или отмены режимов движения и устанавливают по 5.1.9, кроме случаев, оговоренных настоящим стандартом.
5.5.2 Знаки 4.1.1 "Движение прямо", 4.1.2 "Движение направо", 4.1.3 "Движение налево", 4.1.4 "Движение прямо или направо", 4.1.5 "Движение прямо или налево", 4.1.6 "Движение направо или" применяют для разрешения движения на ближайшем пересечении проезжих частей в направлениях, указанных стрелками на знаке, а знаки 4.1.3, 4.1.5, 4.1.6 - и для разрешения разворота.
Действие знаков 4.1.1-4.1.6 не распространяется на маршрутные транспортные средства.
Если для регулирования движения на перекрестке могут быть использованы как предписывающие знаки 4.1.1-4.1.5, так и запрещающие знаки 3.18.1 и 3.18.2, следует применять предписывающие знаки.
5.5.3 Знак 4.1.1 "Движение прямо" применяют также для запрещения разворотов в разрывах конструктивно выделенной разделительной полосы на участках дорог между перекрестками. При этом знак устанавливают только на разделительной полосе.
При необходимости знак 4.1.1 допускается применять для дублирования разметки 1.1, 1.2 или 1.3, разделяющих встречные транспортные средства, при этом знак устанавливают непосредственно в начале участка дороги. Действие знака в этом случае распространяется до ближайшего перекрестка.
5.5.4 На дорогах с двумя и более полосами для движения в данном направлении дублирующие знаки 4.1.1, 4.1.2 и 4.1.4 устанавливают над левой полосой, на дорогах с конструктивно выделенной разделительной полосой - на разделительной полосе, а на дорогах без разделительной полосы при числе полос для встречного движения не более двух допускается устанавливать дублирующий знак на левой стороне дороги.
5.5.5 Знаки 4.2.1 "Объезд препятствия справа", 4.2.2 "Объезд препятствия слева", 4.2.3 "Объезд препятствия справа или слева" применяют для указания направлений объезда начала ограждений, установленных по оси проезжей части, или для разделения дороги на несколько проезжих частей, начала конструктивно выделенной разделительной полосы, в том числе при ее разрыве на перекрестках, конструктивно выделенных островков безопасности и направляющих островков, различного рода препятствий на проезжей части.
После технологических разрывов разделительной полосы или ограждений знаки не устанавливаются.
Знаки устанавливают вне проезжей части непосредственно в начале разделительных полос, островков и ограждений. При наличии в указанных местах дорожных тумб по ГОСТ 32759 знаки устанавливают сверху на тумбе, допускается одновременно дублировать их изображение на фронтальной поверхности тумбы.
Знаки 4.2.1-4.2.3 допускается устанавливать совместно со знаками 8.22.1-8.22.3 на проезжей части перед ограждениями, установленными по оси проезжей части или в местах разделения дороги на несколько проезжих частей, для указания направлений объезда их начала после сигнальных столбиков группы П по ГОСТ 32843.
5.5.6 Знак 4.3 "Круговое движение" устанавливают на каждом въезде на перекресток (площадь), на котором организовано круговое движение. Знак не применяют, если одновременно с круговым движением допускается перекрестное движение транспортных средств, за исключением рельсовых.
5.5.7 Знак 4.4.1 "Велосипедная дорожка" применяют для обозначения конструктивно отделенного от проезжей части и тротуара элемента дороги (либо отдельной дороги), по которой разрешено движение велосипедистов, а при отсутствии тротуара или пешеходной дорожки - и пешеходов.
Основной знак устанавливают в начале велосипедной дорожки справа от нее, повторный - после каждого перекрестка.
В населенных пунктах повторный знак 4.4.1 уменьшенного размера по ГОСТ Р 52290 допускается устанавливать за выездами с прилегающих территорий, признаки которых могут неоднозначно распознаваться водителями транспортных средств.
5.5.8 Знак Конец велосипедной дорожки" устанавливают в конце дорожки, обозначенной знаком 4.4.1.
Знак допускается размещать на оборотной стороне знака 4.4.1.
5.5.9 Знак 4.5.1 "Пешеходная дорожка" применяют для обозначения дорожек, предназначенных для движения пешеходов и велосипедистов в случаях, установленных [1].
Если имеется возможность велосипедистам в возрасте старше 14 лет двигаться по велосипедной и велопешеходной дорожкам, полосе для велосипедистов, а также по правому краю проезжей части или обочине, на одной опоре со знаком 4.5.1 устанавливают знак 3.9.
Основной знак устанавливают в начале пешеходной дорожки справа от нее, повторный - после каждого перекрестка.
В населенных пунктах повторный знак 4.5.1 уменьшенного размера по ГОСТ Р 52290 допускается устанавливать за выездами с прилегающих территорий, признаки которых могут неоднозначно распознаваться водителями транспортных средств.
5.5.10 Знаки 4.5.2 "Пешеходная и велосипедная дорожка с совмещенным движением (велопешеходная дорожка с совмещенным движением)", 4.5.4 и 4.5.5 "Пешеходная и велосипедная дорожка с разделением движения (велопешеходная дорожка с разделением движения)" применяют для обозначения дорожек, предназначенных для совместного движения пешеходов и велосипедистов:
- знак 4.5.2 - в случаях, когда пешеходные потоки и потоки велосипедистов не разделяют на самостоятельные;
- знаки 4.5.4 и 4.5.5 - когда пешеходные потоки и потоки велосипедистов разделяются на самостоятельные разметкой 1.1 или конструктивно.
Основные знаки 4.5.2, 4.5.4, 4.5.5 устанавливают в начале дорожки справа от нее, повторные - после каждого перекрестка.
В населенных пунктах повторные знаки 4.5.2, 4.5.4, 4.5.5 уменьшенного размера по ГОСТ Р 52290 допускается устанавливать за выездами с прилегающих территорий, признаки которых могут неоднозначно распознаваться водителями транспортных средств.
Знаки 4.5.3 "Конец пешеходной и велосипедной дорожки с совмещенным движением (конец велопешеходной дорожки с совмещенным движением)", 4.5.6 и 4.5.7 "Конец пешеходной и велосипедной дорожки с разделением движения (конец велопешеходной дорожки с разделением движения)" устанавливают в конце дорожки, предназначенной для совместного движения пешеходов и велосипедистов.
Знаки 4.5.3, 4.5.6, 4.5.7 допускается размещать на оборотных сторонах знаков 4.5.2, 4.5.4, 4.5.5 соответственно.
5.5.11 Знак 4.6 "Ограничение минимальной скорости" применяют для введения на дороге или отдельной полосе движения скоростного режима, при котором движение разрешается только с указанной или большей скоростью (например, на затяжных подъемах дорог с двумя или более полосами движения в данном направлении).
Действие знака распространяется от места установки до ближайшего перекрестка за знаком, а в населенном пункте при отсутствии перекрестка - до конца населенного пункта.
Ограничение минимальной скорости движения по всей ширине проезжей части допустимо при наличии дублирующей дороги для транспортных средств, которые не могут двигаться с указанной на знаке скоростью.
Знак 4.7 "Конец ограничения минимальной скорости" применяют для указания конца участка дороги, на котором было введено ограничение минимальной скорости движения знаком 4.6 или 5.15.3, и устанавливают в конце участка или полосы движения.
5.5.12 Знаки 4.8.1-4.8.3 "Направление движения транспортных средств с опасными грузами" применяют для указания направления движения транспортных средств, которые перевозят опасные грузы и в соответствии с действующим законодательством должны быть обозначены опознавательными знаками (информационными таблицами) "Опасный груз".
При использовании знаков 4.8.1-4.8.3 устанавливать на перекрестке знаки 3.32 и 3.33 не следует.
5.6 Знаки особых предписаний
5.6.1 Знаки особых предписаний применяют для введения особых режимов движения или их отмены.
5.6.2 Знак 5.1 "Автомагистраль" применяют для обозначения дорог, на которых действуют требования Правил дорожного движения, устанавливающие порядок движения по автомагистралям.
Знак устанавливают:
- в начале автомагистрали;
- с табличкой 8.1.1 перед ближайшим к началу автомагистрали местом для разворота или перекрестком;
- с табличкой 8.1.3 или 8.1.4 перед съездами на автомагистраль на пересечениях в разных уровнях, перед ближайшим к автомагистрали пересечением с дорогой, переходящей далее в автомагистраль;
- с табличкой 8.3.1 перед выездом на автомагистраль на примыкании в одном уровне;
- с табличками 8.3.1, 8.3.2 перед выездом на автомагистраль, начинающуюся на пересечении в одном уровне (рисунок В.5).
Повторные знаки 5.1 допускается устанавливать после въезда на автомагистраль.
5.6.3 Знак 5.2 "Конец автомагистрали" устанавливают в конце автомагистрали, в начале съездов с автомагистрали и предварительно с табличкой 8.1.1 на расстоянии 400 и 1000 м до конца автомагистрали (рисунок В.5).
5.6.4 Знак 5.3 "Дорога для автомобилей" применяют для обозначения дороги, предназначенной для движения только автомобилей, автобусов и мотоциклов, и устанавливают в начале дороги.
Знак устанавливают:
- с табличкой 8.1.3 или 8.1.4 перед съездами на дорогу, обозначенную знаком 5.3, на пересечениях в разных уровнях перед ближайшим к дороге, обозначенной знаком 5.3, пересечением с дорогой, переходящей в дорогу, обозначенную знаком 5.3;
- с табличкой 8.1.1 перед ближайшим к началу дороги, обозначенной знаком 5.3, местом для разворота или перекрестком;
- с одной из табличек 8.3.1-8.3.3 перед пересечением с дорогой, обозначенной знаком 5.3.
При наличии знаков 2.4 или 2.5 перед перекрестком знак 5.3 с соответствующей табличкой устанавливают на одной опоре с ними.
5.6.5 Знак 5.4 "Конец дороги для автомобилей" устанавливают в конце дороги, обозначенной знаком 5.3.
5.6.6 Знак 5.5 "Дорога с односторонним движением" применяют для обозначения дороги или проезжей части, по которой движение механических транспортных средств по всей ширине осуществляется в одном направлении, и устанавливают в начале дороги или проезжей части.
Знак допускается не устанавливать:
- в начале съездов на пересечениях в разных уровнях, проездов к объектам сервиса, по которым осуществляется одностороннее движение;
- в начале проезжей части с односторонним движением, отделенной от проезжей части с встречным движением конструктивно выделенной разделительной полосой или бульваром, на дорогах с раздельным трассированием, в случаях обеспеченной видимости проезжей части с встречным движением с каждой из проезжих частей.
Повторный знак 5.5 устанавливают после перекрестков со сложной планировкой.
5.6.7 Знак 5.6 "Конец дороги с односторонним движением" устанавливают в конце дороги или проезжей части, обозначенной знаком 5.5. Допускается устанавливать предварительный знак 5.6 с табличкой 8.1.1.
5.6.8 Знаки 5.7.1 и 5.7.2 "Выезд на дорогу с односторонним движением" устанавливают перед всеми боковыми выездами на участок дороги или проезжую часть, обозначенный(ую) знаком 5.5. Знаки располагают над другими знаками, установленными с ними на одной опоре.
5.6.9 Знак 5.8 "Реверсивное движение" применяют для обозначения участков дорог, на которых с помощью реверсивных светофоров или знаков 5.15.7 осуществляется регулирование движения транспортных средств по отдельным полосам проезжей части с поочередным предоставлением права на движение в противоположном направлении.
Знак устанавливают в начале дороги или участка с реверсивным движением.
Повторный знак 5.8 устанавливают после каждого регулируемого перекрестка, а также после нерегулируемого перекрестка со сложной планировкой.
5.6.10 Знак 5.9 "Конец реверсивного движения" устанавливают в конце участка дороги с реверсивным движением, обозначенного знаком 5.8.
5.6.11 Знак 5.10 "Выезд на дорогу с реверсивным движением" применяют для указания выездов на участок дороги, обозначенный знаком 5.8, и устанавливают перед всеми боковыми выездами.
5.6.12 Знак 5.11.1 "Дорога с полосой для маршрутных транспортных средств" применяют для обозначения дороги, по которой движение транспортных средств, допущенных в соответствии с [1] к движению по полосам для маршрутных транспортных средств, осуществляется по специально выделенной полосе навстречу общему потоку транспортных средств.
Знак устанавливают в начале участка дороги над проезжей частью или с обеих сторон дороги.
Повторный знак 5.11.1 устанавливают после перекрестков со сложной планировкой.
5.6.13 Знак 5.11.2 "Дорога с полосой для велосипедистов" применяют для обозначения дороги, на которой движение велосипедистов и мопедов осуществляется по специально выделенной полосе навстречу общему потоку транспортных средств.
Знаки устанавливают в начале участка дороги над проезжей частью или с обеих сторон дороги.
5.6.14 Знак 5.12.2 "Конец дороги с полосой для велосипедистов" устанавливают в конце дороги с полосой, обозначенной знаком 5.11.2.
5.6.15 Знак 5.12.1 "Конец дороги с полосой для маршрутных транспортных средств" устанавливают в конце дороги, обозначенной знаком 5.11.1.
5.6.16 Знаки 5.13.1, 5.13.2 "Выезд на дорогу с полосой для маршрутных транспортных средств" применяют для обозначения выездов на дорогу, обозначенную знаком 5.11.1, и устанавливают перед всеми боковыми выездами.
Если в месте выезда на дорогу устанавливают несколько знаков на одной опоре, знаки 5.13.1, 5.13.2 располагают над другими знаками.
Допускается не устанавливать знак на выездах с прилегающих к дороге территорий, если въезд на эти территории возможен только с данного участка дороги, обозначенного знаком 5.11.1.
5.6.17 Знаки 5.13.3 и 5.13.4 "Выезд на дорогу с полосой для велосипедистов" применяют для обозначения выездов на дорогу, обозначенную знаком 5.11.2, и устанавливают перед всеми боковыми выездами. Допускается не устанавливать знак на выездах с прилегающих к дороге территорий, если въезд на эти территории возможен только с данного участка дороги, обозначенного знаком 5.11.2.
5.6.18 Знак 5.14.1 "Полоса для маршрутных транспортных средств" применяют для обозначения специально выделенной полосы, по которой движение транспортных средств, допущенных в соответствии с [1] к движению по полосам для маршрутных транспортных средств, осуществляется попутно транспортному потоку.
Знак допускается устанавливать на участках трамвайных путей, находящихся в одном уровне с проезжей частью, на которых введен режим выделенной полосы маршрутных транспортных средств.
Знак устанавливают в начале полосы над ней с табличкой 8.14 либо над трамвайными путями, а в случае, если она крайняя правая, допускается устанавливать знак справа от полосы.
Знак повторяют за каждым перекрестком на протяжении всего участка дороги, где движение маршрутных транспортных средств организовано по обозначенной знаком 5.14.1 полосе.
В населенных пунктах повторные знаки 5.14.1 уменьшенного размера по ГОСТ Р 52290 (без таблички 8.14) допускается устанавливать за выездами с прилегающих территорий, признаки которых могут неоднозначно распознаваться водителями транспортных средств.
Знак 5.14.1 устанавливается непосредственно после перекрестка или выезда с прилегающей территории вне зависимости от наличия и длины зоны перестроения.
5.6.19 Знак 5.14.2 "Полоса для велосипедистов" применяют для обозначения полосы проезжей части, по которой разрешено движение велосипедистов и мопедов.
Знак устанавливают в начале полосы предпочтительно над ней с табличкой 8.14.
Знак повторяют за каждым перекрестком на протяжении всего участка дорог, где движение велосипедистов организовано по обозначенной знаком 5.14.2 полосе.
В населенных пунктах повторные знаки 5.14.2 уменьшенного размера по ГОСТ (без таблички 8.14) допускается устанавливать за выездами с прилегающих территорий, признаки которых могут неоднозначно распознаваться водителями транспортных средств.
5.6.20 Знак 5.14.3 "Конец полосы для маршрутных транспортных средств" устанавливают в конце полосы, по которой осуществляется движение маршрутных транспортных средств, знак 5.14.4 "Конец полосы для велосипедистов" устанавливают в конце полосы, по которой осуществляется движение велосипедистов и мопедов.
5.6.21 Действие знаков 5.14.1-5.14.4 распространяется на полосу, над которой они расположены. Действие знаков, установленных справа от дороги, распространяется на правую полосу.
5.6.22 Знаки 5.15.1 "Направления движения по полосам" и 5.15.2 "Направления движения по полосе" применяют для указания разрешенных направлений движения по каждой из полос на перекрестке, где требуется обеспечить использование полос в соответствии с интенсивностью движения транспортных средств по различным направлениям. Применение знаков 5.15.2 предпочтительно.
Знаки 5.15.1 и 5.15.2, разрешающие поворот налево из крайней левой полосы, разрешают и разворот из этой полосы.
Знаки 5.15.1 и 5.15.2, разрешающие только разворот, запрещают левый поворот.
Действие знаков 5.15.1 и 5.15.2, установленных перед перекрестком, распространяется на перекресток, если знаки 5.15.1 или 5.15.2, установленные на перекрестке, не дают других предписаний.
Действие знаков не распространяется на маршрутные транспортные средства.
Основные знаки устанавливают в начале разделения полос движения разметкой 1.1.
Каждый из знаков 5.15.2 располагают над серединой полосы, для которой он предназначен.
Предварительные знаки 5.15.1 и 5.15.2 устанавливают на дорогах, имеющих перед перекрестком три полосы, знак 5.15.2 - три полосы и более для движения в данном направлении. На других дорогах предварительные знаки допускается устанавливать при необходимости.
Знак 5.15.1 вне населенных пунктов на дорогах, имеющих перед перекрестком не более трех, а в населенных пунктах - не более двух полос движения в данном направлении, допускается размещать справа от дороги, при этом устанавливают и предварительный знак 5.15.1.
Предварительные знаки 5.15.1 и 5.15.2 размещают на расстоянии от 50 до 150 м до места установки основных знаков.
При наличии знаков 5.15.1 и 5.15.2 знаки 4.1.1-4.1.6 не применяют.
5.6.23 Знак 5.15.3 "Начало полосы" применяют для обозначения начала дополнительной полосы на подъеме или полосы торможения на пересечениях и примыканиях, при увеличении числа полос для движения в данном направлении и устанавливают у начала отгона такой полосы.
Знак 5.15.3 с изображением знака(ов) 4.6 применяют в случаях, когда необходимо установить минимально допустимую скорость на левой полосе(ах), ведущей(их) на подъем.
На знаке указывают минимально допустимую скорость для левой полосы, которую превышают 50% транспортных средств, движущихся на подъем по двум полосам, или минимально допустимые скорости, которые превышают 50% (для левой полосы) и 85% (для средней полосы) транспортных средств, движущихся на подъем по трем полосам.
Скорость измеряют в конце подъема. Полученное значение округляют в меньшую сторону до значения, кратного 10.
5.6.24 Знак 5.15.4 "Начало полосы" применяют для обозначения начала участка средней полосы, предназначенного для движения в данном направлении, на трехполосных дорогах, при поочередном выделении разметкой двух полос для каждого из направлений.
Знак допускается применять для обозначения начала полосы, предназначенной для поворота налево, разворота или при увеличении числа полос для движения в данном направлении.
Знак устанавливают у начала отгона полосы или переходной линии разметки.
5.6.25 Знак 5.15.5 "Конец полосы" применяют для обозначения конца дополнительной полосы на подъеме или полосы разгона, а также при уменьшении числа полос на дороге для движения в данном направлении.
Знак устанавливают у начала отгона полосы или переходной линии разметки.
5.6.26 Знак 5.15.6 "Конец полосы" применяют для обозначения конца полосы, предназначенной для движения в данном направлении или конца участка средней полосы на трехполосных дорогах, обозначенного знаком 5.15.4.
Знак допускается применять для обозначения конца полосы разгона, расположенной слева от основных полос, предназначенных для движения в данном направлении.
Знак устанавливают у начала отгона полосы или переходной линии разметки.
Знак 5.15.6 следует дублировать по 5.1.6.
5.6.27 Знак 5.15.7 "Направление движения по полосам" применяют для указания числа полос и направления движения по каждой из полос при организации движения в одном из направлений по большему числу полос, чем во встречном, и устанавливают за каждым перекрестком на участке дороги с такой организацией движения.
Допускается устанавливать знак с двумя стрелками на участках двухполосных дорог (проезжих частей), когда организация движения (одно- или двустороннего) может неоднозначно восприниматься водителями.
В случаях, когда знаками с табличками 8.14 по отдельным полосам движения вводят какие-либо режимы, эти знаки могут быть изображены на стрелках знака 5.15.7.
Знак допускается применять для организации реверсивного движения. В этом случае знак устанавливают за каждым перекрестком на протяжении всего участка дороги.
5.6.28 Знак 5.15.8 "Число полос" применяют для указания числа полос в данном направлении и режимов движения по полосам.
Знак устанавливают вне населенных пунктов на расстоянии от 150 до 300 м, в населенных пунктах - на расстоянии от 50 до 150 м от начала участка дороги, на котором соответствующими знаками с табличкой 8.14 вводят режимы движения по полосам.
Знак устанавливают над проезжей частью.
Знак допускается устанавливать справа от дороги вне населенных пунктов на дорогах, имеющих перед перекрестком не более трех, а в населенных пунктах - не более двух полос движения в данном направлении.
5.6.29 Знаки 5.16 "Место остановки автобуса и (или) троллейбуса", 5.17 "Место остановки трамвая" и 5.18 "Место стоянки легковых такси" применяют для обозначения остановочных пунктов соответствующих видов маршрутных транспортных средств и стоянки легковых такси.
Знаки должны быть двусторонними. Односторонние знаки допускается применять вне населенных пунктов на участках дорог с разделительной полосой, на которых отсутствует движение пешеходов вдоль дорог.
Знаки 5.16 устанавливают в начале посадочной площадки по ходу движения автобуса и (или) троллейбуса. При наличии на остановочном пункте павильона или нескольких павильонов допускается устанавливать знак 5.16 на ближайшем по ходу движения павильоне с ближайшего к началу посадочной площадки края или на самостоятельной опоре.
Знак 5.17 устанавливают справа от проезжей части в начале зоны остановочного пункта по ходу движения автотранспорта.
Дублирующий знак 5.17 устанавливают:
- при наличии приподнятой посадочной площадки, расположенной вдоль трамвайных путей - в начале этой площадки;
- без посадочной площадки на дорогах с двумя или более полосами движения в данном направлении - над левой полосой.
При необходимости указания протяженности одного или нескольких расположенных друг за другом остановочных пунктов допускается применять знак 5.16 с табличкой 8.2.1. Знак при этом устанавливают в начале первого остановочного пункта.
Знаки уменьшенного размера по ГОСТ Р 52290 допускается устанавливать на улицах и дорогах местного значения городов и на улицах и дорогах сельских поселений по СП 42.13330.
5.6.30 Знаки 5.19.1 и 5.19.2 "Пешеходный переход" применяют для обозначения мест, выделенных для перехода пешеходов через дорогу.
Знак 5.19.1 устанавливают справа от дороги, знак 5.19.2 - слева. На дорогах с конструктивно выделенной разделительной полосой (полосами) знаки 5.19.1 и 5.19.2 устанавливают на разделительной полосе соответственно справа или слева от каждой проезжей части, при этом знак 5.19.1 устанавливают на такой разделительной полосе, если по ней организовано пешеходное движение вдоль проезжей части или пешеходный переход пересекает две и более разделительные полосы.
Знак 5.19.1 устанавливают на ближней границе перехода относительно приближающихся транспортных средств, знак 5.19.2 - на дальней. Ширину неразмеченного пешеходного перехода, заключенного между знаками, определяют по 6.2.17.
Знаки на размеченном пешеходном переходе устанавливают на расстоянии не более 1 м от границы перехода.
Знак 5.19.2 допускается размещать на оборотной стороне знака 5.19.1.
На регулируемых перекрестках, с диагональными пешеходными переходами, знаки 5.19.1 и 5.19.2 устанавливают только на внешних границах пешеходных переходов, расположенных по периметру перекрестка (рисунок В.19).
При совмещении искусственной неровности и пешеходного перехода знак 5.19.1 допускается устанавливать совместно со знаком 5.20 по 5.6.31.
Знаки 5.19.1 и 5.19.2 следует дублировать по 5.1.6.
5.6.31 Знак 5.20 "Искусственная неровность" применяют для обозначения искусственной неровности по ГОСТ Р 52605.
Знак устанавливают на ближней границе искусственной неровности или разметки 1.25 относительно приближающихся транспортных средств.
Допускается устанавливать знак слева на участке дороги, проходящем вдоль трамвайных путей или вдоль непосредственно прилегающей к нему справа выделенной дорожным ограждением площадки, предназначенной для стоянки транспортных средств, обозначенной знаком 6.4.
5.6.32 Знак 5.21 "Жилая зона" применяют для обозначения территории (зоны), в пределах которой действуют требования Правил дорожного движения, устанавливающие порядок движения в жилых зонах.
Знак устанавливают на всех въездах в жилую зону.
5.6.33 Знак 5.22 "Конец жилой зоны" применяют для обозначения конца жилой зоны. Знак устанавливают на всех выездах из жилой зоны.
Знак допускается размещать на оборотной стороне знака 5.21.
5.6.34 Знаки 5.21 и 5.22 уменьшенного размера по ГОСТ Р 52290 допускается устанавливать, если въезд в жилую зону осуществляется с улиц и дорог местного значения городов и с местных улиц и дорог сельских поселений по СП 42.13330.
5.6.35 Знаки 5.23.1 и 5.23.2 "Начало населенного пункта" применяют для обозначения начала населенного пункта, в пределах которого действуют требования Правил дорожного движения, устанавливающие порядок движения в населенных пунктах.
Знаки устанавливают на всех въездах в населенный пункт на фактической границе застроенной территории.
Знак 5.23.2 устанавливают в случаях, когда требования Правил дорожного движения, регламентирующие порядок движения в населенных пунктах, необходимо ввести на участке дороги с застройкой, не входящей в какой-либо населенный пункт (дачные поселки, отдельно стоящие предприятия, строящиеся объекты и т.п.).
Знак 5.23.2 допускается устанавливать:
- на второстепенных въездах в населенный пункт;
- в начале жилой застройки в случаях, когда дорога неоднократно пересекает границы одного и того же населенного пункта;
- на границах жилой застройки, когда в пределах административных границ населенного пункта застройка прерывается на расстояние более 500 м.
5.6.36 Знаки 5.24.1 и 5.24.2 "Конец населенного пункта" применяют для указания конца населенного пункта, обозначенного соответственно знаками 5.23.1 и 5.23.2.
Знаки устанавливают на всех выездах из населенного пункта на фактической границе застройки.
Допускается устанавливать знак 5.24.2 в конце населенного пункта, обозначенного знаком 5.23.1.
5.6.37 Знак 5.25 Начало населенного пункта" применяют для обозначения начала населенного пункта, в котором на данной дороге по условиям безопасности движения нецелесообразно вводить требования Правил дорожного движения, устанавливающие порядок движения в населенных пунктах.
5.6.38 Знак 5.26 "Конец населенного пункта" применяют для указания конца населенного пункта, обозначенного знаком 5.25.
5.6.39 На дорогах с одной, двумя или тремя полосами для движения в обоих направлениях знаки 5.24.1, 5.24.2 и 5.26 допускается размещать только с левой стороны дороги, на оборотной стороне знаков 5.23.1, 5.23.2 и 5.25 соответственно, предназначенных для водителей транспортных средств, движущихся во встречном направлении.
5.6.40 Знаки 5.27 "Зона с ограничениями стоянки", 5.29 "Зона регулируемой стоянки" и 5.31 "Зона с ограничением максимальной скорости" применяют для обозначения территории (участка дороги), в пределах которой регламентирована стоянка или ограничена максимальная скорость движения.
Знаки устанавливают на всех въездах на территорию (участок дороги).
Ограничение максимальной скорости для всего населенного пункта не допускается.
Для ограничения максимальной скорости на участке дороги предпочтительно применять знак 3.24.
5.6.41 Знак 5.33 "Пешеходная зона" применяют для обозначения территории (участка дороги), на которой разрешено движение пешеходов, а также велосипедистов в случаях, установленных [1].
Знак устанавливают в местах, где возможен въезд транспортных средств на территорию (участок дороги).
5.6.42 Знак 5.35 "З она с ограничением экологического класса механических транспортных средств" и 5.37 "Зона с ограничением экологического класса по видам транспортных средств" применяют для обозначения территории (участка дороги), в пределах которой запрещено движение механических транспортных средств или вида(ов) транспортного средства, экологический класс которых ниже экологического класса, указанного на знаке, или экологический класс которых не указан в регистрационных документах на эти транспортные средства. Действие знаков 5.35 и 5.37 - по [1].
5.6.43 Знак 5.39 "Велосипедная зона" применяют для обозначения территории (участка дороги), предназначенной для движения велосипедистов, а также пешеходов и механических транспортных средств в соответствии с [1].
Знак устанавливают в местах, где возможен въезд транспортных средств на территорию (участок дороги).
5.6.44 Знаки 5.28 "Конец зоны с ограничениями стоянки", 5.30 "Конец зоны регулируемой стоянки", 5.32 "Конец зоны с ограничением максимальной скорости", 5.34 "Конец пешеходной зоны", 5.36 "Конец зоны с ограничением экологического класса механических транспортных средств", 5.38 "онец зоны с ограничением экологического класса по видам транспортных средств", 5.40 "Конец велосипедной зоны" применяют для указания конца территории (участка дороги), обозначенной соответственно знаками 5.27, 5.29, 5.31, 5.33, 5.35. 5.37, 5.39.
Знаки устанавливают на всех выездах с территории (участка дороги).
Знаки 5.28, 5.30, 5.32, 5.34, 5.36, 5.38 допускается размещать на оборотной стороне знаков 5.27, 5.29, 5.31, 5.33, 5.35, 5.37 соответственно.
5.6.45 Информацию о видах транспортных средств, на которые распространяется ограничение, введенное (отмененное) знаками 5.27-5.38, а также информацию о времени действия, способе постановки транспортного средства на парковке, ее продолжительности, возможном задержании транспортного средства и помещении его на специализированную стоянку, экологическом классе транспортного средства и т.п. размещают на табличках под этими знаками или в нижней их части с помощью изображений табличек по ГОСТ Р 52290.
5.7 Информационные знаки
5.7.1 Информационные знаки применяют для информирования участников движения о расположении на пути следования населенных пунктов и других объектов, а также об установленных и рекомендуемых режимах движения.
5.7.2 Знак 6.1 "Общие ограничения максимальной скорости" применяют для информирования водителей транспортных средств об общих ограничениях скорости, установленных по [1] на дорогах Российской Федерации.
Знак устанавливают при въезде на территорию Российской Федерации на контрольно-пропускных пунктах.
5.7.3 Знак 6.2 "Рекомендуемая скорость" применяют для информирования водителей транспортных средств о скорости, с которой рекомендуется двигаться на данном участке дороги, и устанавливают в начале участка.
Знак действует до ближайшего перекрестка, а при применении с предупреждающим знаком - на протяжении опасного участка.
5.7.4 Знаки 6.3.1 "Место для разворота" и 6.3.2 "Зона для разворота" применяют для указания мест разворота.
Знаки устанавливают на дорогах с конструктивно выделенной разделительной полосой перед местом разворота на разделительной полосе, на дорогах с разделительной полосой, выделенной только разметкой 1.2, или без разделительной полосы - над крайней левой полосой движения в данном направлении.
Знаки допускается устанавливать справа на дорогах с числом полос для движения в данном направлении не более трех. В этом случае применяют предварительный знак с табличкой 8.1.1 на расстоянии от 100 до 300 м до основного знака.
5.7.5 Знак 6.4 "Парковка (парковочное место)" применяют для обозначения площадок и участков дороги, предназначенных для стоянки легковых автомобилей и мотоциклов, с одной из табличек 8.6.2-8.6.9 - для указания способа постановки транспортного средства у края проезжей части около тротуара или на нем.

Знак 6.4 с табличкой 8.6.1 применяют для обозначения площадок, на которых транспортные средства устанавливают вдоль края проезжей части.
Действие знака, обозначающего парковку у края проезжей части около тротуара или на нем, распространяется до ближайшего перекрестка либо ограничивается табличкой 8.2.1.
На дорогах вне населенных пунктов предварительный знак 6.4 с табличкой 8.1.1 устанавливают на расстоянии от 400 до 800 м от парковки.
Знак 6.4 с табличками 8.21.1-8.21.3 устанавливают на въездах на парковку у станции метро, остановки автобуса и (или) троллейбуса, трамвая и предварительно с табличками 8.1.1, 8.1.3, 8.1.4, 8.3.1, 8.3.2 для указания направления и расстояния до парковки.
Знак 6.4 с табличкой 8.4.3.1 для обозначения парковочных мест для электромобилей, где возможна их зарядка.
Для обозначения парковки вдоль одной из сторон площади, фасада здания и т.п. знак 6.4 с табличками 8.2.5, 8.2.6, 8.17 допускается устанавливать напротив въезда на площадь, подъезда к зданию и т.п. лицевой стороной к водителям транспортных средств.


Знак 6.4 с изображением таблички 8.8 применяют по 5.9.13, а с изображением таблички 8.17 - по 5.9.24.
5.7.6 Знак 6.5 "Полоса для аварийной остановки" применяют для информирования водителей транспортных средств о расположении полосы для аварийной остановки на крутом спуске.
Знак устанавливают перед въездом на полосу для аварийной остановки.
Предварительный знак 6.5 с табличкой 8.1.1 устанавливают со знаком 1.13 в верхней части спуска. На протяжении спуска допускается устанавливать предварительные знаки 6.5 с табличкой 8.1.1.
5.7.7 Знаки 6.6 "Подземный пешеходный переход" и 6.7 "Надземный пешеходный переход" устанавливают изображением навстречу основным пешеходным потокам у всех входов в (на) пешеходный переход.
Допускается устанавливать двухсторонние знаки.
5.7.8 Знаки 6.8.1-6.8.3 "Тупик" применяют для обозначения дорог, не имеющих сквозного проезда.
Знак 6.8.1 устанавливают в начале дороги, знаки 6.8.2 и 6.8.3 - перед пересечением с дорогой, не имеющей сквозного проезда.
Знаки 6.8.1-6.8.3 не применяют в случаях, когда на участке дороги между перекрестками движение запрещено знаком 3.1 или 3.2.
5.7.9 Знак 6.9.1 "Предварительный указатель направлений" применяют для предварительного информирования о направлении движения к населенным пунктам и другим объектам.
Знак применяют также для указания схемы маршрута объезда участков дорог, на которых знаками 3.11-3.15 введены соответствующие ограничения.
Знак устанавливают вне населенных пунктов на расстоянии от 300 до 500 м перед перекрестком или началом отгона полосы торможения, в населенных пунктах - на расстоянии от 50 до 300 м.
На автомагистралях устанавливают предварительный знак 6.9.1 на расстоянии от 800 до 1000 м перед перекрестком или началом отгона полосы торможения.
Знак допускается устанавливать над проезжей частью или на конструктивно выделенной разделительной полосе.
5.7.10 Знак 6.9.2 "Предварительный указатель направления" применяют для предварительного информирования о направлении движения к населенным пунктам и другим объектам. Знак устанавливают над проезжей частью дороги с двумя и более полосами движения в одном направлении непосредственно перед началом отгона полосы торможения, а при ее отсутствии - на расстоянии от 100 до 300 м перед перекрестком вне населенных пунктов и от 50 до 100 м - в населенных пунктах.
Знаки 6.9.2 устанавливают по 5.7.9 вместо знака 6.9.1:
- на участках дорог, где размещение знака 6.9.1 затруднено (высокие насыпи, глубокие выемки, наличие построек и т.п.);
- на дорогах, имеющих четыре и более полос для движения в данном направлении, и размещают над соответствующими полосами.
На дорогах с двумя и тремя полосами движения в обоих направлениях знаки 6.9.2 допускается размещать друг над другом на расстоянии между ними по вертикали не менее 0,05 м.
Расстояние между знаками 6.9.1 и 6.9.2 должно быть не менее 200 м.
На пересечении в разных уровнях знаки 6.9.2 устанавливают перед всеми съездами; при прохождении маршрута под путепроводом эти указатели размещают на его пролетных строениях.
5.7.11 Знак 6.9.3 "Схема движения" применяют для указания маршрута объезда, если на перекрестке движение в отдельных направлениях запрещено, или направлений движения на перекрестке со сложной планировкой.
Знак устанавливают непосредственно перед перекрестком.
Предварительный знак 6.9.3 допускается устанавливать в населенных пунктах на расстоянии от 50 до 100 м, вне населенных пунктов - на расстоянии от 150 до 300 м от перекрестка.
5.7.12 Знаки 6.10.1 "Указатель направлений" и 6.10.2 "Указатель направления" применяют для указания направления движения к населенным пунктам и другим объектам и устанавливают справа от проезжей части непосредственно перед перекрестком или съездом с дороги, при наличии полосы торможения - предпочтительно у начала ее отгона.
На перекрестках, где каждая из пересекающихся дорог имеет не более двух полос для движения в обоих направлениях, знаки допускается устанавливать слева от дороги, до перекрестка или за ним. Допускается размещать на одной стойке несколько знаков или все знаки 6.10.1 и 6.10.2 для противоположных направлений.
Дублирующие знаки 6.10.1 и 6.10.2 с указанием направления движения налево допускается устанавливать на дорогах с тремя и более полосами для движения в данном направлении слева от проезжей части или на конструктивно выделенных разделительной полосе, направляющем островке, если знаки не ограничат видимость транспортных средств на перекрестке.
На Т-образном пересечении знаки допускается устанавливать напротив дороги, не имеющей продолжения.
На развилках дорог знаки 6.10.1 допускается размещать на Т-образной опоре, установленной за развилкой.
Знак 6.10.2 устанавливают за перекрестком со сложной планировкой для подтверждения движения по маршруту.
Знак 6.10.1 допускается устанавливать в населенных пунктах вместо знака 6.9.1 или 6.9.2 согласно 5.7.9 и 5.7.10.
5.7.13 Знак 6.11 "Наименование объекта" применяют для указания наименования объекта, за исключением населенного пункта, и устанавливают непосредственно перед объектом.
5.7.14 Знак 6.12 "Указатель расстояний" применяют для указания расстояний до центра населенных пунктов или других объектов, расположенных на маршруте.
Знак на дорогах вне населенных пунктов устанавливают на выездах из городов и других крупных населенных пунктов, после пересечений в разных уровнях, после сложных перекрестков, а на участках дорог между ними - не реже чем через 20 км.
В населенных пунктах знак устанавливают после пересечений магистральных городских дорог.
На дорогах, имеющих не более трех полос движения в обоих направлениях, знак 6.12 допускается размещать слева, на оборотной стороне знака 6.9.1.
5.7.15 Знак 6.13 "Километровый знак" применяют для указания расстояния от начального пункта дороги (по ее титульному наименованию) до места его установки, а также обозначения каждого километра дороги.
В одном поперечном сечении дороги на знаках 6.13, предназначенных для разных направлений движения, указывают одинаковое расстояние.
Знак на дорогах с разделительной полосой устанавливают посередине конструктивно выделенной разделительной полосы или с правой стороны дороги для каждого направления движения.
На дорогах с пятью и более полосами движения в обоих направлениях без разделительной полосы знак устанавливают с правой стороны дороги для каждого направления движения.
Знак на дорогах без разделительной полосы с четырьмя и менее полосами движения в обоих направлениях устанавливают только с одной стороны дороги. Допускается устанавливать на одной опоре два знака 6.13, предназначенных для разных направлений движения, размещая их друг к другу оборотными сторонами или под углом не более 60°.
Допускается устанавливать знак 6.13 с наименованием организации - владельца соответствующей дороги.
5.7.16 Знаки 6.14.1 и 6.14.2 "Номер маршрута" применяют для указания номера, а также номера и направления дороги (маршрута), утвержденного в установленном порядке.
Знак 6.14.1 устанавливают в начале дороги (маршрута) и повторяют через расстояния от 10 до 15 км.
Знак 6.14.2 устанавливают перед перекрестком для указания направления и номера дороги (маршрута), а также для указания номера дороги (маршрута) пересекаемой дороги, если перед перекрестком не установлены знаки 6.9.1, 6.9.2, 6.10.1, 6.10.2.
5.7.17 Знаки 6.15.1-6.15.3 "Направление движения для грузовых автомобилей" применяют для указания рекомендуемого маршрута движения грузовых автомобилей, тракторов и самоходных машин, если их движение на перекрестке в одном из направлений запрещено.
Знаки устанавливают перед перекрестком в начале рекомендуемого маршрута и на протяжении маршрута перед каждым перекрестком.
Знаки перед перекрестком, где начинается маршрут, допускается устанавливать предварительно на расстоянии от 100 до 150 м от перекрестка.
5.7.18 Знак 6.16 "Стоп-линия" применяют для указания места остановки транспортных средств на регулируемых перекрестках, железнодорожных переездах и на пунктах взимания платы за проезд по платным дорогам.
Знак устанавливают справа от дороги или над проезжей частью. Допускается устанавливать знак над каждой полосой движения.
Знак применяют самостоятельно или с разметкой 1.12.
Если знак применяют самостоятельно, то расстояние от знака до светофора, шлагбаума или ближнего рельса определяют по 6.2.14, при этом высота установки знака 6.16 сбоку от проезжей части при отсутствии светофора Т.3* любых исполнений должна быть (1,5±0,1) м.
* - Здесь и далее обозначения светофоров по ГОСТ Р 52282-2004.
Если знак применяют совместно с разметкой 1.12, то его устанавливают в одном поперечном сечении с разметкой.
5.7.19 Знак 6.17 "Схема объезда" применяют для указания маршрута объезда участка дороги, временно закрытого для движения.
Знак устанавливают вне населенных пунктов на расстоянии от 150 до 300 м, в населенных пунктах - на расстоянии от 50 до 100 м от перекрестка, где начинается маршрут объезда.
5.7.20 Знаки 6.18.1-6.18.3 "Направление объезда" применяют для указания направления движения по маршруту объезда участка дороги, временно закрытого для движения.
Знаки устанавливают перед перекрестком, где начинается маршрут объезда.
Если маршрут объезда проходит по сети существующих дорог, то знаки устанавливают перед каждым перекрестком на маршруте.
5.7.21 Знаки 6.19.1 и 6.19.2 "Предварительный указатель перестроения на другую проезжую часть" применяют на дорогах с разделительной полосой для указания направления движения для объезда временно закрытого участка проезжей части и направления движения для возвращения на проезжую часть, предназначенную для движения в данном направлении.
Знак 6.19.1 с табличкой 8.1.1 устанавливают на расстоянии от 50 до 100 м вне населенных пунктов и предварительно за 500 м до разрыва в разделительной полосе, по которому осуществляется переезд на проезжую часть, предназначенную для движения во встречном направлении.
Знак 6.19.2 с табличкой 8.1.1 устанавливают на разделительной полосе на расстоянии от 50 до 100 м до разрыва, по которому осуществляется переезд на проезжую часть, предназначенную для движения в данном направлении.
5.7.22 Допускается размещать информацию, не являющуюся рекламой, об объектах притяжения участников движения (служебное слово, наименование, направление движения, расстояние до объекта, пиктограмма или символ) совместно со знаками 6.9.1, 6.9.2, 6.10.1, 6.12, при этом:
- ее размещают на отдельном щите непосредственно под знаком индивидуального проектирования;
- щит должен быть конструктивно связан со знаком индивидуального проектирования;
- ширина щита должна быть равна ширине знака;
- информацию размещают на желтом фоне;
- высота отдельного щита с информацией об объектах притяжения участников дорожного движения не должна превышать 1/3 высоты знака индивидуального проектирования с информацией об объектах притяжения при высоте прописных букв на знаке 200 мм и менее и 1/4 - при высоте прописных букв 250 мм и более;
- при изготовлении знака, совмещенного со щитом с информацией об объектах притяжения участников дорожного движения, применяют световозвращающие пленки типа В.
5.7.23 Знаки 6.20.1 и 6.20.2 "Аварийный выход" применяют для указания места в тоннеле, где находится аварийный выход.
Знаки 6.20.1 и 6.20.2 устанавливают слева и справа от проезжей части.
Знак 6.20.1 устанавливают слева от проезжей части, если аварийный выход расположен слева по ходу движения.
Знак 6.20.2 устанавливают справа от проезжей части, если аварийный выход расположен справа по ходу движения.
5.7.24 Знаки 6.21.1 и 6.21.2 "Направление движения к аварийному выходу" применяют для указания направления движения к аварийному выходу в тоннеле и расстояние до него.
Знаки устанавливают на расстоянии не более 50 м друг от друга на высоте от 1,0 до 1,5 м на боковых стенах тоннелей.
5.7.25 Знак 6.22 "Фотовидеофиксация" применяют для информирования о возможной фиксации нарушений [1], а также иных правонарушений в области дорожного движения работающими в автоматическом режиме стационарными или передвижными специальными техническими средствами, имеющими функции фото- и киносъемки, видеозаписи, для обеспечения контроля за дорожным движением на данном участке дороги (территории).
Знак устанавливают вне населенных пунктов на расстоянии от 150 до 300 м до зоны контроля, а в населенных пунктах - со знаками 5.23.1, 5.23.2 и 5.25.
Знак 6.22 допускается размещать под существующими знаками без учета высоты установки по 5.1.8.
Знак 6.22 допускается устанавливать с табличками 8.1.1, 8.1.3 и 8.1.4.
5.8 Знаки сервиса
5.8.1 Знаки 7.1 "Пункт медицинской помощи", 7.2 "Больница", 7.3 "Автозаправочная станция", 7.4 "Техническое обслуживание автомобилей", 7.5 "Мойка автомобилей", 7.6 "Телефон", 7.7 "Пункт питания", 7.8 "Питьевая вода", 7.9 "Гостиница или мотель", 7.10 "Кемпинг", 7.11 "Место отдыха", 7.12 "Пост дорожно-патрульной службы", 7.13 "Полиция", 7.14.1 "Пункт таможенного контроля", 7.14.2 "Пункт транспортного контроля", 7.17 "Бассейн или пляж", 7.18 "Туалет" и 7.21 "Автозаправочная станция с возможностью зарядки электромобилей" применяют для информирования участников движения о соответствующих объектах.
Знаки устанавливают у объектов.
Предварительные знаки сервиса вне населенных пунктов устанавливают на расстоянии от 400 до 800 м, а при необходимости - от 2 до 3 км, от 15 до 20 км и от 60 до 80 км до объекта, у мест поворота к ним (перекрестков), если они расположены в стороне от дороги.
На предварительных знаках сервиса указывают расстояние до объекта и направление. При указании расстояний на предварительных знаках сервиса, информирующих об объектах, расположенных в стороне от дороги и устанавливаемых на расстояниях от 2 до 3 км, от 15 до 20 км, от 60 до 80 км, необходимо учитывать расстояние от места поворота (перекрестка) до объекта.
Предварительные знаки сервиса в населенных пунктах допускается устанавливать на расстоянии от 100 до 150 м до объекта и на ближайших к нему местах поворота (перекрестках).
5.8.2 Знак 7.14.1 "Пункт таможенного контроля" применяют для информирования участников дорожного движения о пунктах таможенного контроля, на которых контролируются перевозки товаров грузовым транспортом, если на указанных транспортных средствах перевозят товары, находящиеся под таможенным контролем.
5.8.3 Знак 7.14.2 "Пункт транспортного контроля" применяют для информирования участников движения о пунктах транспортного контроля, на которых контролируют международные автомобильные перевозки, осуществляемые грузовыми автомобилями и автобусами, а также пунктах, на которых осуществляют весовой и габаритный контроль.
5.8.4 Знак 7.15 "Зона приема радиостанции, передающей информацию о дорожном движении" применяют для обозначения начала участка дороги, на котором осуществляется прием передач радиостанции на частоте, указанной на знаке.
Знак устанавливают в начале такого участка и повторяют на протяжении участка через каждые 20 км.
5.8.5 Знак 7.16 "Зона радиосвязи с аварийными службами" применяют для обозначения участка дороги, на котором действует система радиосвязи с аварийными службами в гражданском диапазоне 27 МГц.
Знак устанавливают в начале такого участка и при необходимости повторяют на его протяжении.
5.8.6 Знаки 7.19 "Телефон экстренной связи" и 7.20 "Огнетушитель" применяют для указания мест, где находится телефон для вызова оперативных служб или огнетушитель.
При необходимости вне населенных пунктов знаки могут быть установлены предварительно на расстоянии от 400 до 800 м до объекта.
5.9 Знаки дополнительной информации (таблички)
5.9.1 Знаки дополнительной информации (таблички) применяют для уточнения или ограничения действия других дорожных знаков, а также для сообщения участникам движения иной информации.
Таблички располагают непосредственно под знаками, к которым они относятся, кроме случаев, оговоренных настоящим стандартом.
С одним знаком, за исключением знака 6.4, допускается применять не более двух табличек, с временным знаком вне населенных пунктов - не более одной таблички.
5.9.2 Табличку 8.1.1 "Расстояние до объекта" применяют с предупреждающими знаками, если расстояние от знака до начала опасного участка менее или более расстояний, указанных в 5.2.2, 5.2.3, а также с предварительными знаками других групп, если невозможно обеспечить видимость основного знака по 5.1.4, за исключением знаков 5.15.1, 5.15.2, 6.9.3, 6.15.1-6.15.3, 6.17, 7.1-7.18 (кроме случая по 5.8.1).
5.9.3 Табличку 8.1.2 "Расстояние до объекта" применяют со знаком 2.4 вне населенных пунктов, если перед перекрестком установлен знак 2.5.
5.9.4 Таблички 8.1.3 и 8.1.4 "Расстояние до объекта" применяют с предупреждающими знаками, установленными по 5.2.3, и со знаками 3.11-3.15, 5.1, 5.3, 6.4 в местах поворота к указываемым объектам.
5.9.5 Табличку 8.2.1 "Зона действия" применяют:
- со знаками 1.12.1-1.19, 1.23, 1.25-1.33 для указания протяженности опасного участка, при наличии повторного знака табличку устанавливают под ним;
- со знаками 3.16, 3.20, 3.22, 3.24, 3.26 для указания зоны действия знака (зона действия знака, указанная на табличке, не должна превышать зону, установленную для этих знаков по 5.4.30);
- со знаком 5.16 для указания протяженности одного или нескольких расположенных друг за другом остановочных пунктов;
- со знаком 6.2, кроме случая, когда он установлен совместно с предупреждающим знаком, если действие знака 6.2 нет необходимости распространять до ближайшего перекрестка;
- со знаком 6.4, установленным с табличкой(ами), уточняющей(ими) или ограничивающей(ими) его действие, при этом табличку 8.2.1 размещают под другими табличками, если действие знака не распространяется до ближайшего перекрестка.
5.9.6 Таблички 8.2.2-8.2.6 "Зона действия" применяют со знаками 3.27-3.30, 6.4:
- табличку 8.2.2 - для указания зоны действия знака, если она не распространяется до ближайшего перекрестка;
- табличку 8.2.3 - для указания конца зоны действия знака;
- табличку 8.2.4 - для информирования водителей о нахождении их в зоне действия знака;
- таблички 8.2.5 и 8.2.6 - для указания зоны действия знака, справа и (или) слева от него, для обозначения парковки совместно со знаком 6.4 или запрещения остановки, или стоянки вдоль края проезжей части площади, фасада здания и т.п.
При размещении знаков на стойках таблички размещают под знаком. При размещении знаков на консольных опорах или над проезжей частью, обочиной или тротуаром таблички 8.2.2-8.2.4 размещают сбоку от знака (справа или слева) таким образом, чтобы знак находился ближе к середине проезжей части.

5.9.7 Таблички 8.3.1-8.3.3 "Направление действия" применяют со знаками 3.2-3.9, 5.1, 5.3, устанавливаемыми непосредственно перед перекрестком для указания направления их действия на пересекаемую дорогу, а также со знаком 1.32.
Табличку 8.3.1 применяют со знаками 4.4.1, 4.5.2, 4.5.4, 4.5.5, 5.14.2 для указания изменения направления полосы для велосипедистов, велосипедной или велопешеходной дорожки на перекрестке.
Допускается применение табличек 8.3.1 и 8.3.2 со знаком 6.4 для указания расположения парковки относительно дороги, если она удалена от края проезжей части не более чем на 10 м.
Допускается применение таблички 8.3.1 со светофором Т.9 или со светофорами Т.3 при наличии таблички 8.4.7.
5.9.8 Таблички 8.4.1, 8.4.2, 8.4.3.1, 8.4.3.2, 8.4.4-8.4.8 "Вид транспортного средства" применяют для указания вида транспортного средства, на который распространяется действие знака или светофора.
Таблички распространяют действие знака:
- 8.4.1 - на грузовые автомобили, в том числе и с прицепом, разрешенной максимальной массой более 3,5 т (если на табличке не указана масса) или с разрешенной максимальной массой более указанной на табличке;
- 8.4.2 - на грузовые автомобили или тракторы с прицепом или полуприцепом любого типа, а также на транспортные средства, буксирующие механические транспортные средства;
- 8.4.3.1 - на электромобили и гибридные автомобили, имеющие возможность зарядки от внешнего источника;
- 8.4.3.2 - на легковые автомобили, а также грузовые автомобили с разрешенной максимальной массой не более 3,5 т;
- 8.4.8 - на транспортные средства, обозначенные опознавательными знаками (информационными таблицами) "Опасный груз".
Табличка 8.4.7 распространяет действие светофора Т.3 на велосипедистов, а также на мопеды.
5.9.9 Таблички 8.4.9-8.4.15 "Кроме вида транспортного средства" применяют для указания вида транспортного средства, на который не распространяется действие знака.
Табличка 8.4.14 не распространяет действие знака на транспортные средства, используемые в качестве легкового такси.
Табличка 8.4.15 не распространяет действие знака на электромобили и гибридные автомобили, имеющие возможность зарядки от внешнего источника.
5.9.10 Таблички 8.5.1 "Субботние, воскресные и праздничные дни", 8.5.2 "Рабочие дни", 8.5.3 "Дни недели", 8.5.4-8.5.7 "Время действия" применяют для указания дней недели или времени суток, когда действует з
5.9.11 Таблички 8.6.1-8.6.9 "Способ постановки транспортного средства на стоянку" применяют со знаком 6.4 для указания способа постановки транспортных средств на парковке у края проезжей части около тротуара или на нем.
Табличка 8.6.1 указывает, что все транспортные средства должны быть поставлены на парковке на проезжей части вдоль края проезжей части.
Таблички 8.6.2-8.6.9 указывают способ постановки легковых автомобилей и мотоциклов на парковку.
5.9.12 Табличку 8.7 "Стоянка с неработающим двигателем" применяют со знаком 6.4 для запрещения стоянки транспортных средств с работающим двигателем.
5.9.13 Табличку 8.8 "Платные услуги" применяют со знаком 6.4, установленным у парковки, за пользование которой взимается плата, а также с другими знаками для информирования о взимании платы за проезд или какие-либо услуги.
5.9.14 Табличку 8.9.1 "Ограничение продолжительности стоянки" применяют со знаком 6.4 для указания максимальной продолжительности пребывания транспортного средства на парковке у объектов массового кратковременного посещения (торговых, зрелищных, спортивных и т.п.).
5.9.15 Табличку 8.9.2 "Стоянка только для владельцев парковочных разрешений" применяют со знаком 6.4 для указания парковки, где разрешена стоянка только для владельцев, имеющих разрешения на стоянку, полученные в порядке, установленном органами исполнительной власти субъекта Российской Федерации или органами местного самоуправления.
5.9.16 Табличку 8.9.3 "Стоянка только транспортных средств дипломатического корпуса" применяют со знаком 6.4 для указания парковки, где разрешена стоянка только транспортным средствам аккредитованных дипломатических представительств, консульских учреждений, международных (межгосударственных) организаций и представительств таких организаций, имеющие государственные регистрационные знаки, применяемые для обозначения таких транспортных средств.
5.9.17 Табличку 8.10 "Место для осмотра автомобилей" применяют со знаками 6.4 и 7.11 для указания наличия эстакады или смотровой канавы на парковке или в местах отдыха.
5.9.18 Табличку 8.11 "Ограничение разрешенной максимальной массы" применяют для указания, что действие знака распространяется только на транспортные средства с разрешенной максимальной массой более указанной на табличке.
5.9.19 Табличку 8.12 "Опасная обочина" применяют со знаком 1.25, если работы проводят на обочине или обочину используют для складирования строительных материалов и (или) размещения строительной техники.
5.9.20 Табличку 8.13 "Направление главной дороги" применяют со знаками 2.1, 2.4, 2.5 для указания направления главной дороги на перекрестке, где она изменяет свое направление.
При размещении знаков на стойках табличку размещают под знаком. При размещении знаков на консольных опорах или над проезжей частью, обочиной или тротуаром табличку помещают справа от знака.
5.9.21 Табличку 8.14 "Полоса движения" применяют для указания полосы движения или полосы для велосипедистов, на которую распространяется действие знака или светофора, при этом знак располагают над полосой движения или полосой для велосипедистов.
При совместном применении знаков 3.1 и 5.14.1 с табличкой 8.14 она уточняет действие обоих знаков.
5.9.22 Табличку 8.15 "Слепые пешеходы" применяют совместно со знаками 1.22, 5.19.1, 5.19.2 перед пешеходными переходами, расположенными в непосредственной близости от объектов, которые посещают слепые и слабовидящие.

5.9.23 Табличку 8.16 "Влажное покрытие" применяют со знаками 1.15, 3.20, 3.22, 3.24 для указания, что действие знака распространяется только на период времени, когда покрытие проезжей части влажное.
5.9.24 Табличку 8.17 "Инвалиды" применяют совместно со знаком 6.4 для указания, что парковка (парковочное место) отведена для стоянки автомобилей, на которых установлен опознавательный знак "Инвалид".
5.9.25 Табличку 8.18 "Кроме инвалидов" применяют для указания, что действие знака не распространяется на транспортные средства, управляемые инвалидами I и II групп или перевозящие таких инвалидов.

5.9.26 Табличку 8.19 "Класс опасного груза" применяют со знаками 3.32, 3.33, 4.8.1-4.8.3 для указания, что действие знаков распространяется на транспортные средства, перевозящие опасный груз приведенного на табличке номера класса(ов) по ГОСТ 19433.
5.9.27 Таблички 8.20.1 и 8.20.2 "Тип тележки транспортного средства" применяют со знаком 3.12 для указания числа сближенных осей транспортного средства, для каждой из которых приведенная на знаке масса является предельно допустимой.
5.9.28 Таблички 8.21.1-8.21.3 "Вид маршрутного транспортного средства" применяют со знаком 6.4 для указания парковки для стоянки транспортных средств у станции метро, остановки автобуса и (или) троллейбуса, трамвая.
5.9.29 Таблички 8.22.1-8.22.3 "Препятствие" применяют со знаками 4.2.1-4.2.3 для лучшей ориентации водителей при объезде препятствия.
Табличку 8.22.1 со знаком 4.2.1 применяют:
- в местах начала конструктивно выделенной разделительной полосы, разделяющих транспортные потоки противоположных направлений;
- на конструктивно выделенных направляющих островках.
Таблички 8.22.1 и 8.22.2 применяют соответственно со знаками 4.2.1 и 4.2.2 перед препятствиями, расположенными на проезжей части или вблизи от нее и представляющими опасность для движущегося транспортного средства.
Табличку 8.22.3 со знаком 4.2.3 применяют:
- в местах начала конструктивно выделенной разделительной полосы, разделяющих транспортные потоки одного направления;
- на конструктивно выделенных направляющих островках.
Таблички 8.22.1-8.22.3 располагают под предписывающими знаками на высоте от 0,5 до 1,0 м.
Таблички уменьшенного размера по ГОСТ Р 52290 допускается устанавливать в населенных пунктах при наличии искусственного освещения.
Если знаки 4.2.1-4.2.3 устанавливают на тумбах с искусственным освещением, таблички 8.22.1-8.22.3 не применяют.
5.9.30 Табличку 8.23 «Фотовидеофиксация» применяют со знаками 1.1, 1.2, 1.8, 1.22, 2.5, 3.1 — 3.7, 3.18.1, 3.18.2, 3.19, 3.20, 3.22, 3.24, 3.27—3.30, 3.34, 5.1—5.4, 5.14.1, 5.14.2, 5.19.1, 5.19.2, 5.21, 5.23.1—5.27, 5.31,7.14.1 и 7.14.2, а также со светофорами для информирования о возможной фиксации нарушений [1], а также иных правонарушений в области дорожного движения средствами автоматической фиксации* на данном участке дороги (территории).
* - Средства автоматической фиксации — работающие в автоматическом режиме специальные технические средства, имеющие функции фото- и киносъемки, видеозаписи, предназначенные для обеспечения контроля за дорожным движением в режиме непрерывной работы, являющиеся элементами обустройства автомобильных дорог и размещаемые стационарно на стойках, опорах и других конструкциях.
В случае осуществления фиксации нарушений [1], связанных с режимами движения, введенными разметками 1.1—1.3 и 1.11, табличку 8.23 допускается применять самостоятельно и устанавливать до начала зоны контроля вне населенных пунктов на расстоянии не менее 300 м, а в населенных пунктах — на расстоянии не менее 100 м.
5.9.31 Табличку 8.24 "Работает эвакуатор" применяют совместно со знаками 3.27-3.30, 5.27 для информирования о возможном задержании транспортного средства и помещении его на специализированную стоянку.

5.9.32 Табличку 8.25 "Экологический класс транспортного средства" применяют для распространения действия знака на транспортные средства с экологическим классом, соответствующим или ниже (выше) указанного на табличке, или экологический класс которых не указан в регистрационных документах на эти транспортные средства.
Табличку 8.25 применяют со знаками 3.2-3.6, 4.1.1-4.1.6, 3.18.1, 3.18.2 для распространения действия знака на транспортные средства с экологическим классом ниже указанного на табличке или экологический класс которых не указан в регистрационных документах на эти транспортные средства.
Табличку 8.25 применяют со знаками 5.29, 5.30, 6.4 для распространения действия знака на транспортные средства с экологическим классом, соответствующим или выше указанного на табличке, или, экологический класс которых не указан в регистрационных документах на эти транспортные средства.
5.9.33 Табличку 8.26 "Зарядка электромобилей" применяют со знаками 7.4, 7.5, 7.7, 7.9-7.11 для информирования о возможности зарядки электромобилей.
6 Правила применения дорожной разметки
6.1 Общие требования
6.1.1 Номера и изображения линий разметки приведены в приложении Г.
6.1.2 Разметка, в том числе временная, должна соответствовать требованиям ГОСТ 32953 и ГОСТ Р 51256и в процессе эксплуатации отвечать требованиям ГОСТ 33220и ГОСТ Р 50597.
Значения коэффициента яркости разметки , удельных коэффициентов световозвращения при сухом и мокром покрытии , и удельного коэффициента светоотражения при диффузном дневном или искусственном освещении выбирают в зависимости от категорий дорог и улиц по таблицам 7 и 8.
Значение коэффициента для вертикальной разметки, выполненной красками (эмалями), выбирают в зависимости от категорий дорог и улиц по таблице 7 для цементобетонного покрытия.
Тип пленки для вертикальной разметки, выполненной световозвращающей пленкой, выбирают в зависимости от дорожных условий по 5.1.17.
При нанесении линий горизонтальной разметки расстояние для обеспечения водоотвода между поперечными шумовыми полосами и разметкой должно составлять (0,05±0,01) м.
Таблица 7
Категории дорог и улиц | Разметка белого цвета Классы по ГОСТ Р 51256 |
|||||||||||||||
Асфальтобетонное покрытие | Цементобетонное покрытие | |||||||||||||||
Без искуственного освещения | C искуственным освещением | Без искуственного освещения | C искуственным освещением | |||||||||||||
βν, % |
RL | RW | Qd | βν, % |
RL | RW | Qd | βν, % |
RL | RW | Qd | βν, % |
RL | RW | Qd | |
мкд . лк-1 . м-2 | мкд . лк-1 . м-2 | мкд . лк-1 . м-2 | мкд . лк-1 . м-2 | |||||||||||||
Дороги категории I, магистральные городские дороги скоростного движения, магистральные улицы общегородского значения непрерывного движения | 60 B5 (50) B4 |
200 R4 (300) R5 |
35 RW2 (50) RW3 |
130 Q3 |
50 B4 |
200 R4 |
35 RW2 |
160 Q4 |
60 B5 |
200 R4 |
35 RW2 |
160 Q4 (200) Q5 |
60 B5 |
200 R4 |
35 RW2 |
160 Q4 |
Дороги категории II, магистральные городские дороги регулируемого движения и магистральные улицы регулируемого движения | 40 B3 |
200 R4 |
35 RW2 |
100 Q2 |
40 B3 |
150 R3 |
130 Q3 |
50 B4 |
150 R3 |
130 Q3 |
50 B4 |
150 R3 |
130 Q3 |
|||
Дороги категории III, магистральные улицы районного значения | 30 B2 |
100 R2 |
25 RW1 |
30 B2 |
100 R2 |
25 RW1 |
100 Q2 |
40 B3 |
25 RW1 |
40 B3 |
100 R2 |
25 RW1 |
||||
Дороги категории IV, улицы и дороги местного значения с регулярным движением транспортных средств, парковые дороги, проезды | 100 R2 |
|||||||||||||||
Примечание 1. В скобках указаны значения для автомобильных дорог, обозначенных знаком 5.1 «Автомагистраль» 2. Для автомобильных дорог категории IV, улиц и дорог местного значения без регулярного движения маршрутных транспортных средств, на улицах и дорогах сельских поселений параметры не нормируют. |
Таблица 8
Категории дорог и улиц | Разметка желтого цвета Классы по ГОСТ Р 51256 |
Разметка оранжевого цвета Классы по ГОСТ Р 51256 |
||||||||||
Без искусственного освещения | С искусственным освещением | |||||||||||
Βν, % | RL | RW | Qd | Βν, % | RL | RW | Qd | Βν, % | RL | RW | Qd | |
мкд · лк-1· м-2 | мкд · лк-1· м-2 | мкд · лк-1· м-2 | ||||||||||
Дороги категории I, магистральные городские дороги скоростного движения, магистральные улицы общегородского значения непрерывного движения | 40 B3 |
150 R3 |
35 RW2 |
100 Q2 |
40 B3 |
150 R3 |
35 RW2 |
100 Q2 |
30 B2 |
150 R3 |
35 RW2 |
100 Q2 |
Дороги категории II, магистральные городские дороги регулируемого движения и магистральные улицы регулируемого движения | 30 B2 |
80 Q1 |
30 B2 |
80 R1 |
25 RW1 |
100 R2 |
25 RW1 |
|||||
Дороги категории III, магистральные улицы районного значения | 80 R1 |
25 RW1 |
80 Q1 |
20 B1 |
80 R1 |
80 Q1 |
||||||
Дороги категории IV, улицы и дороги местного значения, парковые дороги, проезды, улицы и дороги сельских поселений | 20 B1 |
20 B1 |
||||||||||
Примечание - Значения коэффициентов RL, RWи Qd для разметки красного, синего, зеленого и черного цветов не нормируются. |
6.1.3 При разметке дорог ширину полосы движения определяют по расстоянию между осями линий разметки*, обозначающих ее границы. Ширина размечаемой полосы движения должна быть не менее 3,00 м. Допускается уменьшать ширину полосы, предназначенной для движения легковых автомобилей, до 2,75 м при условии введения необходимых ограничений режима движения.
* - Оси разметки по ГОСТ 32952, кроме случаев применения линии разметки 1.11 вместо линии разметки 1.3 по 6.2.13.
6.1.4 На цементобетонных покрытиях допускается наносить продольную линию разметки, разделяющую транспортные потоки попутного направления, рядом с температурным швом с левой стороны по ходу движения, а разделяющую потоки встречного направления - с любой стороны шва. Аналогичным образом наносят продольные линии разметки около технологических швов асфальтобетонных покрытий.
Допускается продольное смещение горизонтальных разметок 1.18, 1.19, 1.23.1, 1.24.1, 1.24.2, 1.24.4 относительно друг друга и другой горизонтальной разметки в случае их наложения в результате расчета их проектного положения, при этом расстояние между этими разметками должно составлять от 2 до 5 м.
Допускается наложение линий разметок 1.18, 1.19, 1.23.1, 1.24.1, 1.24.2, 1.24.4 на разметку 1.17.1 при расчете их проектного положения.
На крыши люков колодцев и решетки дождеприемников горизонтальную разметку не наносят.
6.2 Горизонтальная разметка
6.2.1 Горизонтальную разметку наносят на дорожные одежды капитального и облегченного (асфальтобетонного вида) типов, кроме случаев, оговоренных настоящим стандартом.
Линии разметки 1.1, 1.3, 1.5, 1.6, 1.9, 1.11 наносят материалами и (или) изделиями белого цвета.
На линиях разметки 1.1-1.4, 1.11 толщиной 1,5 мм и более допускаются технологические разрывы длиной не более 0,05 м с расстоянием между ними не менее 20 м.
Допускается применять линии разметки 1.1-1.12, 1.14.1, 1.14.2 со структурной и профильной поверхностью, при этом ее внешние границы не должны выходить за пределы, установленные ГОСТ Р 51256.
Действие линий разметки 1.1-1.3, 1.5-1.9, 1.11 по [1].
6.2.2 В населенных пунктах горизонтальную разметку применяют на магистральных городских дорогах, магистральных улицах, улицах и дорогах местного значения, а в сельских поселениях - на улицах и дорогах, по которым осуществляется движение маршрутных транспортных средств.
Вне населенных пунктов горизонтальную разметку применяют на дорогах, по которым осуществляется движение маршрутных транспортных средств, а также на дорогах с проезжей частью шириной не менее 6 м при интенсивности движения 1000 авт./сут** и более.
** - Здесь и далее единицу величины авт./сут (авт./ч) применяют к интенсивности, измеряемой в натуральных (физических) транспортных единицах, единицу величины ед./сут (ед./ч) - к интенсивности, измеряемой в приведенных транспортных единицах. Коэффициенты приведения - по СП 34.13330.
Разметку допускается применять и на других дорогах, когда это необходимо для обеспечения безопасности дорожного движения.
6.2.3 Разметку 1.1 применяют в нижеперечисленных случаях:
а) для разделения потоков транспортных средств, движущихся в противоположных направлениях на дорогах, имеющих две или три полосы для движения в обоих направлениях:
- на участках дорог, где зоны с видимостью встречного автомобиля менее допустимой*** (таблица 4) перекрывают друг друга (рисунок В.6а);
- на всем протяжении кривых в плане, радиус которых не превышает 50 м, а также на примыкающих к ним участках с переменным радиусом.
*** - На участке дороги с ограниченной видимостью встречного автомобиля могут быть две зоны, где видимость менее допустимой (таблица 4), одна из которых наблюдается при движении в одном направлении, а другая - при движении в противоположном направлении.
На дорогах, имеющих две полосы, разметку наносят так, чтобы было выдержано отношение ширины внутренней полосы к внешней в соответствии с таблицей 9.
Таблица 9 - Отношение ширины полос движения на кривых в плане
Радиус по внутренней кромке проезжей части, м | 10-15 | 15-20 | 20-30 | 30-50 | Св. 50 |
Отношение ширины внутренней полосы проезжей части к ширине внешней полосы | 1,4 | 1,3 | 1,2 | 1,1 | 1,0 |
На дорогах, имеющих три полосы, данное отношение принимают для крайних полос, а средняя полоса в этом случае может использоваться как разделительная или для движения в направлении, для которого предназначена внешняя полоса;
- перед перекрестками при интенсивности движения по пересекающей дороге не менее 50 авт./сут. Разметку наносят на протяжении не менее чем 20 (40)* м от края пересекающей проезжей части (рисунок В.7);
- перед железнодорожными переездами - на протяжении 100 м от ближнего рельса;
- на участках дорог, где не обеспечено расстояние видимости встречного автомобиля, - в соответствии с таблицей 4;
- перед препятствием (опорой путепровода, островком безопасности и т.п.), находящимся ближе 0,3 м от границы полосы движения либо сужающим полосу, а также при уменьшении числа полос в данном направлении с наклоном к оси дороги не более 1:20 (1:50) (переходная линия). На дорогах с тремя полосами для движения в обоих направлениях допускается наносить две параллельные переходные линии на расстоянии не менее 20 (40) м (рисунок В.8а);
- перед пешеходными переходами, искусственными неровностями, пересечениями с велосипедными дорожками, разметкой 1.3 - на расстоянии 20 (40) м (рисунки В.7, В.8б, В.10, В.21);
- на участках дорог с тремя полосами для движения в обоих направлениях; протяженность участков дороги с соотношением числа полос движения во встречных направлениях (2:1 или 1:2) определяют с учетом продольного и поперечного профилей дороги, организации левых поворотов;
- на перекрестках для запрещения левых поворотов;
- на участках дорог с полосой для маршрутных транспортных средств или с полосой для велосипедистов, движущихся навстречу общему потоку транспортных средств;
- на мостовых сооружениях и под ними, а также в тоннелях;
* - Здесь и далее первое значение используют для разметки на дорогах с допускаемой скоростью движения не более 60 км/ч, значение в скобках - при скорости более 60 км/ч.
б) для обозначения границ полос движения на дорогах с двумя и более полосами для движения в одном направлении:
- перед искусственными неровностями, а также перед перекрестками, пешеходными переходами и железнодорожными переездами - не менее чем за 20 (40) м от линий разметки 1.12 или 1.13 (рисунки В.9, В.10), а при их отсутствии - от ближайшей границы пересекаемой проезжей части, пешеходного перехода, искусственной неровности и от ближнего рельса железнодорожного переезда. При организации движения с разнесенными стоп-линиями допускается уменьшать протяженность линии 1.1 до 5 м перед разметкой 1.12 (рисунок В.9);
- на участках дорог с полосой для маршрутных транспортных средств (рисунок В.11а) или с полосой для велосипедистов, движущихся попутно общему потоку транспортных средств;
- на перекрестках для запрещения перестроения транспортных средств, движущихся в попутном направлении;
в) для обозначения границ парковочных мест на площадках, предназначенных для стоянки транспортных средств, или около края проезжей части (рисунки В.13а, б). Размеры парковочных мест принимают по 6.2.9;
г) для обозначения границы разделения велосипедной и пешеходной дорожек на велопешеходной дорожке, обозначенной знаками 4.5.4 и 4.5.5.
6.2.4 Разметку 1.2 применяют для обозначения:
- края проезжей части на участках дорог без бордюрного камня;
- для обозначения границ участков проезжей части, на которые въезд запрещен (разделительные полосы, направляющие островки, островки безопасности) (рисунок В.12).
Допускается наносить разметку 1.2 на участках дорог вдоль бордюрного камня на расстоянии от него от 0,1 до 0,2 м при отсутствии на нем разметки 2.7.
Разметку наносят на расстоянии от 0,1 до 0,2 м от кромки проезжей части без укрепленной полосы как со стороны обочины, так и со стороны разделительной полосы. При наличии укрепленной полосы разметку наносят по границе между проезжей частью и укрепленной полосой.
Вдоль тросовых ограждений, установленных для разделения транспортных средств противоположных направлений, разметку наносят на всем их протяжении, на расстоянии не менее 0,5 м от оси ограждения с каждой его стороны (рисунок В.28л).
Разметку 1.2 допускается применять для обозначения разделительной полосы шириной не менее 0,5 м, предназначенной для отделения полосы для велосипедистов или полосы для маршрутных транспортных средств от общего потока транспортных средств (рисунки В.11б, В.13б, В.14).
6.2.5 Разметку 1.3 применяют для разделения транспортных потоков противоположных направлений на участках дорог, имеющих четыре и более полосы движения в обоих направлениях, включая переходно-скоростные и дополнительные полосы (рисунок В.9).
Допускается наносить разметку 1.3 на дорогах с двумя или тремя полосами для движения в обоих направлениях при ширине полос более 3,75 м, а также на участках дорог с полосой для маршрутных транспортных средств, движущихся навстречу общему потоку транспортных средств.
6.2.6 Разметку 1.4 применяют на участках дорог, где запрещена остановка транспортных средств.
Разметку наносят на расстоянии от 0,1 до 0,2 м от кромки проезжей части, при наличии краевой линии - вместо нее (рисунок В.13а).
Разметку допускается не наносить в местах, где остановка запрещена в соответствии с [1] (пункты 12.4 и 16.1).
6.2.7 Разметку 1.5 применяют:
- для разделения транспортных потоков противоположных направлений на дорогах, имеющих две полосы движения в обоих направлениях (рисунок В.14), на участках дорог, где зоны с видимостью встречного автомобиля менее допустимой (таблица 4) не перекрывают друг друга (рисунок В.6б), кроме случаев, указанных в 6.2.3 и 6.2.13;
- обозначения границ полос движения при их числе две или более для одного направления (рисунки В.10, В.11а, б), кроме случаев, указанных в 6.2.3 и 6.2.13.
6.2.8 Разметку 1.6 применяют для предупреждения о приближении к разметке 1.1 или 1.11 (со стороны сплошной линии), разделяющей потоки транспортных средств, движущихся в противоположных (рисунки В.6а, б - В.8б) или попутных направлениях (рисунки В.8а, В.9, В.10). Разметку 1.6 наносят на расстоянии не менее 50 (100) м перед разметкой 1.1 или 1.11 (рисунки В.7, В.21).
6.2.9 Разметку 1.7 применяют:
а) белого цвета - для обозначения границ полос движения в пределах перекрестка в случаях, когда необходимо показать траекторию движения транспортных средств или обозначить границы полосы движения (рисунок В.9);
б) белого или синего цвета - для обозначения границ площади, выделенной для двух и более парковочных мест (рисунок В.13а). Линию разметки 1.7 синего цвета наносят по границе площади, выделенной под платную парковку.
Для расчета размеров площади парковки около края проезжей части принимают размеры одного парковочного места:
- при последовательном размещении автомобилей вдоль края проезжей части не менее 2,5x7,5 м (2,5x6,5 м)* для легковых и 3,0x11,0 м - для грузовых автомобилей без прицепов;
- при косом размещении автомобилей - в соответствии с ГОСТ 33062.
* - Допускается при минимальной ширине проезда не менее 3,0 м.
Минимальные размеры одного парковочного места для транспортных средств, управляемых инвалидами I и II групп или перевозящих таких инвалидов, должны быть не менее 3,6x7,5 м при последовательном размещении автомобилей и 3,6x6,0 м - при параллельном.
При обозначении границ площади парковки разметкой 1.7 отдельные парковочные места на этой площади (кроме мест для инвалидов) допускается не выделять.
6.2.10 Разметку 1.8 применяют для обозначения границы между полосой разгона или торможения и основной полосой движения (рисунок В.16). Ширина разметки должна быть 0,4 м на дорогах, обозначенных знаком 5.1 "Автомагистраль" и 0,2 м - на других дорогах.
6.2.11 Разметку 1.9 применяют:
- для обозначения границ полос, направление движения по которым меняется на противоположное (рисунок В.17);
- разделения потоков транспортных средств противоположных направлений (при выключенных реверсивных светофорах) на участках дорог, где используется реверсивное регулирование (рисунок В.17).
6.2.12 Разметку 1.10 применяют на участках дорог, где необходимо запретить стоянку транспортных средств (рисунок В.13а). Разметку наносят на расстоянии от 0,1 до 0,2 м от края проезжей части, при наличии краевой линии разметки - вместо нее.
Разметку допускается не наносить в местах, где стоянка запрещена в соответствии с [1] (пункт 12.5).
6.2.13 Разметку 1.11 применяют для разделения потоков транспортных средств противоположных или попутных направлений при необходимости запрещения перестроения транспортных средств.
Для разделения потоков транспортных средств противоположных направлений разметку наносят на участках дорог с двумя полосами движения в обоих направлениях с необеспеченной видимостью встречного автомобиля (таблица 4), где зоны с видимостью менее допустимой не перекрывают друг друга (рисунок В.6б). Разметка должна быть обращена сплошной линией в сторону полосы, на которой на данном участке находится зона с видимостью менее допустимой.
Допускается применять разметку для разделения потоков транспортных средств противоположных направлений вместо линии 1.1 на расстоянии не менее 20 (40) м после пешеходных переходов, переездов для велосипедистов, перекрестков при интенсивности движения менее 3000 ед./сут, а также после железнодорожных переездов на расстоянии 100 м от ближнего рельса. При этом разметка сплошной линией должна быть обращена в сторону полосы, по которой движение осуществляется в направлении указанных участков дорог (рисунок В.18).
Для разрешения поворота налево и разворота вместо разметки 1.3 применяют разметку 1.11, при этом разметка сплошной линией должна быть обращена в сторону полосы, с которой указанные маневры запрещены.
Разметку для разделения потоков транспортных средств попутных направлений наносят:
- когда необходимо исключить возможность перестроения на ближайшую правую или левую полосу движения, обозначить места въезда на прилегающую территорию и выезда с нее (рисунки В.11а, б, В.13а, В.14);
- на участках полосы для маршрутных транспортных средств перед примыканием (пересечением) на протяжении от 40 до 60 м, оканчивая ее не менее чем за 5 м до границы примыкающей проезжей части, сплошной линией в сторону полосы для маршрутных транспортных средств (рисунки В.11а,б);
- после примыкания, не менее чем через 5 м от границы примыкающей проезжей части, на протяжении от 20 до 40 м вдоль полосы для маршрутных транспортных средств, сплошной линией в сторону соседней полосы (рисунки В.11а, б).
Длины штриха и промежутка между штрихами разметки 1.11 должны быть такими же, как у предшествующей ей линии приближения 1.6, а при ее отсутствии могут быть уменьшены соответственно до 0,9 и 0,3 м.
6.2.14 Разметку 1.12 применяют перед перекрестком при наличии знака 2.5 "Движение без остановки запрещено", в местах, где движение регулируется светофором, а также перед железнодорожными переездами (рисунки В.7, В.9, В.18) и пунктами взимания платы за проезд по платным дорогам.
Разметку наносят перед перекрестком при наличии знака 2.5 на расстоянии не более 1 м от границы пересекающей проезжей части.
Разметку 1.12 наносят на расстоянии от 10 до 20 м от основного светофора Т.1 или Т.2 при расположении светофора над проезжей частью и от 3 до 10 м - при расположении сбоку от проезжей части для обеспечения видимости их сигналов. Допускается уменьшать указанные расстояния до 5 м и 1 м соответственно при наличии светофоров Т.3 любых исполнений (рисунок В.20).
При наличии регулируемого пешеходного перехода разметку наносят на расстоянии не менее 1 м перед переходом (рисунок В.20).
На железнодорожных переездах разметку 1.12 наносят на расстоянии 5 м от шлагбаума или светофора, а при их отсутствии - на расстоянии 10 м от ближнего рельса в одном створе со знаками 2.5 и 6.16 (рисунок В.18).
На пунктах взимания платы за проезд по платным дорогам разметку наносят на расстоянии не менее 1 м перед шлагбаумом.
6.2.15 Разметку 1.13 применяют для обозначения места остановки транспортных средств при наличии знака 2.4 "Уступите дорогу" и наносят как можно ближе к границе пересекаемой проезжей части (рисунок В.10).
6.2.16 Разметку 1.12 и 1.13 наносят по всей ширине проезжей части данного направления движения или на каждой полосе движения.
Разметку 1.12 и 1.13 наносят под прямым углом к оси полосы движения (рисунки В.7, В.9, В.10).
6.2.17 Разметку 1.14.1 и 1.14.2 применяют для обозначения мест, выделенных для пересечения проезжей части пешеходами.
Ширину размечаемого пешеходного перехода определяют по интенсивности пешеходного движения из расчета 1 м на каждые 500 пеш./ч, но не менее 4 м.
Разметку 1.14.1 применяют на пешеходных переходах, ширина которых не превышает 6 м. При ширине пешеходного перехода более 6 м применяют разметку 1.14.2.
Линии разметки 1.14.1 и 1.14.2 наносят параллельно оси проезжей части (допускается угол между осями перехода и проезжей части не менее 85°) (рисунок В.7).
Разметку 1.14.3 применяют для обозначения диагональных пешеходных переходов на регулируемых перекрестках (рисунок В.19).
Между линиями разметки 1.14.1 и 1.14.2 допускается устраивать желтое заполнение по ГОСТ Р 51256 (рисунок В.19).
На трамвайных путях между рельсами наносят разметку 1.14.1 и 1.14.2 в случаях, если межрельсовый настил имеет покрытие по 6.2.1.
6.2.18 Разметку 1.15 применяют для обозначения мест пересечения велосипедной дорожки с проезжей частью (рисунки В.10, В.13б).
Ширина переезда для велосипедистов должна быть равна ширине велосипедной дорожки.
6.2.19 Разметку 1.16.1-1.16.3 применяют для обозначения направляющих островков:
- 1.16.1 - в местах разделения потоков транспортных средств противоположных направлений;
- 1.16.2 - в местах разделения потоков транспортных средств одного направления;
- 1.16.3 - в местах слияния потоков транспортных средств (рисунок В.12).
Ширину линии разметки, ограничивающая разметку 1.16.1-1.16.3, принимают равной ширине линии сопрягающейся с ней разметки.
На островках, имеющих большую площадь, разметку 1.16.1-1.16.3 допускается выполнять на концевых участках островка (не менее трех линий) и на расстоянии 1,0 м от его границы (рисунок В.12). При небольшой площади островка допускается нанесение разметки по всей его поверхности (рисунок В.14).
Разметку 1.16.1 применяют для обозначения островков безопасности на пешеходных переходах.
Разметку 1.16.1 допускается применять для обозначения разделительной полосы, предназначенной для отделения полосы для велосипедистов или полосы для маршрутных транспортных средств от общего потока встречных транспортных средств, 1.16.2 - попутных транспортных средств (рисунки В.11б и В.13б) или парковки.
6.2.20 Разметку 1.17.1 применяют для обозначения остановок маршрутных транспортных средств и стоянок транспортных средств, используемых в качестве легковых такси (рисунок В.15). Протяженность разметки определяют с учетом числа одновременно останавливающихся или стоящих транспортных средств, но не менее длины посадочной площадки.
Разметку 1.17.2 применяют для обозначения остановок трамвая при прохождении путей посередине проезжей части и отсутствии приподнятой площадки у рельсов. Разметку 1.17.2 наносят вначале и в конце остановочного пункта поперек проезжей части от тротуара до ближайшего к нему рельса или от разметки 1.2, обозначающей край проезжей части (рисунок В.15).
6.2.21 Разметку 1.18 применяют самостоятельно или в сочетании со знаками 5.15.1, 5.15.2 для указания разрешенных на перекрестке направлений движения по полосам (рисунки В.9, В.10, В.16).
Последовательно наносят две (три) или более стрел с расстоянием между ними от 20 до 30 м. Основание стрелы, ближайшей к перекрестку, должно быть на уровне начала разметки 1.1, разделяющей потоки транспортных средств попутного направления.
Разметку с изображением тупика наносят перед пересечениями дорог с проезжими частями, разделенными бульваром, либо разделительной полосой, когда поворот на ближайшую проезжую часть запрещен (рисунок В.10). Разметку не наносят, если ширина бульвара или разделительной полосы позволяет нанести стрелы в пределах перекрестка в соответствии с условиями, приведенными в настоящем пункте.
6.2.22 Разметку 1.19 применяют для предупреждения о приближении:
- к концу полосы (рисунки В.8а, В.10);
- к разметке 1.1 или 1.11, разделяющей потоки транспортных средств противоположных направлений в сочетании с разметкой 1.6 при ограниченной видимости встречного автомобиля (рисунки В.6а, б, В.18).
При предупреждении о приближении к концу полосы должны последовательно наноситься две (три) или более стрелы с расстояниями между ними 10, 20, 30 м и т.д. (20, 40, 60 м и т.д.). Расстояния указаны между основаниями стрел, начиная от последней стрелы по ходу движения. Расстояние между основанием последней по ходу движения стрелы и началом переходной линии или началом отгона полосы разгона должно быть 20 (40) м.
Если вне населенного пункта длина полосы разгона полной ширины менее 100 м, допускается наносить две стрелы.
Разметку 1.19 наносят на полосе для маршрутных транспортных средств или для велосипедистов, обозначенных знаком 5.14.1 или 5.14.2, после всех примыканий, с которых возможен выезд на эту полосу. Последовательно наносят две стрелы с расстоянием между ними 10 м. Основание первой по ходу движения стрелы должно совпадать с началом разметки 1.11 (рисунки В.11а, б).
6.2.23 Разметку 1.20 применяют для предупреждения о приближении к разметке 1.13 на дорогах с интенсивностью движения более 3000 авт./сут и наносят на каждой полосе движения.
Расстояние между основанием треугольника разметки 1.20 и разметкой 1.13 должно составлять от 2 до 10 м (от 10 до 25 м) (рисунок В.10).
6.2.24 Разметку 1.21 применяют для предупреждения о приближении к разметке 1.12 на дорогах с интенсивностью движения более 3000 авт./сут, если установлен знак 2.5 "Движение без остановки запрещено", и наносят на каждой полосе движения.
Расстояние между разметкой 1.21 и 1.12 должно составлять от 2 до 10 м (от 10 до 25 м) (рисунок В.7).
6.2.25 Разметку 1.22 применяют на дорогах с интенсивностью движения более 3000 авт./сут для обозначения номера дороги, утвержденного в установленном порядке.
Разметку наносят посередине каждой полосы движения, соответствующей направлению дороги (маршрута), перед перекрестком и за ним, когда маршрут в месте пересечения с другой дорогой меняет свое направление.
Перед перекрестком разметку 1.22 применяют с разметкой 1.18. При этом разметку 1.22 наносят на расстоянии от 1 до 5 м перед разметкой 1.18 (рисунок В.16).
Если на перекрестке маршрут меняет свое направление и на полосе движения нанесена разметка 1.18 с несколькими направлениями движения, то номер маршрута допускается наносить под боковой стрелкой разметки 1.18 шрифтом уменьшенного размера.
6.2.26 Разметку 1.23.1 наносят на дорогах (полосах), обозначенных знаками 5.11.1, 5.14.1, на полосы, предназначенные для движения маршрутных транспортных средств и иных транспортных средств в соответствии с [1] (рисунок В.11а, б).
Разметку наносят по оси полосы движения основанием в сторону движущихся по ней транспортных средств. После примыкания первую разметку наносят после разметки 1.11 на расстоянии 10 м, а через 20 м - вторую. При совместном применении разметки 1.23.1 с разметкой 1.23.3 на полосах, обозначенных знаком 5.14.1, вторые разметки 1.23.1 и 1.23.3 через 20 м не наносят (рисунок В.11а, б).
Разметку повторяют через 15 м после мест остановки маршрутных транспортных средств и через каждые 200 м на перегоне. В зависимости от длины перегона это расстояние может быть уменьшено.
Разметку допускается применять самостоятельно непосредственно в начале полосы торможения пунктов маршрутных транспортных средств (рисунок В.14).
6.2.27 Разметку 1.23.2 наносят на дорожках, обозначенных знаками 4.5.1, 4.5.2, 4.5.4, 4.5.5.
Разметку наносят по оси дорожки основанием в сторону движущихся по ней пешеходов в ее начале и повторяют:
- через 20 м после начала дорожки;
- после каждого перекрестка, выезда с прилегающей территории, пересечения с пешеходной, велосипедной или велопешеходной дорожкой;
- на перегонах длиной 500 м и более - через 200 м.
6.2.28 Разметку 1.23.3 наносят на дорожках или полосах, обозначенных знаками 4.4.1, 4.5.2, 4.5.4, 4.5.5, 5.11.2 и 5.14.2.
Разметку наносят по оси дорожки (полосы) основанием в сторону движущихся по ней велосипедистов или мопедов в ее начале и повторяют:
- через 20 м после начала дорожки;
- после каждого перекрестка, выезда с прилегающей территории, пересечения с пешеходной, велосипедной или велопешеходной дорожкой;
- на перегонах длиной 500 м и более - через 200 м.
Разметку 1.23.3 допускается наносить на полосах, обозначенных знаками 5.11.1, 5.14.1, перед разметкой 1.23.1 по ходу движения на расстоянии 5 м (рисунки В.11а, б).
6.2.29 Разметку 1.24.1 и 1.24.2 допускается применять для дублирования дорожных знаков:
- 1.24.1 - для дублирования предупреждающих знаков;
- 1.24.2 - для дублирования запрещающих знаков (рисунок В.21).
Разметку 1.24.1 наносят на расстоянии от 20 до 30 м после места установки соответствующего предупреждающего знака, разметку 1.24.2 - в том же поперечном сечении дороги, что и соответствующий запрещающий знак.
Допускается разметку 1.24.2 наносить после перекрестков в зоне действия ограничения скорости, введенного знаком 5.31.
На многополосных дорогах разметку 1.24.1 и 1.24.2 наносят на каждой полосе, предназначенной для движения в данном направлении, за исключением изображений знаков 3.27-3.30, которые наносят на крайней правой полосе движения.
Разметку 1.24.1, дублирующую знак 1.23, применяют у детских учреждений. Одновременно допускается наносить надпись "Дети" на проезжей части непосредственно на опасном участке или перед пешеходным переходом с использованием шрифта высотой 1,6 (4,0) м. Надпись следует выполнять шрифтом, имеющим пропорции шрифта разметки 1.22 по ГОСТ Р 51256.
6.2.30 Разметку 1.24.3 применяют для дублирования знака 8.17 при обозначении парковочных мест, предназначенных для автомобилей, на которых установлен опознавательный знак "Инвалид".
6.2.31 Разметку 1.24.4 допускается применять для дублирования знака 6.22.
Разметку 1.24.4 наносят в одном поперечном сечении дороги со знаком 6.22.
Разметку 1.24.4 наносят посередине каждой полосы, предназначенной для движения в данном направлении, основанием в сторону движущихся по ней транспортных средств.
6.2.32 Разметку 1.24.5 допускается применять для дублирования знака 8.4.3.1.
Разметку 1.24.5 допускается применять самостоятельно.
6.2.33 Разметку 1.25 применяют для обозначения искусственных неровностей, предназначенных для принудительного снижения скорости.
Разметку наносят в начале и конце неровности монолитной конструкции по ГОСТ Р 52605на наклонном участке (рисунок В.21).
В случаях использования сборных искусственных неровностей по ГОСТ 32964или при недостаточной ширине монолитной искусственной неровности для нанесения разметки на ее поверхности разметку наносят на проезжую часть непосредственно у неровности с двух ее сторон, при одностороннем движении - со стороны приближающегося транспорта.
6.2.34 Разметку 1.26 допускается применять для обозначения перекрестка, участка перекрестка или пересечения проезжих частей.
При применении на перекрестке разметки 1.7 или 1.14.3 разметку 1.26 не наносят.
Разметку 1.26 допускается применять самостоятельно.
6.2.35 Минимальную ширину линий разметки 1.1-1.7, 1.9-1.11 принимают в соответствии с таблицей 10.
Для случаев, не указанных в таблице 10, минимальную ширину линий разметки принимают равной 0,1 м.
Таблица 10 - Минимальная ширина линий разметки
Размеры в метрах | |||||||||||
Число полос движения | Наличие разделительной полосы | Разделение потоков противоположных направлений | Обозначение полос движения | Обозначение края проезжей части | Запрещение остановки и стоянки | ||||||
1.1 | 1.3 | 1.5; 1.6 | 1.9 | 1.11 | 1.1; 1.5-1.7 | 1.9 | 1.11 | 1.2 | 1.4; 1.10 | ||
2 | Нет | 0,10 | - | 0,10 | - | 0,10 | 0,10 | - | 0,10 | 0,10 | 0,10 |
3 | 0,15 | 0,15 | 0,10 | ||||||||
4 и 5 | - | 0,15 (0,10) | - | 0,15 (0,10) | 0,15 (0,10) | 0,15 (0,10) | 0,15 (0,10) | 0,15 (0,10) | 0,15 (0,10) | ||
≥6 | 0,20 (0,15) | 0,20 (0,15) | 0,20 (0,15) | 0,20 (0,15) | |||||||
≥4 | Есть | - | - | 0,15 | - | ||||||
Примечание - В скобках приведены допустимые значения ширины линии разметки в населенных пунктах. |
6.3 Вертикальная разметка
6.3.1 Линии и обозначения вертикальной разметки наносят на пролетные строения и опоры мостовых сооружений, торцевые поверхности порталов тоннелей, ограждения, парапеты, бордюрные камни и другие элементы оборудования дорог для улучшения их видимости участниками дорожного движения.
6.3.2 Разметку 2.1.1-2.1.3 применяют для обозначения вертикальных элементов мостовых сооружений, опор освещения, деревьев, фронтальных ограждений по ГОСТ 33127(кроме разделительных дорожных блоков) и т.п. препятствий, расположенных в пределах обочины на расстоянии менее 1 м от края проезжей части, при отсутствии обочины, а также в других случаях, когда эти препятствия представляют опасность для движущихся транспортных средств.
Разметку 2.1.1 и 2.1.3 наносят на препятствие, расположенное соответственно слева или справа от проезжей части, а разметку 2.1.2 - если его можно объехать с обеих сторон.
Допускается размечать только ближайший к проезжей части край сооружения на ширину 0,5 м и высоту 3,0 м (рисунки В.22 и В.23).
6.3.3 Разметку 2.2 применяют для обозначения нижнего края пролетных строений мостовых сооружений и порталов тоннелей, расположенных на высоте менее 5 м. Разметку наносят над серединой каждой полосы, по которой осуществляется движение в сторону сооружения (рисунок В.22).
Допускается наносить разметку на пролетных строениях по всей ширине проезжей части, по которой осуществляется движение в сторону сооружения.
6.3.4 Если разметку 2.1.1-2.1.3 или 2.2 невозможно нанести непосредственно на поверхность искусственных сооружений, ее следует выполнять на щитах, прикрепляемых к этим сооружениям или устанавливаемых непосредственно перед ними.
6.3.5 Разметку 2.3 применяют для обозначения дорожных тумб по ГОСТ 32759в случаях, когда они расположены на разделительных полосах, конструктивно выделенных направляющих островках, островках безопасности (рисунок В.24).
6.3.6 Разметку 2.4 применяют для обозначения сигнальных столбиков в соответствии с ГОСТ 32843(рисунок В.24).
Нижний конец черной полосы разметки должен быть обращен в сторону проезжей части.
6.3.7 Разметку 2.5 применяют для обозначения боковых поверхностей дорожных ограждений, установленных на прямых участках дорог (на протяжении не менее 10 м от их начала), а также по всей длине ограждений на пересечениях в разных уровнях, кривых в плане с радиусом менее 50 м, крутых спусках, в местах сужения проезжей части (рисунок В.24).
6.3.8 Разметку 2.6 применяют для обозначения боковых поверхностей дорожных ограждений в случаях, не оговоренных в 6.3.7 (рисунок В.24).
Допускается не наносить разметку 2.5 и 2.6 на парапетные ограждения и ограждения, выполненные из оцинкованного металла. При наличии в ограждении, выполненном из оцинкованного металла, отдельных секций (общая длина которых не превышает 20% длины ограждения) из неоцинкованного металла их окрашивают в серый (серебристый) цвет, сходный с цветом секций, выполненных из оцинкованного металла.
6.3.9 Ограждающие и направляющие устройства, обозначенные разметкой 2.4-2.6, оборудуют световозвращающими элементами по ГОСТ 32866 и ГОСТ Р 50971.
6.3.10 Разметку 2.7 наносят на боковые поверхности бордюрного камня, выделяющего над проезжей частью разделительные полосы, направляющие островки, островки безопасности, бордюрного камня у препятствий, расположенных на расстоянии менее 1 м от проезжей части, на кривых в плане с радиусом менее 50 м, в местах сужения дороги, выездов на набережные и на других опасных участках, а также на протяжении посадочных площадок маршрутных транспортных средств (рисунки В.23 и В.24).
Размеры элементов разметки 2.7 черного и белого цветов следует принимать: для бордюрного камня, выделяющего направляющие островки и островки безопасности 0,2 м и 0,4 м соответственно, иные препятствия - 0,5 м и 1,0 м (1,0 м и 2,0 м).
7 Правила применения дорожных светофоров
7.1 Общие требования
7.1.1 Группы, типы, исполнения дорожных светофоров (далее - светофоры), в том числе временных, устанавливаемых на дороге, приведены в приложении Д.
7.1.2 Светофоры, применяемые для регулирования очередности пропуска транспортных средств и пешеходов, а также для обозначения опасных участков дорог, должны соответствовать требованиям ГОСТ 33385 и ГОСТ Р 52282. В процессе эксплуатации техническое состояние светофоров и их положение относительно направления движения должно отвечать требованиям ГОСТ 33220 и ГОСТ Р 50597.
7.2 Условия введения светофорного регулирования
7.2.1 Светофорное регулирование транспортных средств и пешеходов вводят при выполнении одного из нижеперечисленных условий.
Условие 1. Интенсивность движения транспортных средств пересекающихся направлений в течение каждого из любых 8 ч рабочего дня недели не менее значений, указанных в таблице 11.
Таблица 11 - Интенсивность движения транспортных средств пересекающихся направлений
Число полос движения в одном направлении | Интенсивность движения транспортных средств, ед./ч | ||
Главная дорога | Второстепенная дорога | по главной дороге в двух направлениях | по второстепенной дороге в одном, наиболее загруженном, направлении |
1 | 1 | 750 | 75 |
670 | 100 | ||
580 | 125 | ||
500 | 150 | ||
410 | 175 | ||
380 | 190 | ||
2 и более | 1 | 900 | 75 |
800 | 100 | ||
700 | 125 | ||
600 | 150 | ||
500 | 175 | ||
400 | 200 | ||
2 или более | 2 или более | 900 | 100 |
825 | 125 | ||
750 | 150 | ||
675 | 175 | ||
600 | 200 | ||
525 | 225 | ||
480 | 240 |
Условие 2. Интенсивность движения транспортных средств по дороге составляет не менее 600 ед./ч (для дорог с разделительной полосой - 1000 ед./ч) в обоих направлениях в течение каждого из любых 8 ч рабочего дня недели. Интенсивность движения пешеходов, пересекающих проезжую часть этой дороги в одном, наиболее загруженном, направлении в то же время составляет не менее 150 пеш./ч.
В населенных пунктах с числом жителей менее 10000 человек значения интенсивности движения транспортных средств и пешеходов по условиям 1 и 2 составляют 70% от указанных.
Условие 3. Значения интенсивности движения транспортных средств и пешеходов по условиям 1 и 2 одновременно составляют 80% или более от указанных.
Условие 4. На перекрестке или пешеходном переходе совершено не менее трех дорожно-транспортных происшествий за последние 12 месяцев, которые могли быть предотвращены при наличии светофорной сигнализации. При этом условия 1 или 2 должны выполняться на 80% или более.
7.2.2 Светофорное регулирование с применением вызывной фазы для движения пешеходов на пешеходном переходе вводят, если:
- наземный пешеходный переход расположен на дорогах с двухсторонним движением с двумя и более полосами для каждого направления, на дороге с односторонним движением - с числом полос три и более;
- посадка и высадка пассажиров осуществляется в зоне остановочного пункта маршрутных транспортных средств с проезжей части или посадочной площадки, расположенной на ней.
В населенном пункте вне зоны действия знака 1.23 светофорное регулирование с применением вызывной фазы для движения пешеходов на пешеходном переходе допускается не вводить, если этот пешеходный переход находится между соседними регулируемыми пешеходными переходами, расположенными между собой на расстоянии 600 м и менее.
7.2.3 Светофорное регулирование в местах пересечения дороги с велосипедной дорожкой вводят, если интенсивность велосипедного движения превышает 50 вел./ч при отсутствии регулируемого пешеходного перехода в этом направлении.
7.2.4 Реверсивное регулирование с применением светофоров Т.4 любых исполнений вводят на дорогах с тремя и более полосами для движения в обоих направлениях при соответствующем технико-экономическом обосновании.
7.2.5 Светофорное регулирование на перекрестках и пешеходных переходах допускается вводить в случаях, не предусмотренных 7.2.1-7.2.3, в частности, если расстояние между соседними регулируемыми перекрестками, включенными в систему координированного управления движением, превышает 800 м.
7.2.6 При светофорном регулировании в одной фазе светофорного цикла допускается движение пешеходов и поворачивающих транспортных средств (пересекающих направление движения пешеходов) при одновременном выполнении следующих условий:
- суммарная интенсивность транспортных средств, поворачивающих в одно направление, не более 120 ед./ч, а интенсивность движения пешеходов не более 600 пеш./ч;
- применение информационных световых секций по 7.4.12 для предупреждения водителей о возможном движении пешеходов по пешеходному переходу, на который он поворачивает с режимом белолунного мигания с частотой по 7.5.3.
7.3 Условия применения светофоров
7.3.1 Светофоры Т.1 и Т.1.г любых вариантов конструкции применяют на перекрестках в случае одновременного пропуска транспортных средств во всех разрешенных направлениях с данного подхода к перекрестку и на регулируемых пешеходных переходах, расположенных между перекрестками.
Допускается применение этих светофоров перед железнодорожными переездами в населенных пунктах (по согласованию с организациями, содержащими железнодорожные переезды), пересечениями дороги с трамвайными линиями, перед пересечениями велосипедной дорожки с проезжей частью, в местах сужения проезжей части для попеременного пропуска встречных транспортных средств.
7.3.2 Светофоры Т.1 с дополнительной(ыми) секцией(ями) применяют для раздельного пропуска транспортных средств в определенных направлениях на данном подходе к перекрестку, если в соответствующей фазе светофорного регулирования предусмотрено слияние транспортных потоков различных направлений, пересечение транспортных средств и пешеходов, или при постоянном пропуске транспортных средств в определенном направлении на разрешающий сигнал дополнительной секции.
7.3.3 Светофоры Т.2 любых вариантов конструкции применяют для регулирования движения транспортных средств в определенных направлениях при следующих условиях:
- на перекрестке на протяжении всего светофорного цикла организовано бесконфликтное регулирование, в том числе по специально выделенной полосе для маршрутных транспортных средств (светофоры Т.2 устанавливают со стороны всех подходов к перекрестку);
- с одного подхода к перекрестку во всех фазах светофорного регулирования организовано бесконфликтное регулирование, в том числе по специально выделенной полосе для маршрутных транспортных средств (светофоры Т.2 устанавливают со стороны того подхода, где выполняется это условие).
При этих условиях светофоры Т.1 с дополнительными секциями не применяют.
Допускается применять светофоры Т.2 для регулирования движения по отдельным полосам в тоннелях в соответствии с требованиями ГОСТ 33153.
Над светофорами Т.2 допускается размещать табличку белого цвета из световозвращающей пленки типа А по ГОСТ Р 52290 размером 400x400 мм с изображением черной(ых) стрелки(ок), дублирующей(их) изображения стрелки(ок) светофора (рисунок В.25).
7.3.4 Светофоры Т.3 любых исполнений применяют в качестве повторителей сигналов светофоров Т.1 таких же исполнений, если их видимость для водителя транспортного средства, остановившегося у стоп-линий на крайней полосе проезжей части данного направления, затруднена. Светофоры Т.3 любых исполнений устанавливают на одной стойке со светофорами Т.1 таких же исполнений.
Допускается применять светофор Т.3 (вместо светофора Т.9) для регулирования движения велосипедистов в местах пересечения велосипедной дорожки или полосы для велосипедистов с проезжей частью дороги или регулируемым пешеходным переходом. В этом случае светофор должен быть снабжен табличкой 8.4.7. Для указания направления действия сигналов светофора Т.3 любых исполнений с табличкой 8.4.7 в случае изменения направления движения велосипедистов через перекресток.
7.3.5 Светофоры Т.4 любых исполнений применяют для регулирования движения на отдельных полосах проезжей части при организации реверсивного движения.
7.3.6 Светофоры Т.5 применяют только для бесконфликтного регулирования движения трамваев, а также маршрутных транспортных средств, движущихся по специально выделенной полосе.
При регулировании движения безрельсовых транспортных средств над специально выделенной полосой устанавливают знак 3.1 с табличкой 8.14.
7.3.7 Светофоры Т.6 любых исполнений и вариантов конструкции, а также светофоры Т.10 применяют для регулирования движения через железнодорожные переезды.
7.3.8 Светофоры Т.7 любых вариантов конструкции применяют для обозначения нерегулируемых перекрестков и пешеходных переходов в случаях, если:
- интенсивность движения транспортных средств и пешеходов составляет не менее половины от ее значений для условий 1 и 2 по 7.2.1;
- не обеспечена видимость для остановки транспортного средства, движущегося со скоростью, разрешенной на участке дороги перед перекрестком или пешеходным переходом;
- пешеходный переход расположен на участке дороги, проходящем вдоль территории детских учреждений;
- по техническим обоснованиям невозможно применение светофорного регулирования с применением вызывной фазы для движения пешеходов на пешеходном переходе.
7.3.9 Светофоры Т.8 любых вариантов конструкции допускается применять для регулирования движения на внутренних территориях предприятий, организаций, а также при временном сужении проезжей части для организации реверсивного движения по одной полосе, в том числе перед мостовыми сооружениями.
На участках сужения дорог светофоры Т.8 применяют, если имеется только одна полоса для движения в обоих направлениях и движение из-за ограниченной видимости не может быть организовано с помощью знаков 2.6 и 2.7 по 5.3.9.
Перед мостовыми сооружениями светофоры Т.8 устанавливают, если несущая способность этих сооружений не позволяет осуществлять одновременный пропуск транспортных средств встречных направлений.
Светофоры Т.8, кроме того, применяют для регулирования движения через разводные мосты и на причалах паромных переправ. Допускается их применение в местах выезда на дорогу транспортных средств оперативных служб и на пунктах взимания платы за проезд по платным дорогам.
7.3.10 Светофоры Т.9 применяют для регулирования движения велосипедистов в местах пересечения велосипедной дорожки или полосы для велосипедистов с проезжей частью дороги или регулируемым пешеходным переходом.
7.3.11 Светофоры П.1 и П.2 любых вариантов конструкции применяют для регулирования движения пешеходов по регулируемым пешеходным переходам с установкой светофоров по 7.4.2.
7.4 Правила установки светофоров
7.4.1 Транспортные светофоры устанавливаются в следующих местах (рисунок В.26):
а) перед пересечением проезжих частей (пешеходным переходом) справа от проезжей части;
б) в пределах перекрестка (пешеходного перехода) над проезжей частью;
в) перед пересечением проезжих частей (пешеходным переходом) слева от проезжей части, на выделенных дорожным ограждением или конструктивно выделенных разделительной полосе, направляющем островке или островке безопасности;
г) перед пересечением проезжих частей (пешеходным переходом) слева от дороги; это место может использоваться на дорогах с односторонним движением транспортных средств;
д) на перекрестке слева на конструктивно выделенных разделительной полосе, направляющем островке или островке безопасности, расположенных на пересекающей дороге;
е) на перекрестке справа на конструктивно выделенных разделительной полосе, направляющем островке или островке безопасности, расположенных на пересекающей дороге;
ж) непосредственно за пересечением проезжих частей, на конструктивно выделенных разделительной полосе, направляющем островке или островке безопасности;
и) непосредственно за пересечением проезжих частей слева от дороги; при этом установка дублирующего светофора слева за перекрестком допускается, если проезжая часть во встречном направлении имеет не более трех полос движения, а интенсивность движения по каждой полосе составляет не более 500 ед./ч;
к) непосредственно за пересечением проезжих частей справа от дорог; при этом установка дублирующего светофора справа за перекрестком допускается, если число полос в попутном направлении не более трех, а интенсивность движения по каждой полосе составляет не более 500 ед./ч.
7.4.1.1 Места установки основных транспортных светофоров приведены в таблице 12.
Таблица 12 - Места установки основных транспортных светофоров
Исполнение светофора | Предпочтительность мест установки1 | Примечание | |||
а | б | в | г | ||
Т.1, Т.1.п, Т.1.пл, Т.2 со стрелкой "направо" или "прямо и направо", или "направо и налево", Т.3, Т.3.п , Т.7, Т.8 | 1 | - | - | - |
Допускается установка Т.7 по 7.4.1.6. Особенность установки светофора Т.2 любых исполнений по 7.4.1.2 |
Т.1.г | - | 1 | - | - | - |
Т.1.л | 3 | 4 | 1 | 2 | - |
Т.2 со стрелкой "прямо" | 12 | 2 | - | - | Особенность установки светофора Т.2 любых исполнений по 7.4.1.2 |
Т.2 со стрелкой "налево" или "прямо и налево" | - | 3 | 1 | 2 | |
Т.3.л | - | - | 1 | - | - |
Т.4, Т4.ж | Не нормируется | Место установки по 7.4.1.3 | |||
Т.5 | Место установки по 7.4.1.4 | ||||
Т.6, Т6.д | Место установки по 7.4.1.5 | ||||
Т.9 | 1 | - | - | - | Место установки по 7.4.1.7 |
Т.10 | Не нормируется | Место установки по 7.4.1.5 | |||
1Наиболее предпочтительное место установки - с наименьшим номером. 2Место установки выбирают при отсутствии на данном подходе к перекрестку светофоров Т.2, регулирующих движение только направо. |
7.4.1.2 Светофоры Т.2 с табличкой 8.14 устанавливают над каждой из полос движения, если:
- для транспортных средств, движущихся по ним, режим работы светофорного объекта предусматривает различную длительность и (или) последовательность светофорных сигналов;
- на подходе к перекрестку осуществляется регулирование движения, в том числе по специально выделенной полосе для маршрутных транспортных средств;
- их размещают перед тоннелем по 7.3.3.
Табличку 8.14 располагают непосредственно под светофором.
7.4.1.3 Светофоры Т.4 любых исполнений устанавливают перед въездом на полосу и на протяжении всего участка дороги над каждой полосой с реверсивным регулированием. При этом с места установки каждого светофора должна быть обеспечена видимость сигналов следующего по ходу движения светофора.
7.4.1.4 Светофор Т.5 устанавливают справа или над специально выделенной полосой для маршрутных транспортных средств. При регулировании движения трамваев допускается установка светофора Т.5 между трамвайными путями.
7.4.1.5 Светофоры Т.6 любых исполнений и Т.10 устанавливают в соответствии с требованиями [3] на расстоянии от 6 до 10 м от ближнего рельса.
7.4.1.6 Светофоры Т.7 допускается устанавливать на конструктивно выделенных разделительной полосе, центральном островке или островке безопасности, над проезжей частью над пешеходным переходом или над центром перекрестка не менее чем по одному для каждого направления движения. Такие светофоры допускается устанавливать на одной опоре со знаками 5.19.1 или 5.19.2.
При установке светофора Т.7 над проезжей частью допускается не устанавливать его справа.
7.4.1.7 Светофор Т.9 устанавливают справа от велосипедной дорожки или полосы для велосипедистов.
7.4.1.8 Допускается совместная установка светофоров Т.1 любых исполнений и Т.2 на одном подходе к перекрестку, когда транспортные средства, регулируемые светофорами Т.1, отделены конструктивно выделенными разделительными полосами, направляющими островками или островками безопасности от транспортных средств, регулируемых светофорами Т.2.
7.4.2 Светофоры П.1 и П.2 устанавливают на тротуарах с обеих сторон проезжей части, а при наличии конструктивно выделенных разделительной полосы или островка безопасности - и на них, если число полос движения в одном направлении более двух (рисунок В.26).
При установке пешеходных светофоров должна быть обеспечена видимость их сигналов пешеходами с противоположной стороны проезжей части дороги.
Пешеходными светофорами оборудуют все пешеходные переходы, расположенные на регулируемом перекрестке (рисунок В.19).
7.4.3 Светофоры Т.1 любых исполнений и Т.2, установленные сбоку от проезжей части по 7.4.1, дублируют.
7.4.3.1 Дублирующие светофоры устанавливают в местах по 7.4.1 с учетом предпочтительности по таблице 13. При установке светофоров на существующей дорожной сети допускается выбор места установки, обеспечивающего наилучшие условия видимости, без соблюдения предпочтительности, предусмотренной в таблице 13.
7.4.4 При невозможности соблюдения условий, перечисленных в 7.4.1 и таблице 13, дублирующие светофоры (кроме Т.3 любых исполнений) устанавливают над проезжей частью, аналогично светофоры Т.6 дублируют на дорогах с тремя или более полосами для движения в одном направлении.
Таблица 13 - Места установки дублирующих светофоров Т.1 и Т.2
Исполнение светофора | Предпочтительность мест установки1 | |||||||
б | в | г | д | е | ж | и | к | |
Т.1 | 4 | 1 | 5 | 6 | - | 2 | 3 | - |
Т.1.п | - | - | - | - | 2 | 1 | 4 | 3 |
Т.1.л | - | - | - | 3 | - | 1 | 2 | - |
Т.1.пл | - | 1 | 2 | 3 | - | 4 | 5 | - |
Т.2 со стрелкой "прямо" | 12 | - | - | - | - | - | - | - |
Т.2 со стрелкой "направо" или "прямо и направо" | 1 | - | - | - | - | - | - | - |
Т.2 со стрелкой "налево" или "прямо и налево" | 13 | - | - | - | - | - | - | - |
Т.2 со стрелкой "направо и налево" | 2 | 1 | - | - | - | - | - | - |
1Наиболее предпочтительное место установки - с наименьшим номером. 2Место установки выбирают при отсутствии на данном подходе к перекрестку светофоров Т.2, регулирующих движение только направо. 3Место установки может применяться при установке основного светофора в местах в или г по 7.4.1.1. Примечание - Дублирование в местах ж и и допускается в случае, если число полос в данном направлении не превышает трех, а интенсивность движения по каждой полосе составляет не более 500 ед./ч. |
7.4.5 Основные транспортные светофоры, расположенные над проезжей частью по 7.4.1, допускается не дублировать.
7.4.6 Светофоры Т.1.II любых исполнений и Т.2.II устанавливают:
- на дорогах вне населенных пунктов;
- на магистральных городских дорогах, магистральных улицах общегородского значения по СП 42.1330 и площадях;
- на городских улицах и дорогах прочих категорий по СП 42.1330 с допустимой скоростью движения транспортных средств более 60 км/ч.
Светофоры Т.1.III любых исполнений и Т.2.III допускается устанавливать на второстепенных дорогах перед пересечениями с перечисленными улицами и дорогами.
Светофоры Т.1.I любых исполнений и T.2.I устанавливают во всех остальных случаях.
Светофоры П.1.II и П.2.II устанавливают на дорогах, имеющих четыре и более полосы для движения в данном направлении, светофоры П.1.I и П.2.I - на дорогах с меньшим числом полос.
7.4.7 При установке транспортных светофоров (кроме Т.3 любых исполнений, Т.9, П.1 и П.2) должна быть обеспечена различимость их сигналов с расстояния не менее 100 м с любой полосы движения и трамвайных путей, на которую распространяется их действие. Если данное условие выполнить невозможно, устанавливают знак 1.8 "Светофорное регулирование" по 5.2.11.
Для сигналов светофора Т.9, П.1 и П.2 должна быть обеспечена различимость на расстоянии не менее 50 м.
При установке светофоров Т.3 любых исполнений должна быть обеспечена видимость их сигналов для водителя транспортного средства, остановившегося перед знаком 6.16 "Стоп-линия" или разметкой 1.12 "Стоп-линия" на крайней полосе, ближайшей к этому светофору.
7.4.8 Высота установки светофоров от нижнего края корпуса до поверхности проезжей части (рисунок В.25) составляет:
а) для транспортных светофоров (кроме Т.3 всех исполнений, Т.5 и Т.9) с учетом информационной световой секции:
1) при установке над проезжей частью - от 5 до 6 м; допускается устанавливать светофоры над проезжей частью на высоте от 6 до 8 м для соблюдения требований 6.2.14;
2) при установке сбоку от проезжей части - от 2 до 3 м;
б) для светофоров Т.3 любых исполнений, Т.9 - от 1,5 до 2,0 м;
в) для светофоров Т.5 - от 2 до 4 м;
г) для пешеходных светофоров - от 2,0 до 2,5 м.
Светофоры различных типов, устанавливаемые на одной опоре и обращенные к участникам движения одного направления, размещают относительно друг друга по вертикали в последовательности (снизу вверх): Т.3 любых исполнений, П.1 (П.2) любых вариантов конструкции, Т.1 (Т.1.п, Т1.л, Т.1.пл) или Т.2 любых вариантов конструкции, Т.5 (рисунок В.25).
7.4.9 Опорные конструкции, используемые для крепления светофоров, должны иметь цвет по ГОСТ 32948. Такие конструкции устанавливают вне проезжей части дороги, их элементы, находящиеся над проезжей частью, не должны быть ниже края корпуса светофора, размещаемого над проезжей частью по 7.4.8.
7.4.10 Расстояние от края проезжей части до светофора, установленного сбоку от проезжей части, должно составлять от 0,5 до 2,0 м, при наличии обочин это расстояние увеличивают на ее ширину (рисунок В.25).
Расстояние от ближнего края проезжей части до светофора, установленного над проезжей частью, должно быть не менее 1,5 м, если число полос в данном направлении не более одной, и не менее 4 м, если число полос не менее двух (рисунок В.25).
При обеспеченной видимости сигналов пешеходного светофора допускается его устанавливать на расстоянии до 5 м от края проезжей части.
Пешеходный светофор устанавливают на расстоянии не более 1 м от правой границы пешеходного перехода по ходу движения пешеходов на противоположной стороне проезжей части (рисунок В.20).
На протяжении одной дороги высота установки транспортных светофоров и их удаление от проезжей части должны быть по возможности одинаковы.
7.4.11 Светофоры устанавливают на расстоянии не менее 1 м от контактных проводов трамвая или троллейбуса до любой точки корпуса светофора.
7.4.12 Информационные световые секции (ИС) устанавливают непосредственно под транспортным светофором (см. приложение Е), по разрешающему сигналу которого возможно пересечение поворачивающих транспортных средств с пешеходами, движущимися по пешеходному переходу на разрешающий сигнал пешеходного светофора. Координаты цветности ИС по ГОСТ Р 52282, осевая сила света не менее - 50 кд. Размер рабочей поверхности выходной апертуры ИС должен соответствовать размеру рабочей поверхности выходной апертуры сигнала светофора, под которым она установлена.
7.5 Режимы работы светофоров
7.5.1 Все светофоры, установленные на одном светофорном объекте (кроме светофоров Т.4 любых исполнений), должны работать во взаимосогласованных режимах.
Любой светофорный объект, входящий в систему координированного управления движением, должен иметь возможность работать в индивидуальном (резервном) автоматическом режиме, независимо от работы других светофорных объектов.
7.5.2 Для светофоров Т.1, Т.3 (любых исполнений и вариантов конструкции), Т.2 любых вариантов конструкции и Т.9 соблюдают последовательность включения сигналов: красный - красный с желтым - зеленый - желтый - красный... При этом длительность сигнала "красный с желтым" должна быть не более 2 с, длительность желтого сигнала во всех случаях должна быть 3 с. Если расчетная длительность промежуточного такта превышает указанные значения, то длительность красного сигнала увеличивают на время превышения. Это требование не распространяется на находящиеся в эксплуатации контроллеры, не способные делить промежуточный такт.
Допускается последовательность включения сигналов: красный - зеленый - желтый - красный..., если светофорный объект не включен в систему координированного управления движением.
7.5.3 Режим работы светофорной сигнализации с использованием светофоров Т.1, Т.3 (любых исполнений и вариантов конструкции), Т.2 и Т.8 любых вариантов конструкции, а также Т.9 может предусматривать мигание зеленого сигнала в течение 3 с непосредственно перед его выключением с частотой одно мигание в секунду (допускается отклонение от указанной частоты ±10%), для светофоров П.1 и П.2 любых вариантов конструкции, а также дополнительных секций светофоров Т.1 и Т.3 такой режим является обязательным.
Для светофоров Т.1, Т.3 (любых исполнений) с красным контуром на дополнительной секции последовательность включения сигналов этой секции: красный контур - зеленая стрелка - красный контур...
Для информирования водителей и пешеходов о времени, оставшемся до окончания горения зеленого и (или) красного сигнала, допускается применение цифрового табло обратного отсчета времени. Цифровое табло располагают на месте желтого сигнала транспортного светофора. В пешеходном светофоре цифровое табло для обратного отсчета времени зеленого сигнала располагают в секции красного сигнала, для красного сигнала - в секции зеленого. Допускается такое табло располагать в отдельной секции, которая крепится на одной опоре со светофором. Секция с цифровым табло не должна быть размещена на одном уровне с красным или зеленым сигналом светофора. Цвет цифр цифрового табло, расположенного в секциях светофора, должен соответствовать цвету сигнала светофора, обратный отсчет времени которого он ведет, а у расположенного в отдельной секции - желтого.
Для режима работы светофорной сигнализации, предусматривающей мигание зеленого сигнала, цифровое табло должно информировать водителей и пешеходов о суммарном времени горения всего разрешающего сигнала светофора.
На пешеходных переходах, которыми регулярно пользуются пешеходы с нарушением функций зрения, а также с нарушением функций зрения и слуха, дополнительно к светофорной сигнализации применяют звуковую сигнализацию по ГОСТ Р ИСО 23600, работающую в согласованном режиме с пешеходными светофорами.
7.5.4 В период снижения интенсивности движения до значений менее 50% для условий 1 и 2 по 7.2.1 светофоры Т.1 и Т.3 (любых исполнений и вариантов конструкции), Т.2 любых вариантов конструкции и Т.9 допускается переводить на режим мигания желтого сигнала с частотой, указанной в 7.5.3 для зеленого сигнала.
Не допускается вводить режим мигания желтого сигнала при организации диагонального пешеходного перехода на перекрестке и в случае введения светофорного регулирования по условию 4 по 7.2.1.
7.5.5 Последовательность включения сигналов светофоров Т.4, Т.8 любых вариантов конструкции - поочередное включение красного и зеленого сигналов, а для светофора Т4ж - красного, зеленого и желтого сигналов.
Последовательность включения сигналов светофоров Т.5 определяется схемой организации движения.
Светофоры Т.6, Т.6.д, Т.7 и Т.10 любых вариантов конструкции должны обеспечивать попеременное включение двух сигналов или мигание одного сигнала с частотой, указанной в 7.5.3 для зеленого сигнала.
Последовательность включения сигналов пешеходных светофоров: красный - зеленый - красный...
7.5.6 При регулировании движения светофорами Т.1 с дополнительными секциями любых вариантов конструкции недопустимо постоянное действие какой-либо комбинации сигналов (например, красный сигнал с разрешающим сигналом дополнительной секции).
7.5.7 Информационная световая секция включается одновременно с разрешающим сигналом светофора, при котором возможно пересечение поворачивающих транспортных средств с пешеходами.
8 Правила применения боковых дорожных ограждений и направляющих устройств
8.1 Дорожные ограждения
8.1.1 На автомобильных дорогах, улицах и мостовых сооружениях применяют боковые дорожные ограждения, в том числе временные, прошедшие испытания в соответствии с ГОСТ 33129или ГОСТ Р 52721. В процессе эксплуатации дорожные ограждения должны отвечать требованиям ГОСТ 33220и ГОСТ Р 50597.
8.1.2 Дорожные удерживающие боковые ограждения для автомобилей (далее - ограждения) устанавливают:
- на обочинах автомобильных дорог;
- на газоне, полосе между тротуаром и бровкой земляного полотна, тротуаре городской дороги или улицы;
- с обеих сторон проезжей части мостового сооружения;
- на разделительной полосе автомобильной дороги, городской дороги или улицы, мостового сооружения.
Для разделения транспортных потоков противоположных направлений на автомобильных дорогах и улицах могут быть установлены тросовые ограждения или барьерные ограждения с отделяющейся балкой* без консоли при условии возможности обеспечения полосы безопасности между краем проезжей части и лицевой поверхностью ограждения не менее 0,5 м с каждой стороны таких ограждений без изменения категории дороги и улицы (рисунок В.28л):
а) вне населенных пунктов на четырехполосных автомобильных дорогах;
б) в местах концентрации ДТП, связанных со встречным столкновением транспортных средств, или для профилактики возникновения таких мест:
1) вне населенных пунктов на двух- и трехполосных автомобильных дорогах без ограждений на обочинах;
2) в населенных пунктах на четырехполосных автомобильных дорогах и улицах.
* - Барьерное ограждение с отделяющейся балкой - конструкция дорожного ограждения, во время работы которой предусмотрено отделение балки от стойки, энергия удара гасится за счет деформации материала конструкции и трения в системе.
Временные дорожные ограждения устанавливают по ГОСТ Р 58350.
8.1.3 При установке ограждения на разделительной полосе, у опор путепроводов, консольных или рамных опор информационных дорожных знаков, опор линий электропередачи и связи, опор (колонок) светофоров, опор освещения и наземных трубопроводных коммуникаций и т.п. (далее - массивных препятствий), а также на городских дорогах и улицах у бордюрного камня на тротуаре или газоне, разделяющем проезжую часть и тротуар, учитывают рабочую ширину на рабочем участке ограждения (рисунок В.27б). В других случаях учитывают прогиб на рабочем участке ограждения (рисунок В.27а).
Ограждение должно соответствовать требованиям к уровню удерживающей способности по ГОСТ 33128 и таблице 14, прогибу, рабочей ширине и минимальной высоте ограждения (далее - высоте).
Таблица 14 - Уровни удерживающей способности
Уровень удерживающей способности | У1 | У2 | У3 | У4 | У5 | У6 | У7 | У8 | У9 | У10 |
Значение уровня, кДж, не менее | 130 | 190 | 250 | 300 | 350 | 400 | 450 | 500 | 550 | 600 |
Уровни удерживающей способности ограждений выбирают с учетом степени сложности дорожных условий для участков автомобильных дорог по 8.1.4, для мостовых сооружений автомобильных дорог по 8.1.5, для городских дорог и улиц, улиц и дорог сельских поселений и мостовых сооружений в городах по 8.1.6.
8.1.4 Минимальные уровни удерживающей способности ограждений, устанавливаемых на автомобильных дорогах, определяют по таблицам 15 и 16.
Таблица 15 - Минимальные уровни удерживающей способности ограждений (кроме тросовых и барьерных с отделяющейся балкой без консоли) на автомобильных дорогах
Место установки ограждения | Продольный уклон дороги, ‰ | Группа дорожных условий | Уровень удерживающей способности в зависимости от категории автомобильной дороги, числа полос движения в обоих направлениях и их ширины | |||||||
IА; IБ | IB | II | III | IV | ||||||
≥6 | 4 | ≥6 | 4 | 4 | 2; 3 | 2 | 2 | |||
Ширина полосы движения, м | ||||||||||
3,75 1 | 3,5 | 3,75 | 3,5 | 3,0 | ||||||
Обочины прямолинейных участков дороги и кривой в плане радиусом более 600 м. Обочина с внутренней стороны кривой в плане радиусом менее 600 м на спуске и после него на участке длиной 100 м | До 40 | А | У5 | У4 | У4 | У3 | У3 | У2 | У2 | У1 |
Б | У4 | У3 | У3 | У2 | У2 | У1 | У1 | У1 | ||
40 и более | А | У6 | У5 | У5 | У4 | У3 | У2 | У2 | У1 | |
Б | У5 | У4 | У4 | У3 | У2 | У1 | У1 | У1 | ||
Обочина с внешней стороны кривой в плане радиусом менее 600 м на спуске и после него на участке длиной 100 м | До 40 | А | У6 | У5 | У5 | У4 | У3 | У2 | У2 | У1 |
Б | У5 | У4 | У4 | У3 | У2 | У1 | У1 | У1 | ||
40 и более | А | У7 | У6 | У6 | У5 | У4 | У4 | У3 | У2 | |
Б | У6 | У5 | У5 | У4 | У3 | У3 | У2 | У1 | ||
Обочина на вогнутой кривой в продольном профиле, сопрягающей участки с абсолютным значением алгебраической разности встречных уклонов не менее 50‰ | Любой | А | У6 | У5 | У5 | У4 | У3 | У2 | У2 | У2 |
Б | У5 | У4 | У4 | У3 | У2 | У2 | У1 | У1 | ||
Разделительная полоса | Любой | А | У6 | У5 | У5 | У4 | Разделительная полоса отсутствует | |||
Б | У5 | У4 | У4 | У3 | ||||||
1 Размер полосы движения для реконструируемых участков дорог может быть принят равным 3,5; 3,75 или 4,0 м. Примечание - IА - автомагистраль; IБ - скоростная дорога; IВ - дорога обычного типа. |
Таблица 16 - Минимальные уровни удерживающей способности тросовых ограждений и барьерных ограждений с отделяющейся балкой без консоли на автомобильных дорогах
Место установки ограждения | Продольный уклон дороги, ‰ | Группа дорожных условий | Уровень удерживающей способности в зависимости от категории автомобильной дороги, числа полос движения в обоих направлениях и их ширины | |||||||
IА; IБ | IB | II | III | IV | ||||||
≥6 | 4 | 6 | 4 | 2-4 | 2 | |||||
Ширина полосы движения, м | ||||||||||
3,75 1 | 3,5-3,75 | 3,5 | 3,0 | |||||||
Обочины прямолинейных участков дороги и кривой в плане радиусом более 600 м. Обочина с внутренней стороны кривой в плане радиусом менее 600 м на спуске и после него на участке длиной 100 м | До 40 | А | У6 | У4 | У5 | У4 | У4 | У3 | ||
Б | У4 | У3 | У4 | У3 | У3 | У2 | ||||
40 и более | А | У6 | У5 | У6 | У5 | У5 | У4 | |||
Б | У5 | У4 | У5 | У4 | У4 | У3 | ||||
Обочина с внешней стороны кривой в плане радиусом менее 600 м на спуске и после него на участке длиной 100 м | До 40 | А | У6 | У5 | У6 | У5 | У4 | У3 | ||
Б | У5 | У4 | У5 | У4 | У3 | У2 | ||||
40 и более | А | У7 | У6 | У7 | У6 | У5 | У4 | |||
Б | У6 | У5 | У6 | У5 | У4 | У3 | ||||
Обочина на вогнутой кривой в продольном профиле, сопрягающей участки с абсолютным значением алгебраической разности встречных уклонов не менее 50‰ | Любой | А | У6 | У5 | У6 | У5 | У4 | У3 | ||
Б | У5 | У4 | У5 | У5 | У3 | У2 | ||||
Разделительная полоса | Любой | А | У6 | У5 | У6 | У4 | Разделительная полоса отсутствует | |||
Б | У5 | У4 | У5 | У3 | ||||||
Между линями разметки 1,2 2 по 8.1.2 | Любой | Любой | Не применяется | Не ниже У4 | ||||||
1 Размер полосы движения для реконструируемых участков дорог может быть принят равным 3,5; 3,75 или 4,0 м. 2 Допускается вместо тросовых ограждений устанавливать барьерные ограждения с отделяющейся балкой. |
К группе А относят участки автомобильных дорог:
- на насыпи высотой более 5 м;
- расположенные на склоне местности круче 1:4;
- проложенные вдоль железнодорожных путей, болот, водных потоков или водоемов глубиной более 1 м, оврагов и горных ущелий, находящихся на расстоянии менее 15 м от кромки проезжей части;
- с разделительной полосой шириной 6 м и менее с односторонним поперечным уклоном круче 1:10;
- на которых массивные препятствия расположены на разделительной полосе или сбоку от проезжей части на расстоянии 4 м и менее от ее кромки.
К группе Б относят участки автомобильных дорог:
- с разделительной полосой шириной не более 6 м без массивных препятствий;
- проложенные вдоль железнодорожных путей, болот, водотоков или водоемов глубиной более 1 м, оврагов и горных ущелий, находящихся на расстоянии от 15 до 25 м от кромки проезжей части;
- подходы к мостовым сооружениям при высоте насыпи менее указанной в таблице 17, на автомобильных дорогах категорий IV и V, II и III, I протяженностью 12, 18 и 24 м соответственно без учета начальных и концевых участков;
- между кромкой проезжей части и пешеходной дорожкой, расположенной на земляном полотне дороги;
- на насыпи с откосами круче 1:4 при условиях, указанных в таблице 17.
Таблица 17 - Условия отнесения участков автомобильных дорог к группе Б на насыпях
Участки автомобильных дорог | Продольный уклон дороги, ‰ | Минимальная высота насыпи, м, при перспективной 1 интенсивности движения, авт./сут, не менее | ||
2002 | 1000 | 2000 | ||
Прямолинейные и кривые в плане радиусом более 600 м. С внутренней стороны кривой в плане радиусом менее 600 м на спуске и после него на участке длиной 100 м | До 40 | 4,0 | 3,5 | 3,0 |
40 и более | 3,5 | 3,0 | 2,5 | |
С внешней стороны кривой в плане радиусом менее 600 м на спуске и после него на участке длиной 100 м | До 40 | |||
На вогнутой кривой в продольном профиле, сопрягающей участки с абсолютным значением алгебраической разности встречных уклонов не менее 50 ‰ | - | 3,5 | 3,0 | 2,5 |
С внешней стороны кривой в плане | 40 и более | 3,0 | 2,5 | 2,0 |
1 На период пять лет. 2 При организации на дороге регулярного автобусного движения ограждения устанавливают аналогично условиям, соответствующим интенсивности движения 2000 авт./сут и более. |
8.1.5 Минимальные уровни удерживающей способности ограждений, устанавливаемых на мостовых сооружениях автомобильных дорог, определяют по таблице 18.
Таблица 18 - Минимальные уровни удерживающей способности ограждений на мостовых сооружениях автомобильных дорог
Категория автомобильной дороги (число полос движения) | Мостовые сооружения автомобильных дорог | |||||
с тротуарами или служебными проходами | без тротуаров или служебных проходов | |||||
Группа дорожных условий | ||||||
В | Г | Д | В | Г | Д | |
Уровень удерживающей способности | ||||||
I (6 и более) | У8 | У6 | У5 | У9 | У7 | У6 |
I (4) - II (4) | У7 | У5 | У4 | У8 | У6 | У5 |
II (2) | У5 | У4 | У3 | У6 | У5 | У4 |
III (2) | У4 | У3 | У2 | У5 | У4 | У3 |
IV (2), V (1) | У3 | У2 | У1 | У4 | У3 | У2 |
Примечание - Если интенсивность движения автомобилей, имеющих разрешенную максимальную массу не менее 30 т, составляет не менее 1000 авт./сут, вместо уровней У7 - У9 принимают соответственно уровни У8 - У10. |
Дорожные условия на мостовых сооружениях автомобильных дорог относят к группам В, Г или Д по таблице 19.
Таблица 19 - Группы дорожных условий для мостовых сооружений автомобильных дорог
Категория автомобильной дороги (число полос движения) | Группа дорожных условий | |||||
В | Г | Д | ||||
R, м, менее | i, ‰, более | R, м | i,‰ | R, м, более | i,‰, менее | |
I (6 и более) | 1500 | 30 | 1500 - 3000 | 20 - 30 | 3000 | 20 |
I (4) - II (4) | 1000 | 1000 - 2500 | 2500 | |||
II (2) | 800 | 40 | 800 - 2000 | 30 - 40 | 2000 | 30 |
III (2) | 600 | 50 | 600 - 1500 | 40 - 50 | 1500 | 40 |
IV (2), V (1) | 500 | 60 | 500 - 1000 | 50 - 60 | 1000 | 50 |
Примечания 1 На мостовом сооружении и примыкающих к нему участках подходов протяженностью 100 м выбирают наименьшее значение радиуса кривой в плане R и наибольшее значение продольного уклона i. 2 Если значения радиуса и уклона окажутся в разных группах, принимают группу с более сложными условиями движения. |
8.1.6 Минимальные уровни удерживающей способности ограждений, устанавливаемых на городских дорогах и улицах, улицах и дорогах сельских поселений и мостовых сооружениях на них, определяют по таблице 20.
Таблица 20 - Минимальные уровни удерживающей способности ограждений на городских дорогах и улицах, улицах и дорогах сельских поселений и мостовых сооружениях на них
Категории городских дорог и улиц, улиц и дорог сельских поселений | Группа дорожных условий | Дороги и улицы | Мостовые сооружения | |
с тротуарами или служебными проходами | без тротуаров или служебных проходов | |||
Уровни удерживающей способности | ||||
Магистральные городские дороги скоростного движения. Магистральные улицы общегородского значения непрерывного движения | Е | У4 (У5) | У6 (У5) | У7 (У5) |
Ж | У3 (У4) | У4 (У4) | У5 (У4) | |
Магистральные городские дороги регулируемого движения. Магистральные улицы общегородского значения регулируемого движения | Е | У3 | У4 | У5 |
Ж | У2 | У3 | У4 | |
Магистральные улицы районного значения, основные улицы сельских поселении | Е | У2 | У3 | У4 |
Ж | У1 | У2 | У3 | |
Улицы и дороги местного значения, местные улицы и дороги, проезды | Е | У1 | У2 | У3 |
Ж | У1 | У2 | ||
Примечание - Значения в скобках относятся к ограждениям, устанавливаемым на разделительной полосе. |
К группе Е относят участки городских дорог и улиц:
- с продольным уклоном не менее 50‰;
- на которых массивные препятствия расположены на разделительной полосе или сбоку от проезжей части на расстоянии 4 м и менее от ее кромки;
- на насыпи высотой не менее 5 м при расстоянии между бордюрным камнем и бровкой земляного полотна не более 10 м;
- у водотоков или водоемов глубиной более 1 м, находящихся на расстоянии не более 10 м от бордюрного камня;
- на набережной;
- с подпорными стенами на расстоянии не более 4 м от кромки проезжей части.
К группе Ж относят участки городских дорог и улиц:
- без массивных препятствий на разделительной полосе шириной не более 4 м;
- на насыпи высотой от 2 до 5 м при расстоянии между бордюрным камнем и бровкой земляного полотна не более 10 м;
- с боковыми разделительными полосами шириной не более 4 м с двусторонним движением на боковых проездах.
Дорожные условия на мостовых сооружениях в городах относят к группе Е в следующих случаях:
- мостовое сооружение пересекает железные дороги, интенсивность движения по главным путям которых составляет более 100 поезд./сут, открытые линии метрополитена или трамвая;
- на мостовом сооружении, расположенном на магистральной городской дороге или магистральной улице, трамвайные пути размещены на обособленном полотне;
- проезжая часть на мостовом сооружении расположена в одном уровне с железнодорожными путями или путями метро;
- проезжая часть на мостовом сооружении магистральной городской дороги или магистральной улицы общегородского значения или перед ним на участке длиной 100 м имеет продольный уклон от 40 до 50‰ при длине сооружения более 100 м и более 50‰ - при длине сооружения не более 100 м;
- проезжая часть мостового сооружения расположена на расстоянии более 5 м от поверхности водотока или водоема глубиной более 1 м;
- длина мостового сооружения более 250 м;
- эстакады третьего и выше уровней пересечений в разных уровнях.
Для всех других случаев дорожные условия на мостовых сооружениях в городах относят к группе Ж.
8.1.7 Минимальные уровни удерживающей способности ограждений, устанавливаемых на съездах пересечений и примыканий в разных уровнях автомобильных дорог, городских дорог и улиц, принимают равными:
- У3 - для ограждений, устанавливаемых на правоповоротных съездах с одной полосой движения;
- У4 - для ограждений, устанавливаемых на правоповоротных съездах с двумя полосами движения и на левоповоротных съездах;
- У5 - для ограждений, устанавливаемых на мостовых сооружениях съездов.
Минимальные уровни удерживающей способности для ограждений, устанавливаемых в автодорожных тоннелях, должны соответствовать требованиям таблицы 21, приведенным для случаев наличия в тоннеле пешеходного тротуара или служебного прохода. Уровни удерживающей способности ограждений на разделительной полосе тоннелей и у центральных разделительных опор принимают аналогично уровням для разделительных полос на автомобильных или городских дорогах и улицах.
При длине тоннеля менее 200 м уровни удерживающей способности ограждений по таблице 21 перед тротуаром или служебным проходом понижают на единицу, кроме ограждения уровня У1, вместо применения которого в этом случае в качестве альтернативы допускается подъем тротуара или служебного прохода на высоту 0,4 м (в этом случае функции ограждения выполняет бордюрный камень).
Таблица 21 - Минимальные уровни удерживающей способности ограждений, устанавливаемых перед тротуаром или служебным проходом в тоннелях для случаев с различным продольным уклоном iи радиусом кривой Rтоннеля в плане
Место установки ограждения | Ширина В, м, тротуара и служебного прохода | Число полос движения в одном направлении | Уровень удерживающей способности ограждений для дорожных условий | ||||
в городе | на автомобильной дороге | ||||||
i ≤ 30 ‰ и R ≥ 1000 м | i ≤ 30 ‰ и 500 ≤ R < 1000 м | i > 30 ‰ или R < 500 м | i ≤ 30 ‰ и R ≥ 1000 м | i > 30 ‰ или R < 1000 м | |||
С внешней стороны кривой | ≥1 (пешеходный тротуар) | 1 | У1 | У2 | У3 | У2 | У3 |
2 | У2 | У3 | У4 | У3 | У4 | ||
≥3 | У3 | У4 | У5 | У4 | У4 | ||
≤ 0,75 (служебный проход) | 1 | У11 | У1 | У2 | У1 | У2 | |
2 | У1 | У2 | 3 | У2 | У3 | ||
≥3 | У2 | У3 | У4 | У3 | У4 | ||
С внутренней стороны кривой или на прямом участке | ≥1 (пешеходный тротуар) | 1 | У11 | У11 | У1 | У11 | У1 |
2 | У11 | У1 | У2 | У1 | У2 | ||
≥3 | У1 | У2 | У3 | У2 | У3 | ||
≤0,75 (служебный проход) | 1 | У11 | У11 | У11 | У11 | У11 | |
2 | У11 | У11 | У1 | У11 | У1 | ||
≥3 | У11 | У1 | У2 | У1 | У2 | ||
1 Для случаев, когда функции ограждения выполняет бордюрный камень высотой 0,4 м с подъемом тротуара или служебного прохода на указанную высоту. |
8.1.8 Прогиб барьерных, тросовых или комбинированных* (далее - деформируемых) ограждений, устанавливаемых на обочине, не должен превышать расстояние от продольной оси балки недеформированного ограждения (для тросового ограждения - от продольной оси троса) до бровки земляного полотна, увеличенное на 0,25 м (рисунок В.28а).
* - Здесь и далее выбор места установки комбинированных ограждений по ГОСТ Р 58351 осуществляют по имеющему наибольшее значение показателю рабочей ширины или прогиба отдельно взятого ограждения, входящего в конструкцию комбинированного ограждения.
Рабочая ширина не должна превышать расстояние от лицевой поверхности балки барьерного ограждения (для тросового - от продольной оси троса) до массивного препятствия (рисунки В.28г, д), находящегося на обочине или за ее пределами на расстоянии менее 4 м от кромки проезжей части.
На обочине автомобильной дороги барьерное ограждение устанавливают на расстоянии от 0,50 до 0,85 м от бровки земляного полотна до стойки барьерного ограждения, парапетное, бордюрное и тросовое - на расстоянии 0,50 м от бровки земляного полотна до ближнего края парапетного и бордюрного ограждений или стойки тросового ограждения и не менее 1,00 м от кромки проезжей части до лицевой поверхности балки барьерного ограждения, до стойки тросового ограждения или до ближнего края бордюрного или парапетного ограждения (рисунки В.28а, е).
При наличии на обочине или откосе насыпи массивного препятствия парапетное или бордюрное ограждение устанавливают на расстоянии от 0,30 до 0,50 м от него (рисунок В.28 ж).
8.1.9 Рабочая ширина ограждения, устанавливаемого на разделительной полосе автомобильных дорог, городских дорог и улиц, а также мостовых сооружений не должна превышать:
- расстояние от лицевой поверхности балки барьерного ограждения (для тросового - от продольной оси троса) до кромки проезжей части (рисунок В.28б) при установке ограждения посередине разделительной полосы шириной менее 3 м при отсутствии на ней массивных препятствий, кроме случаев установки ограждений по 8.1.2 с обеспечением полосы безопасности не менее 0,5 м;
- расстояние от лицевой поверхности балки барьерного ограждения (для тросового - от продольной оси троса) до массивного препятствия при установке барьерного ограждения по боковым сторонам разделительной полосы (рисунок В.28в) при наличии на ней массивных препятствий.
На разделительной полосе автомобильной дороги ограждения устанавливают на расстоянии не менее 1 м от кромки проезжей части, кроме случаев установки ограждений по 8.1.2 с обеспечением полосы безопасности не менее 0,5 м (рисунки В.28 б, в, и, л).
8.1.10 На боковых сторонах городской дороги и улицы ограждения устанавливают на газоне между проезжей частью и тротуаром (рисунки В.29 а, б), а если невозможно установить ограждение на газоне или если он отсутствует, - между бровкой земляного полотна и внешним краем тротуара (рисунки В.29 в-е). Если и такая возможность отсутствует - на тротуаре, примыкающем к проезжей части (рисунок В.29ж).
8.1.11 Прогиб деформируемых ограждений, устанавливаемых между бровкой земляного полотна и внешним краем тротуара, не должен превышать расстояние между продольной осью балки (для тросового ограждения - от продольной оси троса) недеформированного ограждения и бровкой земляного полотна, увеличенное на 0,25 м (рисунки В.29 в-е).
Ограждение устанавливают на расстоянии не менее 0,5 м от бровки земляного полотна до стойки ограждения и не менее 0,1 м от продольной оси балки ограждения до тротуара (рисунки В.29 в-е), если расстояние от внешнего края тротуара до бровки составляет не менее 1 м.
8.1.12 Рабочая ширина ограждений, устанавливаемых на газоне, не должна превышать расстояние от лицевой поверхности балки или троса ограждения до массивного препятствия на газоне, при его отсутствии - до ближнего края тротуара, но не более 3 м (рисунки В.29 а, б).
На газоне деформируемые ограждения устанавливают на расстоянии от 0,05 до 0,10 м от бордюрного камня до лицевой поверхности балки барьерного ограждения или троса тросового ограждения.
8.1.13 Рабочая ширина ограждений, устанавливаемых на тротуаре, не должна превышать 1,5 м при ширине тротуара не менее 3,0 м (рисунок В.29ж). При меньшей ширине тротуара его необходимо расширить до 3,0 м. Если расширить тротуар невозможно, рабочая ширина не должна превышать расстояние от лицевой поверхности балки барьерного ограждения или троса тросового ограждения до оси тротуара.
На тротуаре ограждение устанавливают на расстоянии от 0,05 до 0,10 м от бордюрного камня до ближнего края парапетного ограждения, лицевой поверхности балки барьерного ограждения или стойки тросового ограждения (рисунок В.29ж).
8.1.14 Прогиб барьерного ограждения на мостовом сооружении без тротуаров или служебных проходов не должен превышать 1,0 м, установка тросовых ограждений в этом случае не допускается.
Барьерное ограждение устанавливают на расстоянии не менее 0,4 м от края плиты до стойки ограждения (рисунок В.28к).
8.1.15 Прогиб ограждения на мостовом сооружении с тротуарами или служебными проходами при обеспечении требуемой удерживающей способности не должен превышать значений, приведенных в таблице 22.
Барьерные и тросовые ограждения устанавливают на внешней границе полосы безопасности.
Таблица 22 - Прогиб ограждения на мостовом сооружении
Размеры в метрах | ||||
Место расположения мостового | Служебный проход | Ширина тротуара | ||
1,0 | 1,5 | 2,25 и более | ||
Прогиб ограждения | ||||
Автомобильная дорога | 0,75 | 0,75 | 1,25 | 1,5 |
Городская дорога или улица | - | 1,00 | 1,25 |
Допустимый прогиб ограждений, предназначенных для установки у пешеходных дорожек, расположенных рядом с обочиной автомобильной дороги, аналогичен допустимому прогибу ограждений на мостовых сооружениях на автомобильных дорогах в соответствии с таблицей 22.
8.1.16 Высота ограждения должна быть не менее указанной в таблице 23.
Место установки ограждения | Высота ограждения, м, при уровне удерживающей способности | ||||||||
У1 | У2 | У3 | У4 | У5 | У6 | У7 | У8-У10 | ||
Автомобильные дороги, городские дороги и улицы Разделительная полоса мостового сооружения и дороги |
0,75 | 1,10 | - | ||||||
Мостовые сооружения на автомобильных дорогах, городских дорогах и улицах | без тротуаров и служебных проходов | 1,10 | 1,30 | 1,50 | |||||
служебные проходы шириной до 0,75 м | 0,75 | 0,90 | 0,90 | 1,10 | 1,10 | 1,30 | |||
тротуары шириной не менее 1,00 м | 0,75 | 0,90 | 1,10 |
Высота верхнего троса тросового ограждения должна быть не менее 0,75 м, нижнего - не более 0,5 м, расстояния между тросами - не более 0,2 м.
8.1.17 Начальный и концевой участки барьерного, бордюрного и парапетного ограждений, устанавливаемых на обочине, устраивают с отгоном 1:20 к бровке земляного полотна. При этом балки барьерных ограждений и верхние плоскости парапетных и бордюрных ограждений начальных и концевых участков понижают до ее покрытия с уклоном 1:10 (рисунки В.30а, б), верхний трос тросового ограждения высотой 1,0 м и более - с уклоном 1:5, менее 1,0 м - 1:7.
Начальный и концевой участки одностороннего барьерного ограждения допускается выполнять с изгибом балки в форме петли длиной не менее 5,0 м, а расстояние от бровки земляного полотна до ближней стойки должно быть не менее 0,25 м (рисунок В.30в).
На начальных и концевых участках балки одно- и двусторонних барьерных ограждений и верхние плоскости парапетных и бордюрных ограждений, устанавливаемых на разделительной полосе, понижают до ее покрытия с уклоном 1:15 (рисунки В.30г-ж), верхний трос тросового ограждения высотой 1,0 м и более - с уклоном 1:5, менее 1,0 м - 1:7. Односторонние ограждения сближают к оси разделительной полосы (рисунки В.30д, е).
В местах технологических разрывов разделительной полосы, разворота, пересечений и примыканий в одном уровне, у постов дорожно-патрульной службы и т.п. допускается устраивать понижение балок или верхних плоскостей парапетных и бордюрных ограждений до земли с уклоном 1:10 (рисунки В.30г-ж).
8.1.18 Вместо начального и концевого участка бокового ограждения по 8.1.17 или перед допускается устанавливать фронтальное ограждение по ГОСТ Р 58351 с классом скорости столкновения не ниже разрешенной скорости движения на данном участке дороги.
Перед анкерным устройством начального и концевого участка тросового ограждения на протяжении 30 м устанавливают сигнальные столбики типа С3 по ГОСТ 32843 с шагом 3 м.
8.1.19 Ограждения дорожной и мостовой групп должны сопрягаться переходным участком протяженностью не менее 12 м, в пределах которого осуществляется плавный переход от удерживающей способности и высоты дорожного ограждения к удерживающей способности и высоте мостового ограждения. Переходными участками сопрягают также ограждения разных типов и конструкций. При выравнивании высот сопрягаемых ограждений уклон верха конструкций на переходном участке не должен быть круче чем 1:10, а отгон в плане - под углом не более 1:20.
Конструкция переходного участка должна быть аналогична конструкции рабочего участка ограждения, предшествующего ограждению с большей удерживающей способностью другой группы, конструкции или другого типа, с уменьшенным на этом участке не менее чем в два раза шагом стоек по отношению к шагу стоек предыдущего рабочего участка ограждения.
Переходные участки тросового и барьерного ограждений должны иметь минимальную длину участка крепления троса к балке ограждения 1,5 м и минимальную длину перекрытия ограждений двух типов - 24,0 м.
Соединительный элемент между каждым тросом и балкой барьерного ограждения или секцией парапетного и бордюрного ограждений должен выдерживать нагрузку не менее 180 кН, устройства натяжения троса (далее - талрепы) с присоединенными тросами - не менее чем прочность троса на разрыв.
8.1.20 Над переходными плитами в местах сопряжения мостового сооружения с насыпями подходов устанавливают такие же ограждения, как и на мостовом сооружении.
8.1.21 Барьерные ограждения устанавливают так, чтобы в стыках балок предыдущая по ходу движения балка накладывалась на последующую, а отклонения оси балки от ее проектного положения в плане не превышали 1:1000 от длины стыкуемых балок.
8.1.22 В блоках парапетных ограждений предусматривают соединения, препятствующие смещению или наклону блоков относительно друг друга. При монтаже блоков их относительное смещение в плане и по высоте не должно превышать 5 мм.
8.1.23 Парапетные и бордюрные ограждения не должны препятствовать отводу воды с поверхности проезжей части, обочин (полос безопасности) дорог и мостовых сооружений.
8.1.24 Тросовое ограждение не устанавливают на внутренней стороне кривой радиусом менее 400 м, на внешней стороне кривой радиусом - менее 150 м.
8.1.25 Анкерные участки тросовых ограждений размещают:
- на вершинах выпуклых кривых при чередовании выпуклой и вогнутой кривых в продольном профиле;
- на начальном участке как можно ближе к нижней точке вертикальной кривой, на конечном - к верхней;
- в местах резкого увеличения (уменьшения) продольного уклона.
Не допускается расположение анкерных участков тросовых ограждений на двух выпуклых вершинах кривой.
На участках с вертикальными кривыми следует уменьшать длины рабочих участков.
8.1.26 При использовании конструкций тросовых ограждений с переплетенными тросами талрепы размещают с шагом не более 350 м.
8.1.27 Конструкция ограждения на протяжении участка с одним и тем же уровнем удерживающей способности должна быть одинаковой.
8.1.28 Удерживающие пешеходные ограждения по ГОСТ Р 58351 применяют:
а) у внешнего края тротуара:
1) на мостовом сооружении;
2) насыпи высотой более 1,5 м;
3) подпорной стене высотой более 1 м;
б) на надземных пешеходных переходах.
8.1.29 Ограничивающие пешеходные ограждения применяют:
а) перильные или сетчатые на разделительных полосах шириной не менее 1 м между основной проезжей частью и местным проездом - напротив остановок маршрутных транспортных средств с пешеходными переходами в разных уровнях с проезжей частью в пределах длины остановочной площадки, на протяжении не менее 20 м в каждую сторону за ее пределами, при отсутствии на разделительной полосе удерживающих ограждений для автомобилей;
б) перильные на газонах шириной 1 м и менее, отделяющих проезжую часть от тротуара (при отсутствии сплошной посадки кустарника по ГОСТ Р 52766), или тротуарах - на протяжении не менее 50 м в каждую сторону:
1) от всех регулируемых наземных пешеходных переходов;
2) нерегулируемых наземных пешеходных переходов, расположенных на участках дорог или улиц:
- проходящих вдоль детских учреждений;
- местах концентрации ДТП, связанных с наездом на пешехода;
- где интенсивность пешеходного движения превышает 1000 чел./ч на одну полосу тротуара при разрешенной остановке или стоянке транспортных средств и 750 чел./ч - при запрещенной остановке или стоянке.
Протяженность ограничивающих пешеходных ограждений допускается уменьшать до начала остановочной площадки, если в пределах 50 м находятся остановки маршрутных транспортных средств, и прерывать эти ограждения на ширину въездов (выездов) на прилегающие территории.
Ограничивающие пешеходные ограждения должны выдерживать значение горизонтальной сосредоточенной нагрузки на поручни перил 0,3 кН (в любом месте по длине поручня).
8.1.30 Удерживающие пешеходные ограждения устанавливают у края надземного пешеходного перехода, у края тротуара на расстоянии не менее 0,3 м от бровки земляного полотна, подпорной стены.
Ограничивающие пешеходные ограждения на расстоянии не менее 0,3 м от лицевой поверхности бордюрного камня или от кромки проезжей части устанавливают:
- перильные или сетчатые - на разделительной полосе между основной проезжей частью и местным проездом;
- перильные - на краю тротуара или газона.
8.1.31 Высота удерживающих пешеходных ограждений должна быть не менее 1,1 м.
Высота ограничивающих пешеходных ограждений перильных должна быть от 0,8 до 1,0 м, сеток - от 1,2 до 1,5 м. При наличии двух и более перекладин нижняя перекладина должна быть на высоте не менее 0,4 м. Ограждения перильные высотой 1,0 м должны иметь не менее двух перекладин.
8.1.32 Защитные ограждения применяют для предотвращения выхода животных на проезжую часть автомобильных дорог категорий I, II и III, проложенных через (вдоль) заповедники(ов) и (или) вдоль пастбищ, обозначенных знаками 1.26, 1.27.
Ограждения устанавливают с двух сторон дороги по границе полосы отвода, за исключением мест пересечений с автомобильными и железными дорогами, а также с водными преградами (реками, каналами и т.п.).
Высота защитных ограждений должна быть не менее 2,0 м.
8.2 Направляющие устройства
8.2.1 Дорожные световозвращатели должны соответствовать ГОСТ 32866 или ГОСТ Р 50971 и быть размещены по ГОСТ 33151.
8.2.2 Дорожные сигнальные столбики должны соответствовать ГОСТ 32843 или ГОСТ Р 50970, дорожные тумбы - ГОСТ 32759 и быть установлены в местах по ГОСТ 33151, при этом столбики группы П устанавливают на разделительной полосе, выделенной только разметкой 1.2.
При установке сигнальных столбиков у водопропускных труб более одного с каждой стороны дороги расстояние между столбиками должно быть не менее 10 м.
8.2.2.1 Тумбы допускается не устанавливать при наличии в начале препятствия светофоров, дорожных знаков с внутренним освещением или фронтальных дорожных ограждений по ГОСТ Р 58351.
8.2.2.2 В темное время суток расстояние видимости тумб со световозвращающими элементами при освещении их ближним светом фар должно составлять не менее 30 м, а тумб с искусственным освещением - не менее 100 м.
8.2.3 Направляющие островки и островки безопасности должны соответствовать требованиям и быть размещены в местах по ГОСТ 33151 и ГОСТ Р 52766.
8.2.4 Дорожные сигнальные вехи должны соответствовать ГОСТ 32758. Вехи применяют на дорогах с уплотненным снежным покровом для обозначения границ (бровки) земляного полотна. Вехи устанавливают на откосах земляного полотна на расстоянии не более 0,25 м от его бровки с интервалом не более 50 м, а также в начале и конце искусственных сооружений, у водопропускных труб и в иных местах, при наличии препятствия для работы дорожной техники.
В пределах кривых в плане малого радиуса (в том числе на участках с удерживающими ограждениями) - с интервалом от 30 до 35 м.
8.2.5 Дорожные сепараторы (делиниаторы) должны соответствовать ГОСТ 32758 и быть размещены в соответствии с ГОСТ 33151.
Приложение А
(справочное)
Условные обозначения технических средств организации дорожного движения
А.1 Условные обозначения технических средств организации дорожного движения приведены в таблице А.1.
Таблица А.1
Условное обозначение объекта | Описание объекта |
![]() |
Транспортный трехсекционный светофор Т.1 с креплением на светофорной колонке или мачте освещения |
![]() |
Пешеходный светофор П.1 или П.2 |
![]() |
Транспортный трехсекционный светофор с дополнительной секцией Т.1.л с креплением к стене здания |
![]() |
Транспортный трехсекционный светофор Т.2 со стрелкой направо, прямо и направо 1 |
![]() |
Транспортный светофор Т.5 |
![]() |
Транспортный светофор Т.5 с включенными сигналами, разрешающими движение прямо и налево, направо и налево 2 |
![]() |
Транспортные светофоры Т.4.ж, Т.4 |
![]() |
Транспортные светофоры Т.6, Т.6.д, Т.6.д с Т.10 |
![]() |
Транспортные светофоры Т.7 |
![]() |
Схематическое изображение режима работы светофорной сигнализации (зеленый - зеленый мигающий - желтый - красный - красный с желтым - зеленый...) |
![]() |
Сигнал трамвайного светофора Т5, разрешающий движение в соответствующем направлении |
Знаки3: | |
![]() |
- предупреждающие |
![]() |
- приоритета 2.1 или 2.2 |
![]() |
- приоритета 2.4 и 2.5 |
![]() |
- запрещающие, предписывающие |
![]() |
- особых предписаний, информационные, сервиса, дополнительной информации (таблички) |
![]() |
Крепление дорожного знака к тросовой растяжке 4 |
![]() |
Светофорный объект (применяется на схеме улично-дорожной сети) |
1 Прочие символы, используемые на рабочей поверхности рассеивателей, обозначают аналогично этим в соответствии с направлением стрелки, изображенной на светофоре. 2 Прочие варианты сигналов светофора обозначают аналогично этим в зависимости от разрешенных направлений движения. 3 Рядом с условным обозначением знака должен быть его номер по ГОСТ Р 52290. Значения параметров, стрелки и наименования объектов на знаках наносят и на их условные обозначения. 4 Прочие способы установки знаков обозначают аналогично светофорам. |
Приложение Б (справочное)
Знаки дорожные по ГОСТ Р 52290-2004
Б.1 Предупреждающие знаки
Б.2 Знаки приоритета
Б.3 Запрешающие знаки
Б.4 Предприсывающие знаки
Б.5 Знаки особых предприсаний
* - Знаки индивидуального проектирования (здесь и далее)
Б.6 Информационные знаки
Б.7 Знаки сервиса
Б.8 Знаки допольнительной информации (таблички)
Приложение В (обязательное)
Иллюстрация к правилам применения технических средств организации дорожного движения
Приложение Г (справочное)
Разметка дорожная по ГОСТ Р 51256-2018
Г.1 Горизонтальная дорожная разметка

Г.2 Вертикальнаяьная дорожная разметка
Приложение Д (справочное)
Типы и исполнение светофороф по ГОСТ Р 52282-2004
Д.1 Транспортные светофоры
Д.2 Пешеходные светофоры
Приложение Е (обязательное)
Типы и исполнение светофороф по ГОСТ Р 52282-2004
Изображение, размещение и применение информационных световых секций
Библиография
[1] Правила дорожного движения Российской Федерации; утв. постановлением Совета Министров - Правительства Российской Федерации от 23 октября 1993 г. N 1090
[2] Технический регламент Безопасность автомобильных дорог Таможенного союза ТР ТС 014/2011
[3] Условия эксплуатации железнодорожных переездов; утв. Приказом Министерства транспорта Российской Федерации от 31 июля 2015 г. N 237
УДК 656.11.054/056.004.14:006.354 / ОКС 93.080.30
Ключевые слова: знаки дорожные, разметка, светофор, дорожное ограждение, направляющее устройство, правила применения