ГОСТ Р 51083-2015: Кресла-коляски. Общие технические условия

ГОСТ Р 51083-2015

Скачать Недействующий Печать
Все видео
Документ фактически утратил силу с 01.10.2021 Статус на 29.04.2026: Недействующий

Федеральное агентство по техническому регулированию и метрологии


Знак ГОСТа Национальный
стандарт
Российской
Федерации
ГОСТ Р 51083-2015


Кресла-коляски
Общие технические условия

Wheelchairs for disabled persons. General specifications

ОКС 11.180* / ОКП 94 5150

Дата введения 2017-01-01

Предисловие

  1. РАЗРАБОТАН Федеральным государственным унитарным предприятием "Российский научно-технический центр информации по стандартизации, метрологии и оценке соответствия" (ФГУП "СТАНДАРТИНФОРМ")
  2. ВНЕСЕН Техническим комитетом по стандартизации ТК 381 "Технические средства для инвалидов"
  3. УТВЕРЖДЕН И ВВЕДЕН В ДЕЙСТВИЕ Приказом Федерального агентства по техническому регулированию и метрологии от 28 октября 2015 г. N 2167-ст
  4. ВЗАМЕН ГОСТ Р 51083-97
Правила применения настоящего стандарта установлены в ГОСТ Р 1.0-2012 (раздел 8). Информация об изменениях к настоящему стандарту публикуется в ежегодном (по состоянию на 1 января текущего года) информационном указателе "Национальные стандарты", а официальный текст изменений и поправок - в ежемесячном информационном указателе "Национальные стандарты". В случае пересмотра (замены) или отмены настоящего стандарта соответствующее уведомление будет опубликовано в ближайшем выпуске ежемесячного информационного указателя "Национальные стандарты". Соответствующая информация, уведомление и тексты размещаются также в информационной системе общего пользования - на официальном сайте Федерального агентства по техническому регулированию и метрологии в сети Интернет (www.gost.ru)

1. Область применения

Настоящий стандарт распространяется на кресла-коляски с ручным приводом, предназначенные для передвижения пользователей массой, не превышающей 100 кг, внутри и вне помещений, приводимые в движение и управляемые пользователем самостоятельно или сопровождающим его лицом (далее - кресла-коляски), которые относятся к следующим группам по ГОСТ Р ИСО 9999:

  • с двуручным приводом колес – 12 22 03
  • с двуручным рычажным приводом – 12 22 06
  • с односторонним рычажным приводом – 12 22 09
  • с ножным приводом передних колес – 12 22 15
  • приводимые в движение и управляемые сопровождающим лицом – 12 21 18

Стандарт не распространяется:

  • на спортивные кресла-коляски
  • кресла-коляски для передвижения пользователей в положении стоя
  • кресла-коляски с электроприводом

2. Нормативные ссылки

В настоящем стандарте использованы нормативные ссылки на следующие стандарты:

  • ГОСТ 2.601-2013 Единая система конструкторской документации. Эксплуатационные документы
  • ГОСТ 9.032-74 Единая система защиты от коррозии и старения. Покрытия лакокрасочные. Группы, технические требования и обозначения
  • ГОСТ 9.301-86 Единая система защиты от коррозии и старения. Покрытия металлические и неметаллические неорганические. Общие требования
  • ГОСТ 9.302-88 Единая система защиты от коррозии и старения. Покрытия металлические и неметаллические неорганические. Методы контроля
  • ГОСТ 9.303-84 Единая система защиты от коррозии и старения. Покрытия металлические и неметаллические неорганические. Общие требования к выбору
  • ГОСТ 166-89 Штангенциркули. Технические условия
  • ГОСТ 427-75 Линейки измерительные металлические. Технические условия
  • ГОСТ 5378-88 Угломеры с нониусом. Технические условия
  • ГОСТ 7502-98 Рулетки измерительные металлические. Технические условия
  • ГОСТ 10733-98 Часы наручные и карманные механические. Общие технические условия
  • ГОСТ 10905-86 Плиты поверочные и разметочные. Технические условия
  • ГОСТ 12969-67 Таблички для машин и приборов. Технические требования
  • ГОСТ 13837-79 Динамометры общего назначения. Технические условия
  • ГОСТ 14192-96 Маркировка грузов
  • ГОСТ 14193-78 Монохлорамин ХБ технический. Технические условия
  • ГОСТ 15150-69 Машины, приборы и другие технические изделия. Исполнения для различных климатических районов. Категории, условия эксплуатации, хранения и транспортирования в части воздействия климатических факторов внешней среды
  • ГОСТ Р 15.111-97 Система разработки и постановки продукции на производство. Технические средства реабилитации инвалидов
  • ГОСТ Р 51632-2014 Технические средства реабилитации людей с ограничениями жизнедеятельности. Общие технические требования и методы испытаний
  • ГОСТ Р 53228-2008 Весы неавтоматического действия. Часть 1. Метрологические и технические требования. Испытания
  • ГОСТ Р ИСО 7176-1-2005 Кресла-коляски. Часть 1. Определение статической устойчивости
  • ГОСТ Р ИСО 7176-3-2007 Кресла-коляски. Часть 3. Определение эффективности действия тормозной системы
  • ГОСТ Р ИСО 7176-5-2010 Кресла-коляски. Часть 5. Определение размеров, массы и площади для маневрирования взамен ГОСТ Р 50605-93
  • ГОСТ Р ИСО 7176-7 Кресла-коляски. Часть 7. Метод измерения параметров и размеров сиденья и колес
  • ГОСТ Р ИСО 7176-8 Кресла-коляски. Часть 8. Технические требования и методы испытаний на статическую, ударную и усталостную прочность
  • ГОСТ Р ИСО 7176-11-96 Кресла-коляски. Испытательные манекены
  • ГОСТ Р ИСО 7176-13-96 Кресла-коляски. Методы испытаний для определения коэффициента трения испытательной поверхности
  • ГОСТ Р ИСО 7176-15-2007 Кресла-коляски. Часть 15. Требования к документации и маркировке для обеспечения доступности информации
  • ГОСТ Р ИСО 7176-16-2006 Кресла-коляски. Часть 16. Стойкость к возгоранию элементов кресла-коляски с мягкой обивкой. Требования и методы испытаний
  • ГОСТ Р ИСО 7176-22-2004 Кресла-коляски. Часть 22. Правила установки
  • ГОСТ Р ИСО 7176-23-2009 Кресла-коляски. Часть 23. Требования и методы испытаний устройств для преодоления лестниц, управляемых сопровождающим лицом
  • ГОСТ Р ИСО 7176-24-2009 Кресла-коляски. Часть 24. Требования и методы испытаний устройств для преодоления лестниц, управляемых пользователем
  • ГОСТ Р ИСО 7176-26-2011 Кресла-коляски. Часть 26. Словарь
  • ГОСТ Р ИСО 9999-2019 Вспомогательные средства для людей с ограничениями жизнедеятельности. Классификация и терминология
  • ГОСТ Р ИСО 10542-5-2011 Системы и устройства технические для инвалидов или людей с ограничениями жизнедеятельности. Устройства крепления кресел-колясок и системы удержания пользователей. Часть 5. Системы для специальных кресел-колясок
Примечание - При пользовании настоящим стандартом целесообразно проверить действие ссылочных стандартов в информационной системе общего пользования - на официальном сайте Федерального агентства по техническому регулированию и метрологии в сети Интернет или по ежегодному информационному указателю "Национальные стандарты", который опубликован по состоянию на 1 января текущего года, и по выпускам ежемесячного информационного указателя "Национальные стандарты" за текущий год. Если заменен ссылочный стандарт, на который дана недатированная ссылка, то рекомендуется использовать действующую версию этого стандарта с учетом всех внесенных в данную версию изменений. Если заменен ссылочный стандарт, на который дана датированная ссылка, то рекомендуется использовать версию этого стандарта с указанным выше годом утверждения (принятия). Если после утверждения настоящего стандарта в ссылочный стандарт, на который дана датированная ссылка, внесено изменение, затрагивающее положение, на которое дана ссылка, то это положение рекомендуется применять без учета данного изменения. Если ссылочный стандарт отменен без замены, то положение, в котором дана ссылка на него, рекомендуется применять в части, не затрагивающей эту ссылку.

3. Термины и определения

В настоящем стандарте применены термины по ГОСТ Р ИСО 7176-26, а также следующие термины с соответствующими определениями:

3.1 кресло-коляска: Техническое средство (устройство) на колесах, оснащенное системой сиденья и предназначенное для персонального передвижения одного человека (пользователя) с ограниченной подвижностью.

3.2 кресло-коляска с ручным приводом: Кресло-коляска (3.1), рассчитанное на применение мускульной силы пользователя (3.3) или сопровождающего (3.4) при его использовании.

3.3 пользователь: Лицо, поддерживаемое системой сиденья кресла-коляски.

3.4 сопровождающий: Лицо, не являющееся пользователем (3.3), которое управляет креслом-коляской.

3.5 загруженное кресло-коляска: Кресло-коляска, загруженное испытательным манекеном по ГОСТ Р 7176-11*.

* Вероятно, ошибка оригинала. Следует читать: ГОСТ Р ИСО 7176-11-96.

3.6 нормальное использование кресла-коляски: Режим работы кресла-коляски, включающий регулировки, контроль и настройку любым обслуживающим персоналом, а также рабочее состояние кресла-коляски, соответствующее инструкции по эксплуатации.

3.7 система опоры тела пользователя креслом-коляской: Части кресла-коляски, которые непосредственно поддерживают или в которых размещено тело пользователя, включая сиденье, опору спины, подлокотник и сборочный узел опоры нижней части ноги (голени и стопы).

3.8 система сиденья кресла-коляски: Совокупность поверхности сиденья и опоры спины пользователя вместе с подсоединяющими их устройствами, а также аксессуары, необходимые для размещения пользователя.

3.9 система удержания пользователя креслом-коляской: Совокупность устройств (приспособлений), предназначенных для удержания пользователя креслом-коляской в транспортном средстве при столкновении, чтобы предотвратить его выброс и/или минимизировать взаимодействие с внутренними компонентами транспортного средства или с другими пассажирами.

3.10 рабочая система торможения креслом-коляской: Совокупность элементов конструкции кресла-коляски (включая рабочий тормоз), предназначенных для остановки или замедления движения кресла-коляски.

3.11 стояночная система торможения креслом-коляской: Совокупность элементов конструкции кресла-коляски, предназначенных для удержания кресла-коляски в неподвижном состоянии с пользователем или без него, которые не требуют применения постоянно действующей силы со стороны оператора и потребления энергии от кресла-коляски.

3.12 ручка кресла-коляски: Элемент конструкции кресла-коляски, посредством которого сопровождающий с помощью мускульной силы рук может приводить в движение или наклонять кресло-коляску.

3.13 рукоятка кресла-коляски: Элемент ручки кресла-коляски (3.13), который непосредственно обхватывается кистью руки сопровождающего, приводящего в движение или осуществляющего наклон кресла-коляски.

Примечание - Рукоятка кресла-коляски может составлять целое или быть отдельно от него.

3.14 обод ручного привода кресла-коляски: Внешняя круглая часть маневрового колеса, верхняя зона которого предназначена для приведения в движение кресла-коляски с ручным приводом.

3.15 статическая устойчивость кресла-коляски: Предметный угол наклона испытательной плоскости, при которой сила давления колеса кресла-коляски, находящегося вверху на плоскости, на опорную поверхность становится равной нулю и наблюдается момент отрыва какого-либо колеса от испытательной плоскости.

3.16 безопасный наклон кресла-коляски: Установленный изготовителем кресла-коляски максимально допустимый угол наклона кресла-коляски, при котором оно выполняет все требования к статической устойчивости, эффективности торможения при движении вверх, вниз или наискосок (с поперечным наклоном).

3.17 клиренс кресла-коляски: Минимальное расстояние между загруженным креслом-коляской и землей.

3.18 диаметр вращения кресла-коляски: Диаметр наименьшей окружности, в которую может быть вписано загруженное кресло-коляска при его повороте на 360°, определяемый в соответствии с ГОСТ Р ИСО 7176-5.

3.19 ширина разворота кресла-коляски: Минимальная ширина коридора, который требуется загруженному креслу-коляске для разворота на 180° не касаясь стен, при условии, что допустимо использование движения как вперед, так и назад, определяемая в соответствии с ГОСТ Р ИСО 7176-5.

3.20 техническая документация: Комплект инструкций, руководств по применению, обслуживанию и ремонту, гарантий на кресло-коляску в целом и на отдельные его агрегаты (если предусмотрено) и других документов изготовителя, связанных с нормальным использованием кресла-коляски (3.6).

3.21 паспорт кресла-коляски: Технический документ изготовителя для покупателя об эксплуатационных характеристиках кресла-коляски.

3.22 инструкция по сервисному обслуживанию: Документ, содержащий подробную информацию по ремонту и обслуживанию кресла-коляски и предназначенный для предприятий сервисного обслуживания.

3.23 инструкция для пользователя: Инструкция, предоставляемая вместе с приобретенным креслом-коляской для информирования пользователя о сборке, эксплуатации, обслуживании, восстановлении и гарантиях на кресло-коляску.

3.24 клиническая оценка кресла-коляски: Средство, подтверждающее, что кресло-коляска соответствует требованиям Директивы ЕС 93/42 ЕЭС [1], если оно будет использоваться в соответствии с предписанием изготовителя.

Примечание - Клиническая оценка может включать в себя набор клинических данных научной литературы и по возможности результатов проведенных клинических обследований с учетом соответствующих согласованных стандартов.

3.25 реабилитационный эффект кресла-коляски: Показатели эффективности (полезности) применения кресла-коляски в целях устранения или компенсации ограничений жизнедеятельности человека (инвалида), пользователя кресла-коляски, или реализации его реабилитационного потенциала (3.26).

3.26 реабилитационный потенциал: Комплекс биологических и психофизиологических характеристик человека, а также социально-средовых факторов, позволяющих в той или иной степени реализовать его потенциальные способности. [По ГОСТ Р 15.111, пункт 3.1.7]

4. Основные параметры и размеры

4.1 Габаритные размеры кресла-коляски в рабочем (эксплуатационном) состоянии:

4.1.1 Габаритная полная длина кресла-коляски не должна превышать 1200 мм;

4.1.2 Габаритная ширина кресла-коляски не должна превышать 700 мм;

4.1.3 Габаритная высота кресла-коляски не должна превышать 1200 мм.

4.2 Габаритные размеры кресла-коляски в отложном состоянии:

4.2.1 Если кресло-коляску транспортируют или переносят, то габаритные размеры его упаковки не должны превышать нижеприведенных:

  • габаритная длина - 900 мм;
  • габаритная ширина - 350 мм;
  • габаритная высота - 1200 мм.

4.3 Клиренс

4.3.1 Наименьшее значение клиренса кресла-коляски, замеренное по методике ГОСТ Р ИСО 7176-5, должно составлять 30 мм, расстояние между землей и любой точкой, кроме колес.

Примечание - Это требование не распространяется на кресла-коляски, сконструированные для специального применения (например, на кресла-коляски с вертикализаторами или на кресла-коляски, сиденья которых могут быть опущены до земли).

4.4 Высота рукоятки

4.4.1 Высота рукоятки кресла-коляски, если она предусмотрена, должна быть в пределах 900 и 1200 мм.

4.5 Зона передвижения

4.5.1 Диаметр вращения кресла-коляски, замеренный по ГОСТ Р ИСО 7176-5, должен быть не более 1200 мм.

4.5.2 Ширина разворота кресла-коляски, замеренная по ГОСТ Р ИСО 7176-5, должна быть не более 1300 мм.

4.6 Масса

4.6.1 Масса полностью оснащенного для нормального использования кресла-коляски:

  • с ободом ручного привода должна быть не более 25 кг;
  • с рычажной системой и ручным приводом должна быть не более 35 кг.

4.7 Допускается по согласованию с заказчиком изготовление кресел-колясок, параметры которых имеют другие значения, установленные техническими условиями на кресла-коляски конкретных типов.

5. Общие требования

5.1 Кресла-коляски следует подвергать клинической оценке.

Примечание - Разъяснения для оценки клинических данных приведены в MEDDEV 2.7.1 [2].

5.2 Если изготовитель кресла-коляски предусматривает использование кресла-коляски в качестве сиденья для взрослого в автомобиле, то кресло-коляска по своим рабочим (эксплуатационным) характеристикам должно соответствовать требованиям ИСО 7176-19 [3].

Если изготовитель кресла-коляски предусматривает использование кресла-коляски в качестве сиденья в автомобиле для ребенка массой более 22 кг, то данное кресло-коляска по своим рабочим (эксплуатационным) характеристикам должно соответствовать требованиям ИСО 7176-19 [3], за исключением горизонтальных ограничений движения и выбора антропоморфных контрольных устройств (приборов), которые для этого случая устанавливают в соответствии с ГОСТ Р ИСО 10542-5.

5.3 Если изготовитель кресла-коляски предусматривает использование устройства для преодоления лестниц в качестве кресла-коляски, то устройство должно соответствовать всем требованиям настоящего стандарта, а также требованиям ГОСТ Р ИСО 7176-23 (для устройств, управляемых сопровождаемым лицом) и ГОСТ Р ИСО 7176-24 (для устройств, управляемых пользователем).

6. Требования стойкости к внешним воздействующим факторам

6.1 Климатические исполнения кресел-колясок - У 1, У 1.1, УХЛ 4.2 по ГОСТ 15150.

6.2 Кресла-коляски климатических исполнений, указанных в 6.1, должны сохранять работоспособность в процессе нормального использования при воздействии температуры, номинальные значения которой приведены в таблице 1.

Таблица 1

Климатическое исполнение Номинальное значение температуры, °С
верхнее нижнее
У 1; У 1.1 +40 -401)
УХЛ 4.2 +35 +10
1) При кратковременной эксплуатации кресла-коляски (не более 30 мин). При длительной эксплуатации кресла-коляски устанавливают нижнее номинальное значение температуры минус 25°С.

6.3 Для кресел-колясок, предназначенных для работы в условиях, отличных от указанных в таблице 1, в качестве климатических факторов принимают факторы, соответствующие условиям эксплуатации, установленным в технических условиях на кресла-коляски конкретных типов.

6.4 Кресла-коляски климатических исполнений У 1 и У 1.1 по ГОСТ 15150 должны сохранять работоспособность при резком изменении значений температуры внешней среды в диапазоне от плюс 20°С до минус 40°С в течение 15 мин.

6.5 Кресла-коляски исполнения У 1 по ГОСТ 15150 должны сохранять работоспособность при воздействии дождя, пыли и снега, значения их параметров установлены в ГОСТ 15150.

6.6 Загруженное кресло-коляска должно обладать статической устойчивостью в продольном направлении движения при включении тормозной системы. Статическая устойчивость кресла-коляски должна составлять не менее 10°.

6.7 Кресло-коляска должно стоять устойчиво (без качки), при этом значение максимального зазора между поверхностью и одним из колес не должно быть более 3 мм.

7. Требования прочности и надежности

7.1 Кресло-коляска должно удовлетворять требованиям статической, ударной и усталостной прочности по ГОСТ Р ИСО 7176-8.

7.2 Кресло-коляска должно сохранять параметры, оговоренные в настоящем стандарте, после падения в сложенном виде с высоты 1 м.

7.3 Средний срок службы до списания кресла-коляски - не менее пяти лет.

За предельное состояние принимают состояние кресла-коляски, при котором восстановление его работоспособности невозможно либо экономически нецелесообразно (стоимость годового ремонта превышает половину стоимости нового кресла-коляски).

8. Конструктивные требования

8.1 Конструкция кресла-коляски должна обеспечивать удобное размещение в нем пользователя и свободу движений в пределах зоны досягаемости (приложение А), а также обеспечивать ремонтопригодность и удобство обслуживания, включая в первую очередь доступ к отдельным сборочным единицам и деталям, их взаимозаменяемость при техническом обслуживании и ремонте.

8.2 Кресла-коляски должны выдерживать равномерно распределенную на сиденье номинальную нагрузку, создаваемую испытательным манекеном по ГОСТ Р ИСО 7176-11 (далее - манекен) массой:

  • для взрослых – (100±1) кг
  • для детей – (50±1) кг

8.3 Усилия, приложенные к ручкам кресла-коляски и каждому ободу ручного привода кресла-коляски для совершения маневра загруженного манекеном кресла-коляски (трогания с места, поворота или изменения направления движения), не должны превышать значений, указанных в таблице 2.

Таблица 2 - Усилие, прилагаемое к ручкам кресла-коляски

Вид маневра кресла-коляски Усилие H, не более, приложенное
к ручкам кресла-коляски к каждому ободу ручного привода кресла-коляски
для взрослых для детей для взрослых для детей
Трогание с места 100 50 40 20
Поворот 70 35 45 20
Изменение направления движения 70 35 60 30

8.4 Значение усилия, необходимого для перемещения движущегося со скоростью, равной 1 м/с, в заданном направлении по ровной поверхности (плиточное, асфальтовое, бетонное и т.п. покрытия), должно составлять не более 45 Н.

8.5 Значения усилий, необходимых для фиксации в определенных положениях кресла-коляски и его элементов, не должны превышать:

  • для складывания (раскладывания) кресла-коляски - 60 Н;
  • для закрепления опоры спинки - 80 Н (при этом спинка не должна откидываться при приложении усилия 200 Н);
  • для регулирования длины и угла наклона опоры стопы - 100 Н.

8.6 Требования к ходовым характеристикам

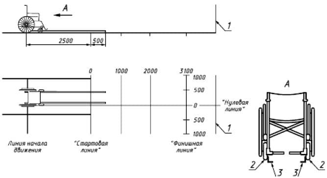
8.6.1 При движении ненагруженного кресла-коляски по инерции на пути в 3 м значение отклонения от "нулевой" линии (боковой увод) не должно превышать 500 мм (приложение Б, рисунки Б 1, Б 2, Б 3).

8.7 Если изготовителем предусмотрена разборка кресла-коляски для хранения или/и транспортирования, то:

а) не должно существовать возможности снова собрать кресло-коляску таким способом, который повлечет за собой опасность для пользователя;

б) крепления, ослабленные (освобождаемые) при разборке, не должны быть одноразового использования;

Примечание - К креплениям одноразового использования относят шурупы и саморезные винты.

в) для каждой подвижной или съемной составной части массой более 10 кг должно быть предусмотрено приспособление для удобного ее переноса (например, ручки), а изготовитель обязан представить в описании данные о таких составных частях и каким образом они должны быть использованы при разборке, поднятии, переносе и сборке кресла-коляски, чтобы снизить риски для лиц, которые манипулируют с ними.

8.8 Требования к системам торможения

8.8.1 Кресло-коляска должно быть оборудовано стояночной и, при необходимости, рабочей системами торможения, легко управляемыми пользователем или сопровождающим лицом и обеспечивающими удержание кресла-коляски с пользователем в неподвижном состоянии и снижение скорости движения кресла-коляски или полную его остановку.

8.8.2 Конструкция стояночного тормоза должна предусматривать возможность его регулировки с целью компенсации износа трущихся поверхностей, ободов колес и т.п., а также при необходимости для осуществления замены соответствующих изношенных составных частей системы торможения.

8.8.3 Стояночная система торможения должна обеспечивать надежное удержание загруженного манекеном кресла-коляски в заторможенном состоянии на плоскости с уклоном до 10°.

8.8.4 Максимальное усилие для торможения ведущих колес кресла-коляски, прилагаемое к рукоятке стояночного тормоза, должно быть не более 60 Н, а к рукоятке рабочего тормоза (ступней ноги) - не более 100 Н.

При этом усилия для приведения в действие или отключения торможения кресла-коляски в зависимости от способа воздействия на элементы системы торможения, например, на рычаг тормоза, не должны превышать значений, приведенных в таблице 3.

Таблица 3 - Максимальные усилия на рычаг тормоза

Способ воздействия на рычаг тормоза Сила воздействия на рычаг тормоза, H, не более
Пальцем 13,5±2
Рукой 60±5
Ногой (тяга) 60±5
Ступней ноги (толчок) 100±10

8.9 Требования к системам рулевого управления

8.9.1 Система рулевого управления кресла-коляски, приводимого в действие пользователем, сидящим в коляске, должна включать, как минимум, следующие элементы, необходимые для:

а) приведения в действие тормозов;

б) регулирования сиденья;

в) съема или отвода составных частей, включая съемные или поворотно-отводные подлокотники и узлы опоры нижней части ноги и т.п. для облегчения самостоятельной посадки в кресло-коляску и высадки из него;

г) приведения кресла-коляски в движение.

8.10 Требования к системе сидения

8.10.1 Если изготовитель предусмотрел возможность регулировки сиденья кресла-коляски пользователем или сопровождающим лицом в то время, когда пользователь сидит в кресле-коляске, недопустимо, чтобы сопровождающему лицу и/или пользователю пришлось принимать меры (средства), которые представляют угрозу для сопровождающего и/или пользователя в отношении безопасности передвижения и манипулирования (например, регламентированный суммарный вес пользователя и сиденья).

Вспомогательные элементы, с помощью которых пользователь должен осуществлять регулирование сиденья, должны осуществлять регулирование сиденья, должны быть доступными при всех положениях сиденья.

8.10.2 Значения геометрических параметров сиденья кресла-коляски, измеренных по ГОСТ Р ИСО 7176-7, указывают в технических условиях на кресла-коляски конкретных типов.

8.10.3 Рекомендации по конструкции сиденья кресла-коляски приведены в ДИН ЕН 12183:2009-12 [4].

8.11 Требования к колесам

8.11.1 Ведущие колеса кресла-коляски должны вращаться на горизонтальной оси без заеданий при приложении усилия, значение которого составляет не более 0,35 Н, а в заторможенном состоянии не должны проворачиваться при приложении усилия, значение которого составляет (150±1) Н.

8.11.2 Ведущие колеса кресла-коляски должны иметь следующие значения параметров:

  • развал – не более 2°
  • схождение – не более 1°
  • концентричность и биение – не более 1% радиуса колеса
Примечание - В технически обоснованных случаях допускается увеличение развала колес, значение которого устанавливают в технических условиях на кресла-коляски конкретных типов.

8.11.3 Поворотные колеса кресла-коляски должны быть самоориентирующимися и должны проворачиваться относительно вертикальной оси кронштейна легко, без заеданий.

8.11.4 Шины колес кресла-коляски должны плотно прилегать к бортам ободьев по всей окружности колеса и не оставлять на полу помещения никаких отпечатков.

8.11.5 На ободьях ведущих колес кресел-колясок с пневматическими шинами должна быть нанесена маркировка с обозначением максимального давления воздуха в шинах в Ра.

8.12 Требования к соединениям

8.12.1 Резьбовые соединения должны быть доступны для регулирования и надежно затянуты.

Значения величины и затяжки указывают в конструкторской документации и контролируют при сборке.

8.12.2 Подвижные соединения должны быть отрегулированы и иметь плавный ход. Заедания не допускаются.

Трущиеся поверхности подвижных соединений смазывают при сборке в соответствии с технологической документацией, утвержденной в установленном порядке. Места и вид смазки указывают в конструкторской документации.

8.13 Требования к материалам

8.13.1 Для кресел-колясок используют материалы, разрешенные к применению Минздравом России.

Материалы, применяемые для изготовления кресел-колясок, не должны содержать ядовитых (токсичных) компонентов, а также воздействовать на цвет поверхности (пола, одежды, кожи пользователя), с которым контактируют те или иные детали кресла-коляски при его нормальной эксплуатации.

8.13.2 Материалы кресел-колясок, с которыми контактирует тело пользователя и/или сопровождающего, должны отвечать требованиям биологической переносимости, установленным в ГОСТ Р 51632.

8.13.3 Металлические части кресла-коляски должны быть изготовлены из коррозионностойких материалов или иметь защитные или защитно-декоративные покрытия в соответствии с ГОСТ 9.032, ГОСТ 9.301, ГОСТ 9.302.

8.13.4 Риск коррозии, влияющий на безопасность пользователя или сопровождающего, следует оценить в анализе рисков.

8.13.5 Кресла-коляски должны соответствовать требованиям ГОСТ Р 51632 в отношении чистки и дезинфекции кресла-коляски.

8.13.6 Наружные поверхности кресла-коляски должны быть устойчивы к воздействию 1%-ного раствора монохлорамина ХБ по ГОСТ 14193 и растворов моющих средств, применяемых при дезинфекции.

9. Эргономические требования

9.1 Рукоятки, ручки и обод ручного привода, а также подлокотники, опоры спины и нижней части ноги и другие подобные детали и узлы кресла-коляски, которые находятся в непосредственном контакте с телом пользователя, следует подобрать согласно функциональной анатомии пользователя в соответствии с предусмотренной эксплуатацией, а их взаимное расположение и контуры должны отвечать требованиям ГОСТ Р 51632.

9.2 Требования к ручкам, рукояткам, рычагам

9.2.1 Если кресло-коляска оснащено ручками управления, размещенными позади кресла-коляски и переназначенными для сопровождающего лица, то эти ручки должны быть:

а) расположены под углом 85° к горизонтальной поверхности;

б) расположены симметрично по отношению к продольной оси кресла-коляски на минимальном расстоянии друг от друга 350 мм.

9.2.2 Если ручки кресла-коляски оснащены на концах рукоятками, то наименьшая длина рукоятки должна быть 75 мм, а диаметр рукоятки должен находиться в пределах 20 мм и 50 мм.

9.2.3 Если рукоятки управления оснащены вспомогательными элементами, например рычагами, которые приводят в действие посредством захватывания их кистью руки, то ширина захвата обоих элементов рукоятки должна быть не более 75 мм (см. рисунок 1).

Ширина захвата рукоятки кресла-коляски

А - рычаг, приводимый в действие пальцами кисти руки; В - ширина захвата рукоятки кресла-коляски

Рисунок 1 - Ширина захвата рукоятки кресла-коляски

9.3 Требования к опорам

9.3.1 Кресла-коляски должны быть оснащены опорой ступни с устройством, которое позволяет устанавливать ступню пользователя на требуемую высоту и предотвращать соскальзывание стопы пользователя назад.

9.3.2 Регулируемая высота подножки должна быть не более 25 мм.

9.3.3 Откидные поворотно-отводные или съемные опоры стопы, опоры нижней части ноги или подлокотники, которыми оснащены кресла-коляски, должны быть:

а) надежно зафиксированы в каждой предусмотренной изготовителем рабочей позиции;

б) расположены внутри зоны досягаемости пользователя в кресле-коляске (см. приложение 1), доступны и пригодны к обслуживанию пользователем или сопровождающим лицом или тем и другим без применения специального инструмента.

9.3.4 Щель (просвет) между раздельными опорами ступеней (если предусмотрена) должна быть:

  • не более 35 мм у кресел-колясок для взрослых
  • не более 35 мм у кресел-колясок для детей, или снабжена устройством, которое не позволяет ступне пользователя соскользнуть в эту щель

10. Требования безопасности

10.1 Анализ рисков

Безопасность кресла-коляски следует оценивать посредством идентификации угроз и связанных с ними рисков, применяя методы, установленные ЕН ИСО 14971 [5].

10.2 Температура наружных поверхностей кресла-коляски должна быть такая, как в процессе нормального использования кресла-коляски. Кроме того, если не установлены другие требования, испытания проводят при температуре окружающей среды (20±2)°С.

Опасности и риски, связанные с температурой поверхности узлов кресла-коляски, которые могут вступать в контакт с кожей человека во время установленных условий эксплуатации, должны быть в соответствии с ГОСТ Р 51632 обозначены и оценены в анализе рисков.

10.3 Элементы кресел-колясок с мягкой обивкой (например, сиденья, спинки, подушки безопасности, ремни безопасности и т.п.) должны быть стойкими к возгоранию от тлеющей сигареты или горящей спички в соответствии с требованиями ГОСТ Р ИСО 7176-16.

10.4 Подвижные регулируемые элементы кресел-колясок (например, такие как сиденья, опоры спинки, опоры стопы, поворотно-отводные опоры нижней части ноги и подлокотники) и неподвижные детали и узлы кресел-колясок, которые доступны для пользователя и/или сопровождающего во время эксплуатации кресла-коляски, в т.ч. складные (разборные) и регулируемые механизмы, должны соответствовать требованиям безопасности, изложенным в ГОСТ Р 51632.

10.5 Все доступные для пользователя кромки, узлы и поверхности, кресла-коляски должны быть гладкими, а также чистыми от заусенцев и острых кромок.

Необходимые выступы (если возможно) должны иметь защиту для предотвращения травм и/или повреждений.

Примечание - Кроме перечисленных в данном разделе требований к требованиям безопасности относят также совокупность требований 6.6 и 6.7; 7.1 и 7.2; 8.2 и 8.8; 8.11.1 и 8.13.1.

11. Комплектность

11.1 В комплект кресла-коляски должны входить, при необходимости, инструмент, запасные части и принадлежности, обеспечивающие техническое обслуживание кресла-коляски в течение срока службы.

11.2 Перечень запасных частей, инструмента и принадлежностей, входящих в комплект кресла-коляски, устанавливают в технических условиях на кресла-коляски конкретных типов.

11.3 В комплект кресла-коляски должна входить эксплуатационная документация, выполненная в соответствии с требованиями ГОСТ 2.601 и настоящего стандарта (раздел 15).

12. Правила приемки

12.1 Кресла-коляски подвергают испытаниям следующих категорий:

  • квалификационным (испытания установочной серии);
  • приемо-сдаточным;
  • периодическим;
  • сертификационным;
  • иповым.

Кресла-коляски, изготовляемые по разовому заказу, подвергают только приемо-сдаточным испытаниям.

12.2 При приемо-сдаточных испытаниях кресла-коляски должны быть подвергнуты сплошному (100%) контролю на соответствие требованиям 6.6; 8.6; 8.8; 8.11 и 8.12 и выборочному контролю на соответствие требованиям 4.6; 6.6; 8.1; 8.2; 8.3 и 8.13.

Выборочному контролю подвергают 1% партии кресел-колясок, но не менее трех штук.

Партией считают количество кресел-колясок, предъявляемых для контроля по одному сопроводительному документу.

12.3 Кресла-коляски, выдержавшие приемо-сдаточные испытания, должны иметь клеймо отдела технического контроля.

Результаты испытаний оформляют протоколом.

12.4 Периодическим испытаниям необходимо подвергать кресла-коляски, прошедшие приемо-сдаточные испытания.

Периодические испытания на соответствие всем требованиям настоящего стандарта и технических условий на кресла-коляски конкретного типа проводят не реже одного раза в год, кроме испытаний раздела 6, которые проводят не реже одного раза в три года.

Минимальный объем выборки для испытаний в зависимости от размера партии, за которую принимают общий выпуск кресел-колясок за интервал времени, прошедший с момента окончания предыдущих испытаний (контрольный интервал времени):

  • при размере партии до 30 шт. объем выборки не менее 1 шт.;
  • при размере партии от 31 до 60 шт. объем выборки не менее 2 шт.;
  • при размере партии св. 60 шт. объем выборки не менее 3 шт.

12.5 Испытания на устойчивость к климатическим внешним воздействующим факторам (раздел 6) и испытания на надежность (7.3) проводят на образцах установочной серии (первой промышленной партии) и в дальнейшем, при необходимости, при типовых испытаниях в случае изменения конструкции, материалов или технологии изготовления, которые могут привести к ухудшению потребительских свойств кресел-колясок.

12.6 Сертификационным испытаниям подвергают кресла-коляски на соответствие требованиям обеспечения реабилитационного эффекта и безопасности (6.6; 6.7; 7.1; 7.2; 8.2; 8.8; 8.11.1; 8.13.1 и раздел 10).

Соответствие кресел-колясок указанным требованиям обеспечения реабилитационного эффекта и безопасности определяют при сертификации в законодательно регулируемой сфере.

Примечание - К требованиям по обеспечению реабилитационного эффекта могут быть отнесены требования раздела 4, 8.1; 8.3-8.10, а также 8.11.1.

13. Методы испытаний

13.1 Общие положения

13.1.1 Методы испытаний кресел-колясок должны соответствовать требованиям настоящего стандарта и технических условий на кресла-коляски конкретных типов.

13.1.2 Испытания кресел-колясок проводят при нормальных климатических условиях по ГОСТ 15150, кроме специальных климатических условий, указанных в технических условиях на кресла-коляски конкретных типов.

13.1.3 Допускается совмещать проверки одних параметров кресла-коляски с проверками других параметров и требований с целью сократить общую продолжительность испытаний.

13.1.4 Проверку усилий (8.3; 8.4; 8.5; 8.8.4 и 8.11.1) проводят динамометром 2-го класса точности по ГОСТ 13837, при этом усилия должны быть приложены:

а) при проверке усилия перемещения - в момент трогания кресла-коляски с места в заданном направлении движения - к ручкам кресла;

б) при проверке усилия торможения - к рукоятке тормоза;

в) при проверке усилия складывания (раскладывания) - к одному из подлокотников кресла- коляски либо к раме кресла-коляски (при отсутствии подлокотников), причем эта боковая сторона кресла-коляски должна быть приподнята;

г) при проверке усилия закрепления спинки - к рукоятке фиксатора, при этом спинка в рабочем положении не должна расфиксироваться при приложении усилия, значение которого составляет 200 Н перпендикулярно к плоскости спинки (кресло-коляска должно быть нагружено манекеном и заторможено);

д) при проверке усилия регулирования длины угла наклона подножки - по касательной к рукоятке фиксатора;

е) при проверке усилия регулирования угла наклона спинки и/или сиденья - к планке фиксатора;

ж) при проверке усилия откидывания подлокотников - перпендикулярно к плоскости подлокотника на расстоянии не менее 50 мм от края в направлении отрыва.

Направления приложения усилий должны совпадать с возможными эксплуатационными.

Места приложения усилий к рычагам (рукояткам) различных форм показаны на рисунке 2.

Силовое воздействие на рычаг (рукоятки)

1 - рычаг со сферической головкой; 2 - рычаг с конусообразной головкой; 3 - рычаг с цилиндрической головкой; 4 - рычаг для захвата кистью руки; 5 - точка (ось) поворота; F - сила Н

Рисунок 2 - Силовое воздействие на рычаг (рукоятки)

13.1.5 Геометрические параметры кресла-коляски (4.5) проверяют по ГОСТ Р ИСО 7176-5.

13.1.6 Габаритные размеры кресла-коляски в рабочем состоянии (4.1) и в сложенном состоянии (4.2), клиренс кресла-коляски (4.3), высоту рукоятки (4.4), диаметр вращения (4.5.1) и ширину разворота кресла-коляски (4.5.2) проверяют по ГОСТ Р ИСО 7176-5.

13.1.7 Массу кресла-коляски проверяют взвешиванием на весах по ГОСТ Р 53228 с наибольшим пределом взвешивания 100 кг, ценой деления 0,1 кг обычного класса точности.

13.2 Проверка устойчивости к климатическим воздействующим факторам

13.2.1 Тепло- и холодоустойчивость при эксплуатации кресел-колясок (5.1.2) проверяют в камере тепла и холода. Значение температуры в камере тепла и холода должно быть установлено равным соответственно верхнему или нижнему номинальному значению температуры при эксплуатации (таблица 1). Значение допустимого отклонения температуры от нормированных значений при испытании на воздействие повышенной температуры составляет ±2°С, при испытании на воздействие пониженной температуры ±3°С.

Кресла-коляски выдерживают в камере тепла и холода при заданной температуре после достижения теплового равновесия в течение 2 ч. Время выдержки контролируют, используя часы по ГОСТ 10733 с погрешностью суточного хода, значение которой составляет не более ±1 мин.

После извлечения кресла-коляски из камеры тепла и холода в течение 5 мин (не более) проверяют внешний вид и функционирование кресла-коляски, для чего испытатель в кресле-коляске должен сделать несколько кругов разворота. Не должно быть механических дефектов, заеданий в подвижных соединениях.

13.2.2 Испытания кресла-коляски на воздействие резкого изменения температуры (6.4), дождя, пыли и снега (6.5) проводят методом подконтрольной эксплуатации путем сбора и обработки статистической информации.

13.3 Проверка статической устойчивости

13.3.1 Статическую устойчивость кресла-коляски (6.6) проверяют по ГОСТ Р ИСО 7176-1.

13.3.2 Зазор между колесом и полом (6.7) замеряют щупом 2-го класса точности на поверочной плите 2-2-2000х1000 по ГОСТ 10905.

13.4 Испытания на статическую, ударную и усталостную прочность

13.4.1 Испытания кресла-коляски на статическую, ударную и усталостную прочность (7.1) проводят по ГОСТ Р ИСО 7176-8.

13.5 Испытание на прочность после падения кресла-коляски в сложенном виде (7.2)

13.5.1 Для проведения испытания сложенное кресло-коляску поднимают над твердой плоской поверхностью (деревянной, бетонной, асфальтовой и т.п.) на высоту (1000±10) мм.

Высоту подъема кресла-коляски измеряют от испытательной поверхности до нижней плоскости колеса кресла-коляски.

13.5.2 Кресло-коляску подвешивают за одну боковую точку с креном 10° (с боку на бок) и наклоном назад на 10° так, чтобы после сбрасывания с указанной высоты кресла-коляски его заднее колесо первым коснулось испытательной поверхности.

Затем испытание повторяют, изменив наклон кресла-коляски вперед на 10° так, чтобы после сбрасывания с указанной высоты переднее колесо кресла-коляски первым коснулось испытательной поверхности.

13.5.3 После испытаний проверяют функционирование кресла-коляски, для чего испытатель должен сделать несколько кругов разворота. Не должно быть механических дефектов, остаточной деформации, разрегулирования элементов кресла-коляски и заеданий в подвижных соединениях.

13.6 Испытания на надежность

13.6.1 Надежность кресла-коляски (7.3) проверяют методом подконтрольной эксплуатации путем сбора и обработки статистической информации.

Контроль предельного состояния кресла-коляски проводят также в процессе плановых технических обслуживаний (если они предусмотрены эксплуатационной документацией) и ремонта кресла-коляски.

13.7 Проверка ходовых характеристик

13.7.1 Ходовые характеристики кресла-коляски (8.6) проверяют методом, изложенным в приложении Б.

13.8 Испытания тормозной системы

13.8.1 Эффективность действия тормозной системы кресла-коляски (8.8.1) проверяют по ГОСТ Р ИСО 7176-3.

13.9 Проверка системы рулевого управления

13.9.1 Проверку требований к системе рулевого управления кресел-колясок (8.9) осуществляют путем визуального осмотра и определения наличия в этой системе необходимых элементов.

13.10 Проверка системы сиденья

13.10.1 Геометрические параметры и размеры сиденья кресла-коляски проверяют по ГОСТ Р ИСО 7176-7.

13.11 Проверка колес

13.11.1 Геометрические параметры и размеры колес кресла-коляски проверяют по ГОСТ Р ИСО 7176-7.

13.11.2 Проверку усилий вращения колес относительно горизонтальной оси проводят путем подвешивания груза, создающего усилие, значение которого приведено в 8.11.1. Груз подвешивают на нити, закрепленной на шине (ободе) колеса касательно окружности, при этом колесо должно повернуться на предварительно закрепленной горизонтальной оси.

13.11.3 Проверку вращения колес относительно вертикальной оси (8.11.3) проводят следующим способом: колесо в ненагруженном состоянии располагают в горизонтальной плоскости, при этом вертикальная ось колеса должна быть закреплена; под действием собственного веса колесо должно повернуться и занять вертикальное положение.

13.11.4 Измерения развала, схождения, концентричности и биения колеса кресла-коляски (8.11.2) проводят по приложению В.

13.11.5 При проведении испытаний ориентация колес кресла-коляски в рабочем положении должна быть постоянной.

После каждого испытания колеса возвращают в позицию, которую они занимали до испытания.

13.11.6 Линейные и угловые параметры колеса кресла-коляски проверяют, используя штангенциркуль по ГОСТ 166, металлическую линейку на 500 мм или 1000 мм по ГОСТ 427 или рулетку по ГОСТ 7502 класса точности 2 с пределом измерений не менее 2 м и угломер по ГОСТ 5378.

13.12 Проверка ручек, рукояток, рычагов

13.12.1 Кресло-коляску устанавливают на горизонтальную испытательную поверхность 1.

13.12.2 После того, как спроецированы все позиции ручек и рукояток, установленные в 9.2, определяют, находятся ли они внутри зоны досягаемости пользователя в кресле-коляске.

13.12.3 Измеряют размеры ручек управления, предназначенных для сопровождающего лица.

13.12.4 Также измеряют ширину захвата рукоятки кресла-коляски (см. рисунок 1) в случае, если рукоятки кресла-коляски оснащены вспомогательным элементом (рычагом который приводят в действие пальцами рук).

13.12.5 По результатам осмотра и измерений принимают решение, соответствует ли кресло-коляска требованиям 9.2.

13.13 Проверка опоры стопы, опоры нижней части ноги и подлокотников

13.13.1 Размещают опору (опоры) стопы, опору нижней части ноги и подлокотники на кресле-коляске в соответствии с инструкцией изготовителя.

13.13.2 Производят регулировку опоры (опор) стопы, опоры нижней части ноги и подлокотников в соответствии с инструкцией изготовителя.

13.13.3 Измеряют максимально возможное расстояние (щель) между раздельными опорами ступней пользователя (при наличии указанной щели), а также проверяют надежность фиксации опор и подлокотников в каждой предусмотренной изготовителем позиции.

13.13.4 По результатам осмотра и замеров принимают решение, отвечают ли упомянутые опоры и подлокотники требованиям 9.3 настоящего стандарта.

13.14 Проверка материалов

13.14.1 Проверку лакокрасочных покрытий наружных поверхностей деталей кресла-коляски (8.13.2) проводят по ГОСТ 9.032 (в части внешнего вида покрытий) по образцам, утвержденным в установленном порядке.

Проверку металлических и неметаллических неорганических покрытий проводят по ГОСТ 9.302.

13.14.2 Устойчивость кресла-коляски к дезинфекции проверяют протиранием наружной поверхности кресла-коляски отжатым тампоном, предварительно смоченным в 1%-ном растворе, указанном в 8.13.6.

Испытание состоит из пяти циклов обработки. За цикл принимают двукратную протирку кресла-коляски с выдержкой в течение 15 мин после каждой. После пяти циклов обработки не должно появиться нарушений покрытий (трещин, отслоения, коррозии и т.п.).

13.15 Проверка деталей и элементов

13.15.1 Проверка поверхностей деталей и элементов кресла-коляски на отсутствие острых кромок, острых углов и заусенцев, а также выступов (выступающих деталей), представляющих угрозу для здоровья пользователя и/или сопровождающего (10.5), осуществляют путем осмотра.

14. Требования к оформлению результатов испытаний

14.1 Результаты испытаний кресел-колясок на соответствие требованиям настоящего стандарта оформляют отчетом (актом) испытаний, который должен содержать, как минимум, следующую информацию:

а) определенный номер (код) отчета (акта) испытаний;

б) наименование и адрес организации, проводившей испытания;

в) дату проведения испытаний;

г) обозначение настоящего стандарта;

д) наименование и адрес изготовителя кресла-коляски;

е) описание испытательного образца, включая товарный знак изготовителя или продавца, модель или тип, серийный номер кресла-коляски;

ж) происхождение испытательного образца;

и) температуру окружающего воздуха во время проведения каждого вида испытаний;

к) размер использованного испытательного манекена;

л) фотографии испытательного образца, в той же комплектации, что и при испытании;

м) результат испытаний;

н) заключение, отражающее, соответствует ли испытательный образец кресла-коляски всем требованиям настоящего стандарта, и если нет, то дать перечень невыполненных требований.

14.2 Результаты отдельных видов испытаний (например, испытаний тормозной системы или испытания для проверки ходовых характеристик кресла-коляски и т.п.), а также отдельных категорий испытаний (например, приемо-сдаточных испытаний) оформляют протоколом испытаний.

15. Требования к документам изготовителя

15.1 Общие положения

15.1.1 Документация, предоставляемая изготовителем кресла-коляски, должна быть выполнена на официальном языке страны, в которую экспортируется кресло-коляска, и должна включать:

а) паспорт кресла-коляски;

б) описание отличий данной модификации кресла-коляски (при наличии);

в) описание особенностей применения кресла-коляски (например, максимальная масса пользователя кресла-коляски)

г) гарантии на детали кресла-коляски (если предусматриваются);

д) информацию, которая необходима для сервисного обслуживания и ремонта кресла-коляски и для замены деталей;

е) инструкцию для пользователя.

15.2 Содержание паспорта кресла-коляски и инструкции для пользователя должно соответствовать требованиям ГОСТ Р ИСО 7176-15.

16. Маркировка, упаковка, транспортирование и хранение

16.1 На каждое кресло-коляску наносят маркировку, содержащую, как минимум: должна быть табличка, выполненная по ГОСТ 12969, на которой должны быть указаны:

а) наименование и адрес изготовителя кресла-коляски;

б) обозначение изделия и серийный номер кресла-коляски;

в) дата изготовления кресла-коляски (год, месяц);

г) ограничения использования (предельная масса пользователя, вне или внутри помещения);

д) надпись "Сделано в России";

е) знак соответствия при сертификации в законодательно регулируемой сфере, если это определено системой сертификации, а также другие данные, определенные изготовителем кресла-коляски.

16.2 На шинах колес кресла-коляски должна быть маркировка их размеров.

16.3 Размеры шрифта, способы нанесения информационных элементов и их местоположение, а также требования, обеспечивающие однозначную идентификацию кресла-коляски, устанавливают в технических условиях на кресла-коляски конкретного типа.

16.4 Упаковка кресла-коляски должна гарантировать достаточную защиту от повреждений, ухудшения качества или загрязнения кресла-коляски во время хранения и транспортирования до места назначения.

16.5 Конкретные способы упаковывания кресел-колясок, а также применяемые при этом упаковочные материалы и тип транспортной тары должны быть указаны в технических условиях на кресла-коляски конкретных типов.

16.6 Транспортная маркировка грузовых мест - по ГОСТ 14192.

На таре должны быть нанесены манипуляционные знаки: "Верх", "Беречь от влаги", "Хрупкое. Осторожно".

16.7 Транспортирование кресел-колясок осуществляют крытым транспортом любого вида в соответствии с правилами перевозки грузов, действующими на транспорте данного вида.

16.8 Условия хранения кресел-колясок - 2 по ГОСТ 15150.

17. Гарантии изготовителя

17.1 Изготовитель гарантирует соответствие кресел-колясок требованиям настоящего стандарта, технических условий на кресла-коляски конкретных типов при соблюдении условий транспортирования, хранения и эксплуатации.

17.2 Гарантийный срок эксплуатации кресел-колясок - один год со дня ввода в эксплуатацию.

Гарантийный срок хранения кресел-колясок - два года со дня их изготовления.

Приложения

Приложение А. Зоны досягаемости пользователя в кресле-коляске

Приложение А
(рекомендуемое)

Зоны досягаемости для мужчин в кресле-коляске

Рисунок А.1 - Зоны досягаемости для мужчин в кресле-коляске

Зоны досягаемости для женщин в кресле-коляске

Рисунок А.2 - Зоны досягаемости для женщин в кресле-коляске

Приложение Б. Проверка ходовых характеристик кресел-колясок

Приложение Б
(обязательное)

Б.1 Метод 1

Подготавливают испытательную дорожку, включающую в себя твердый ровный скат и твердую горизонтальную испытательную плоскость, как показано на рисунке Б.1. Отмечают "нулевую" линию, как показано на рисунке Б.1. Подготавливают кресло-коляску в соответствии с требованиями 5.2 ГОСТ Р ИСО 7176-7.

Устанавливают кресло-коляску на скате, как показано на рисунке Б.1, при этом колесо кресла-коляски должно находиться на "нулевой" линии. Необходимо убедиться, что поворотные колеса кресла-коляски выровнены с "нулевой" линией.

Отпускают кресло-коляску так, чтобы оно скатилось по скату на горизонтальную испытательную плоскость. Измеряют и регистрируют степень и направление любого отклонения кресла-коляски от "нулевой" линии, когда оно достигнет отметки 3 м. Испытание повторяют дважды. Рассчитывают среднее значение отклонения от "нулевой" линии по результатам трех испытаний.

Б.2 Метод 2

Подготавливают испытательную дорожку, представляющую собой твердую горизонтальную испытательную плоскость, как показано на рисунке Б.2. Подготавливают кресло-коляску в соответствии с требованиями 5.2 ГОСТ Р ИСО 7176-7.

Приводят вручную в движение кресло-коляску так, чтобы одно из ведущих колес кресла-коляски вращалось вдоль и параллельно "нулевой" линии со скоростью, которая позволила бы при отпуске кресла-коляски на "стартовой" линии остановиться ему в пределах 0,5 м после пересечения "финишной" линии.

Примечание - Необходимо обеспечить сопоставимость результатов испытаний, обеспечив одинаковые скорость и направление движения, чего достигают соответствующей тренировкой.

Измеряют и регистрируют степень и направление любого отклонения кресла-коляски от "нулевой" линии. Испытание повторяют дважды. Рассчитывают среднее значение отклонения от "нулевой" линии по результатам трех испытаний.

Б.3 Метод 3

Подготавливают испытательную дорожку, представляющую собой твердую горизонтальную испытательную плоскость, как показано на рисунке Б.3. Устанавливают два направляющих рельса высотой приблизительно 30 мм так, чтобы расстояние между ними было на 3-6 мм меньше наименьшего расстояния между колесами кресла-коляски, а ведущее колесо кресла-коляски находилось на "нулевой" линии (рисунок Б.3). Подготавливают кресло-коляску в соответствии с требованиями 5.2 ГОСТ Р ИСО 7176-7. Устанавливают кресло-коляску на линии начала движения.

Прикрепляют трос к ручке кресла-коляски и тянут его с усилием, обеспечивающим такую скорость, которая позволила бы при отпуске кресла-коляски на "стартовой" линии остановиться ему в пределах 0,5 м после пересечения "финишной" линии.

Примечание - Необходимо обеспечить сопоставимость результатов испытаний, обеспечив одинаковые скорость на "стартовой" линии и направление движения, чего достигают тренировкой.

После проведения указанного выше испытания измеряют и регистрируют степень и направление любого отклонения кресла-коляски от "нулевой" линии. Испытание повторяют дважды. Рассчитывают среднее значение отклонения от "нулевой" линии по результатам трех испытаний.

Рисунок Б.1

1 - предохранительная сетка; 2 - удерживающая система

Рисунок Б.1

Рисунок Б.2

1 - предохранительная сетка

Рисунок Б.2

Рисунок Б.3

1 - предохранительная сетка; 2 - переднее колесо; 3 - направляющие рельсы

Рисунок Б.3

Приложение В. Измерение параметров установки колеса кресла-коляски

Приложение В
(рекомендуемое)

В.1 Измерение развала колес

Развал колес

1 - отрицательный угол развала; 2 - положительный угол развала

Рисунок В.1 - Развал колес

Рисунок В.1 - Развал колес: 1 - отрицательный угол развала; 2 - положительный угол развала

Развал колес кресла-коляски - отклонение плоскостей вращения колес от вертикальной плоскости (рисунок В.1).

Развал - положительный, если отклонение плоскости вращения колеса направлено наружу.

Развал - отрицательный, если отклонение плоскости вращения колеса направлено внутрь.

При вертикальном положении плоскости вращения колеса развал - нулевой.

Все измерения проводят от обода колеса, но не от краев шин.

Развал колес кресла-коляски определяют углом отклонения плоскости вращения колеса от вертикальной плоскости.

Для измерения угла развала колес применяют угломер с нониусом по ГОСТ 5378 с погрешностью измерений не более 1°.

В.2 Измерение углов прямого и обратного схождения колес

Схождение колес

а: прямое схождение колес – б: обратное схождение колес

M - вертикальное расстояние при положении колеса, которое соответствует среднему положению смещения; X - точка касания базовой плоскости подножки; Y - наименее удаленная боковая точка обода

Рисунок В.2 - Схождение колес

Рисунок В.2 - Схождение колес: M - вертикальное расстояние при положении колеса, которое соответствует среднему положению смещения; X - точка касания базовой плоскости подножки; Y - наименее удаленная боковая точка обода
а - прямое схождение колес; б - обратное схождение колес

Прямое схождение - положение (разворот) колес, при котором передние части колес ближе друг к другу, чем задние (У > Х).

Обратное схождение - положение (разворот) колес, при котором задние части колес ближе друг к другу, чем передние (Х > У).

Угол схождения (расхождения) колес измеряют в горизонтальной плоскости, проходящей через ось (оси) колеса.

Для выполнения измерений отмечают на ободах колес точки М произвольно или используя "точку максимального биения колеса", затем вращают колеса таким образом, чтобы отмеченная точка М была в положении "три часа (3 ч)" - провести измерение.

Измерение повторяют при положении точки М на отметке 3 ч.

Измерение повторяют при положении точки М на отметке 9 ч.

Измерение повторяют при положении точки М на отметке 9 ч.

Результаты измерений используют для определения значений углов прямого или обратного схождения колес.

Угол прямого схождения равен arc sin (У-Х)/2D.

Угол обратного схождения равен arc sin (Х-У)/2D, где D - диаметр обода колеса, мм.

В.3 Измерение концентричности и биения колеса

Ширина захвата рукоятки кресла-коляски

М - вертикальное расстояние при положении колеса, которое соответствует среднему положению смещения; δ - степень точности изготовления колеса в радиальном направлении; ο - степень искривления колеса в осевом направлении

Рисунок В.3 - Концентричность и биение колеса

Концентричность колеса - степень точности изготовления колеса в радиальном направлении (рисунок В.3, а).

Биение колеса - степень искривления колеса в осевом направлении (рисунок В.3, б).

Измерение концентричности и биения проводят не снимая колесо с кресла-коляски либо устанавливая снятое колесо на стенде, путем измерения расстояния δ от обода колеса до фиксированной базовой точки М.

Измерения повторяют до нахождения максимального δmax и минимального δmin расстояний.

Разность между максимальным и минимальным расстояниями от обода до фиксированной точки в радиальном направлении (δmax - δmin) является мерой концентричности, а в осевом направлении (δmax - δmin) - мерой биения.

Библиография

[1] Директива 93/42/ЕЭС от 14 июня 1993 г. "О медицинских продуктах (изделиях)" (Richtlinie 93/42/EWG vom 14 June uber Medizinprodukte 1993)

[2] MEDDEV 2.7.1 Оценки клинических данных. Руководство для изготовителей и уполномоченных органов сертификации (MEDDEV)

[3] ИСО 7176-19:2008 (ISO 7176-19:2008 Wheelchairs - Part 19: Wheeled mobility devices for use as seats in motor vehicles) Кресла-коляски. Часть 19. Колесные передвижные средства, используемые в автомобилях в качестве сиденья

[4] ДИН ЕН 12183:2009-12 (Немецкая версия EN 12183:2009 Rollstuhle mit Muskelkraftantrieb - Anforderungen und Prufverfahren; Deutsche Fassung EN 12183:2009) Кресла-коляски с ручным приводом. Требования и методы испытаний

[5] ЕН ИСО 14971:2009 (ИСО 14971) (EN 14971, Medical deines - Application of risk management to medical devices) Изделия медицинские. Применение менеджмента риска к медицинским продуктам (изделиям)


ДК 615.478.3.001.33:006.354 / ОКС 11.180 / Р23 / ОКП 94 5150

Ключевые слова: кресло-коляска, технические требования, методы испытаний, правила приемки, гарантии изготовителя, маркировка, упаковка, транспортирование и хранение