ГОСТ Р 51024-2012: Аппараты слуховые электронные реабилитационные. Технические требования и методы испытаний

ГОСТ Р 51024-2012

Скачать Действующий Печать
Все видео
Дата введения в действие: 01.04.2014 Статус на 29.04.2026: Действующий

Федеральное агентство по техническому регулированию и метрологии


Знак ГОСТа Национальный
стандарт
Российской
Федерации
ГОСТ Р 51024-2012


Аппараты слуховые электронные

реабилитационные

Технические требования и методы испытаний

Предисловие

  1. РАЗРАБОТАН Обществом с ограниченной ответственностью “Исток Аудио Трейдинг”.
  2. ВНЕСЕН Техническим комитетом по стандартизации ТК 381 «Технические средства для инвалидов».
  3. УТВЕРЖДЕН И ВВЕДЕН В ДЕЙСТВИЕ Приказом Федерального агентства по техническому регулированию и метрологии от № .
  4. Стандарт соответствует стандартам МЭК серии 60118 и серии 60318.
  5. ВЗАМЕН ГОСТ Р 51024-97

Правила применения настоящего стандарта установлены в статье 26 Федерального закона от 29 июня 2015 г. № 162-ФЗ «О стандартизации в Российской Федерации». Информация об изменениях к настоящему стандарту публикуется в ежегодном (по состоянию на 1 января текущего года) информационном указателе «Национальные стандарты», а официальный текст изменений и поправок – в ежемесячном информационном указателе «Национальные стандарты». В случае пересмотра (замены) или отмены настоящего стандарта соответствующее уведомление будет опубликовано в ближайшем выпуске информационного указателя «Национальные стандарты». Соответствующая информация, уведомление и тексты размещаются также в информационной системе общего пользования – на официальном сайте Федерального органа исполнительной власти в сфере стандартизации в сети Интернет (www.gost.ru)

1. Область применения

Настоящий стандарт распространяется на слуховые аппараты индивидуального пользования с электронным усилением (далее – СА) предназначенные для слухопротезирования по воздушному и костному звукопроведению.

Настоящий стандарт не распространяется на СА:

  • имеющие имплантируемые или жестко соединяемые с телом человека части.

Настоящий стандарт устанавливает требования к СА, реализуемым для потребления на территории Российской Федерации и экспортируемым в страны с умеренным климатом.

В зависимости от потенциального риска применения относят к классу 2а по ГОСТ Р 50444.

СА по воспринимаемым механическим воздействиям относят к группе 3 по ГОСТ Р 50444, но при задании требований к вибропрочности и ударопрочности.

Вид климатического исполнения СА – У, категория 1.1 по ГОСТ 15150, но только для работы при температурах от плюс 40 °С до минус 10 °С и номинальном значении относительной влажности 85% при плюс 25 °С и более низких температурах без конденсации влаги.

2. Нормативные ссылки

В настоящем стандарте использованы нормативные ссылки на следующие стандарты:

ГОСТ 14254 Степени защиты, обеспечиваемые оболочками (Код IP).

ГОСТ 15150 Машины, приборы и другие технические изделия. Исполнения для различных климатических районов. Категории, условия эксплуатации, хранения и транспортирования в части воздействия климатических факторов внешней среды.

ГОСТ Р 51407 Совместимость технических средств электромагнитная. Слуховые аппараты. Требования и методы испытаний.

ГОСТ Р 50444 Приборы, аппараты и оборудование медицинские. Общие технические условия.

ГОСТ Р ИСО 2859-1 Статистические методы. Процедуры выборочного контроля по альтернативному признаку. Часть 1. Планы выборочного контроля последовательных партий на основе приемлемого уровня качества.

ГОСТ Р ИСО 15223-1 Изделия медицинские. Символы, применяемые при маркировании на медицинских изделиях, этикетках и в сопроводительной документации. Часть 1. Основные требования

ГОСТ Р ИСО/МЭК 9126 Информационная технология. Оценка программной продукции. Характеристики качества и руководства по их применению.

ГОСТ Р ИСО/МЭК 12119 Информационная технология. Пакеты программ. Требования к качеству и тестирование.

ГОСТ Р МЭК 60118-7 Электроакустика. Аппараты слуховые. Часть 7. Измерение рабочих характеристик слуховых аппаратов для обеспечения качества при производстве и поставке.

ГОСТ Р МЭК 60118-14 Аппараты слуховые программируемые. Технические требования к устройствам цифрового интерфейса. Размеры электрических соединителей.

ГОСТ Р МЭК 60318-5 Электроакустика. Имитаторы головы и уха. Часть 5. Эталонная камера объемом 2см3 для измерения параметров слуховых аппаратов и телефонов с ушными вкладышами.

ГОСТ Р МЭК 62304 Изделия медицинские. Программное обеспечение. Процессы жизненного цикла.

IEC 60318-6 Электроакустика. Имитаторы человеческой головы и уха. Часть 6. Механическая муфта для измерения на костном вибраторе.

Примечание – При пользовании настоящим стандартом целесообразно проверить действие ссылочных стандартов в информационной системе общего пользования – на официальном сайте Федерального агентства по техническому регулированию и метрологии в сети Интернет или по ежегодному информационному указателю "Национальные стандарты", который опубликован по состоянию на 1 января текущего года, и по выпускам ежемесячного информационного указателя "Национальные стандарты" за текущий год. Если заменен ссылочный стандарт, на который дана недатированная ссылка, то рекомендуется использовать действующую версию этого стандарта с учетом всех внесенных в данную версию изменений. Если заменен ссылочный стандарт, на который дана датированная ссылка, то рекомендуется использовать версию этого стандарта с указанным выше годом утверждения (принятия). Если после утверждения настоящего стандарта в ссылочный стандарт, на который дана датированная ссылка, внесено изменение, затрагивающее положение, на которое дана ссылка, то это положение рекомендуется применять без учета данного изменения. Если ссылочный стандарт отменен без замены, то положение, в котором дана ссылка на него, рекомендуется применять в части, не затрагивающей эту ссылку.

3. Термины, определения и сокращения

В настоящем стандарте применены следующие термины с соответствующими определениями и сокращениями

3.1 автоматическая регулировка усиления; (АРУ) (automatic gain control; AGC): Устройство (средства) в СА, позволяющее автоматически регулировать усиление в зависимости от уровня входного сигнала.

3.2 акустическая камера (acoustic coupler): Устройство с полостью определенных формы и объема, которое используется для калибровки телефона в сочетании с микрофоном, предназначенное для измерения уровня звукового давления, создаваемого в пределах этой полости.

Примечание – В зависимости от категории испытаний выбирают имитатор закрытого уха в соответствии с ГОСТ Р МЭК 60318-4 или эталонную камеру объемом 2 см3 в соответствии с ГОСТ Р МЭК 60318-5.

3.3 акустический вход: Точка или область точек, непосредственно прилегающая к акустически прозрачному элементу конструкции СА, через который осуществляется ввод звуковой энергии.

3.4 акустический выход: Точка или область точек, непосредственно прилегающая к акустически прозрачному элементу конструкции СА, через который осуществляется вывод звуковой энергии.

3.5 акустическое усиление (acoustic gain): Разность в децибелах между уровнем звукового давления, развиваемым СА воздушного звукопроведения в акустической камере связи, и уровнем звукового давления в точке измерения.

3.6 акустомеханическая чувствительность: Частное от деления переменной силы, производимой в механической камере связи СА, на звуковое давление в контрольной точке СА.

3.7 выходной уровень звукового давления (output sound pressure level); ВУЗД (OSPL): Уровень звукового давления, обусловленный работой СА в акустической камере связи при соединении ее с акустическим выходом СА.

3.8 выходной уровень звукового давления при входном уровне звукового давления, равном 90 дБ; ВУЗД90 (OSPL90): Выходной уровень звукового давления, создаваемый в акустической камере связи при входном уровне звукового давления, равном 90 дБ, и положении регулятора усиления СА и других регуляторов, обеспечивающем максимальное акустическое усиление.

3.9 выходной уровень силы; (ВУС) (Output Force Level; OFL): Уровень силы, развиваемой на заданной частоте в механической камере костным вибратором СА.

3.10 выходной уровень силы при входном уровне звукового давления, равном 90 дБ; (ВУС90) (OFL90): Выходной уровень силы, получаемый в механической камере связи при входном уровне звукового давления, равном 90 дБ (на заданной частоте) в положении регулятора усиления, обеспечивающем максимальный уровень акустомеханической чувствительности.

3.11 имитатор закрытого уха (occluded-ear simulator): Устройство, которое имитирует внутреннюю часть слухового канала от конца ушного вкладыша до барабанной перепонки.

3.12 индивидуальный ушной вкладыш: Ушной вкладыш, изготовленный по слепку ушной раковины и наружного слухового прохода пациента.

3.13 индукционная катушка: Устройство, предназначенное для приема электромагнитных колебаний звуковой частоты и преобразования их в электрические.

индукционная, петля, система, гост, доступная, среда, глухой, слабослышащий, вертикаль, тифлоцентр, сурдо, инвалид, ограничения, слух
Индукционная система VERT-80 Локатор Артикул: 10699 Размеры: 800x1800x710 мм Производитель в России: ООО «Вертикаль» Скачать тех. задание

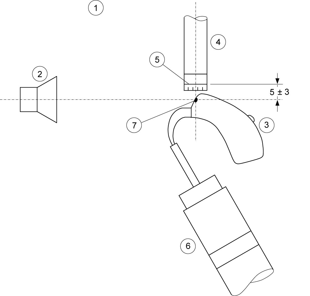
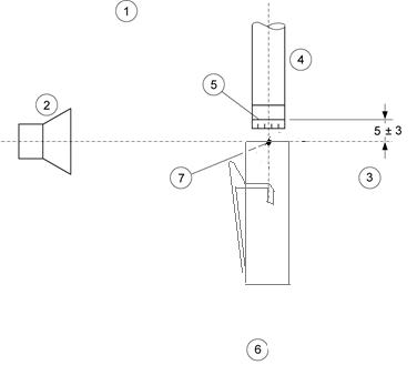
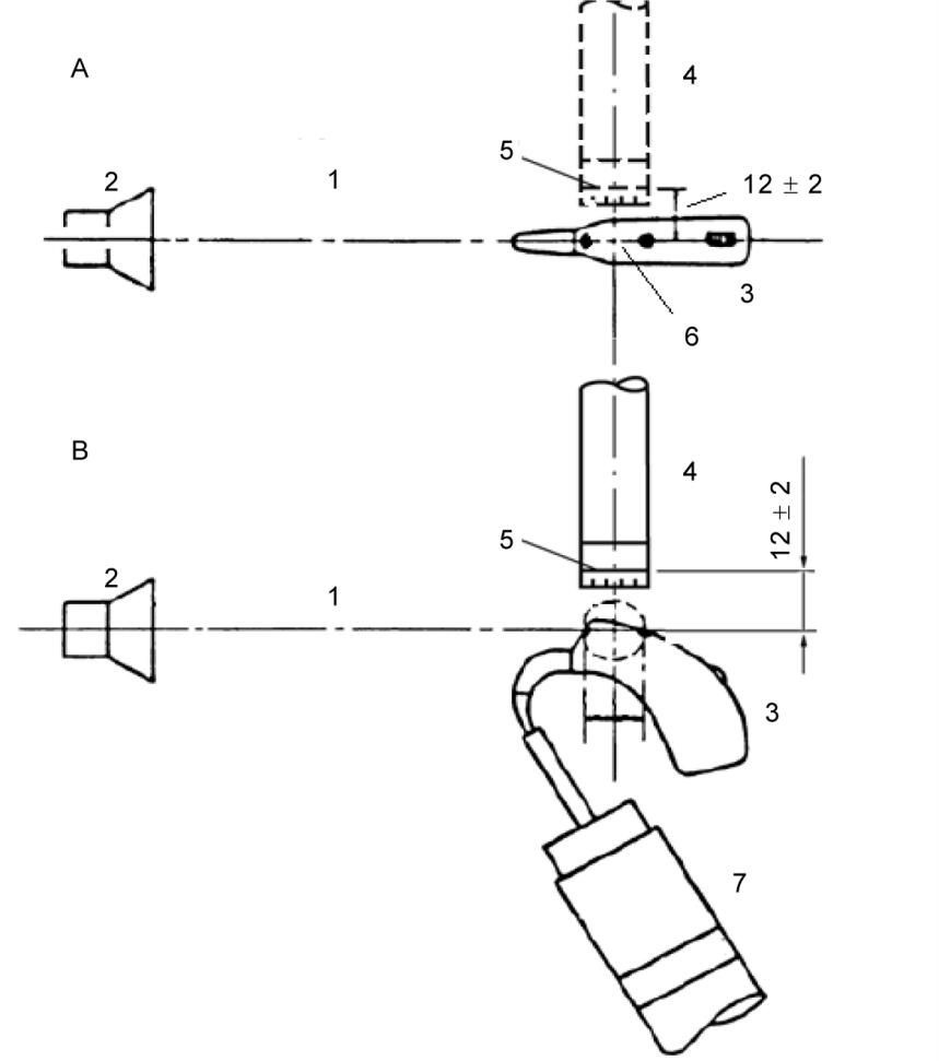
3.14 испытательная точка (test point): точка в месте испытания, к которой относят измерения уровня звукового давления, или в которой определяется уровень напряженности магнитного поля, и в которой для целей измерения располагают контрольную точку слухового аппарата.

3.15 контрольная ориентация СА: Ориентация СА в испытательном пространстве относительно источника звука, соответствующая ориентации СА при реальном расположении на человеке, обращенном лицом к источнику звука.

3.16 контрольная точка (reference point): точка слухового аппарата, выбранная для определения пространственного положения СА.

3.17 контрольная частота: частота, на которой регулятор усиления устанавливают в контрольное положение; контрольная частота должна быть указана в технических условиях на СА конкретных типов.

3.18 контрольная настройка при испытании регулятора усиления (reference test setting of the gain control); КНИ (RTS): Настройка регулятора усиления слухового аппарата воздушного звукопроведения для входного УЗД, равного 60 дБ, которая обеспечивает достижение усиления СЗВЧ в пределах ± 1,5 дБ СЗВЧ ВУЗД90 минус 77 дБ.

Примечание – Если СЗВЧ полного усиления для входного УЗД, равного 60 дБ, будет меньше, чем СЗВЧ ВУЗД90 минус 77 дБ, КНИ необходимо установить в положение максимального усиления.

3.19 контрольное положение регулятора усиления в испытательных условиях: Установка регулятора усиления слухового аппарата костного звукопроведения, которая обеспечивает получение выходного уровня силы
на 15 ± 1 дБ менее ВУС90 для входного уровня звукового давления, равного 60 дБ на контрольной частоте. Для некоторых слуховых аппаратов характерна более высокая контрольная частота 2500 Гц (так называемые высокотоновые слуховые аппараты). Если контрольная частота 2500 Гц, это должно быть указано в технических условиях.

Примечание – Если заданный уровень акустомеханической чувствительности недостижим, следует установить регулятор усиления в положение, обеспечивающее максимальный УАМЧ.

3.20 костный вибратор: Электромеханический преобразователь, предназначенный для создания слухового восприятия путем вибрации костей черепа.

3.21 коэффициент компрессии: Отношение изменения входного УЗД к соответствующему изменению выходного УЗД при работе АРУ в установившемся режиме.

3.22 максимальное акустическое усиление: Наибольшее значение акустического усиления СА на частотной характеристике полного акустического усиления.

3.23 максимальный ВУЗД90: Максимальный уровень на частотной характеристике ВУЗД90.

3.24 максимальный уровень акустомеханической чувствительности: Наибольшее значение уровня акустомеханической чувствительности, определяемое по частотной характеристике наибольшего уровня силы.

3.25 метод замещения: Метод измерения, при котором СА и микрофон, применяемый для измерения УЗД в свободном поле, попеременно помещают в одну и ту же точку звукового поля.

3.26 метод давления: Метод измерения, при котором входной УЗД регулируют у акустического входа СА с помощью контрольного микрофона, градуированного по давлению, для исключения влияния дифракции у СА.

3.27 механическая камера связи; (Mechanical coupler): Устройство, обеспечивающее определенный механический импеданс вибратора, прижимаемого с определенной статической силой, и оборудованное механоэлектрическим преобразователем для определения уровня переменной силы на поверхности контакта между вибратором и механической камерой связи.

3.28 напряжение питания: Напряжение на контактах включенного СА, создаваемое источником питания.

3.29 номинальная частотная характеристика: Частотная характеристика, указанная в технических условиях на СА конкретных типов.

3.30 номинальное значение: Значение параметра СА, указанное в технических условиях на СА конкретных типов.

3.31 основная частотная характеристика: Частотная характеристика, получаемая при входном УЗД, равном 60 дБ, и контрольной настройкой при испытании регулятора усиления (КНИ).

3.32 основная частотная характеристика уровня силы: Частотная характеристика уровня силы, получаемая при входном УЗД, равном 60 дБ, и контрольном положении регулятора усиления.

3.33 полное акустическое усиление (full-on gain); ПУ (FOG): Акустическое усиление в линейном динамическом диапазоне работы СА, получаемое при измерении СА, когда регулятор усиления установлен в положение максимума, а другие регуляторы установлены в заданные положения.

3.34 полный уровень акустомеханической чувствительности: Уровень акустомеханической чувствительности в линейном динамическом диапазоне работы СА, получаемый при измерении СА, когда регулятор усиления установлен в положение максимума, а другие регуляторы установлены в заданные положения.

3.35 проверяемый диапазон частот: Диапазон частот, в котором определяют параметры СА.

3.36 программное обеспечение; ПО: компьютерная программа для настройки программируемых и триммерно-программируемых слуховых аппаратов.

3.37 пространство проведения испытаний (test space): пространство, в котором находится точка измерения, куда помещен слуховой аппарат для проведения испытаний.

3.38 регулятор усиления; регулятор коэффициента усиления, который управляется вручную или при помощи программного обеспечения.

3.39 свободное звуковое поле; Звуковое поле, в котором влияние отражающих поверхностей пренебрежимо мало.

Примечание – Условие свободного звукового поля считают выполненным, если значения УЗД в точках на расстоянии 100 мм спереди и сзади от точки измерения по оси, соединяющей источник звука и точку измерения, отклоняются от значений согласно закону обратной пропорциональности расстоянию (закону 1/r) не больше, чем на ±2 дБ в диапазоне частот 200-400 Гц и на ±1 дБ в диапазоне частот 200-8000 Гц. В точках на расстоянии 100 мм справа, слева, выше и ниже точки измерения УЗД должен отличаться не более чем на ±1 дБ от УЗД в точке измерения в диапазоне частот 200-8000 Гц.

3.40 среднее значение на высоких частотах (high-frequency average; СЗВЧ (HFA): Среднее значение усиления или УЗД в децибелах на частотах 1000, 1600 и 2500 Гц.

3.41 среднее значение на высоких частотах ВУЗД90 (high-frequency average OSPL90); СЗВЧ ВУЗД90 (HFA-OSPL90): Среднее значение на высоких частотах уровней ВУЗД90.

3.42 среднее значение на высоких частотах полного усиления (high-frequency average full-on gain); СЗВЧ ПУ (HFA-FOG): СЗВЧ усиления для входного УЗД, равного 50 дБ, когда регулятор усиления слухового аппарата находится в положении его максимального усиления.

3.43 среднее значение для специального назначения (special purpose average); СЗСН (SPA): Среднее значение усиления или УЗД в дБ на 3-х частотах специального назначения для слухового аппарата специального назначения.

Примечание – Изготовитель должен установить и заявить три треть-октавных полосы частот специального назначения, разделенных двумя третями октавы.

3.44 уровень звукового давления (sound pressure level); УЗД (SPL): Выраженное в децибелах отношение звукового давления акустического сигнала к звуковому давлению, равному 2 × 10-5 Па.

3.45 уровень силы: Выраженное в децибелах отношение переменной силы механического сигнала к силе, равной 10-6 Н.

3.46 уровень акустомеханической чувствительности; УАМЧ: Выраженное в децибелах отношение акустомеханической чувствительности к чувствительности, равной

вычисляют как разность между ВУС и входным УЗД.

3.47 магнитоакустическая чувствительность: При определенной частоте и в условиях преимущественно линейного входа/выхода, показатель звукового давления в паскалях (Па), создаваемого слуховым аппаратом в акустической камере, и напряженность магнитного поля в миллиамперах на метр (мА/м) в точке замера.

3.48 триммер (trimmer): неоперативный регулятор под шлиц.

3.49 уровень магнитоакустической чувствительности (magneto-acoustical sensitivity level); УМАЧ (MASL): Двадцатикратный десятичный логарифм отношения значения магнитоакустической чувствительности к опорной чувствительности, выраженной значением 2×10-5 Па/(1мA/м).

3.50 усиление звука на каждой частоте измерения: разница в децибелах, получаемая вычитанием УЗД на входе СА из УЗД на выходе СА, измеренным в акустической камере

3.51 ушной вкладыш: Устройство, соединяющее акустический выход СА с наружным слуховым проходом пациента и предназначенное для подведения усиленных акустических сигналов.

3.52 характеристика входа-выхода (input-output function): Одночастотный график УЗД акустической камеры на ординате, как функция входного УЗД на абсциссе с равными делениями шкалы в децибелах на каждой оси.

3.53 частотная характеристика: График зависимости УЗД или ВУС, создаваемого СА в акустической камере связи или механической камере связи, от частоты при определенных условиях.

3.54 чувствительность индукционной катушки: Выходной УЗД, развиваемый СА при работе с индукционной катушкой в переменном магнитном поле напряженностью 1 мА/м.

Примечание – Чувствительность индукционной катушки определяют путем непосредственного измерения или пересчетом результатов измерений, полученных при других значениях напряженности магнитного поля.

3.55 чувствительность по электрическому входу: Напряжение, при подаче которого на электрический вход СА на его выходе достигается УЗД, равный выходному УЗД при подаче на акустический вход УЗД, равного 70 дБ на контрольной частоте при неизменном положении регулятора усиления.

3.56 эталонная камера объемом 2 см3; (2 cm3 coupler): Полость определенной формы и объема, применяемая для испытаний телефонов совместно с градуированным микрофоном, предназначенным для измерения УЗД, которое создается в этой полости; номинальный эффективный объем камеры равен 2 см3.

3.57 эффективный объем (effective volume): Эквивалентный объем воздуха, находящегося в полости камеры и создающего акустическое согласование камеры и микрофона на частоте 250 Гц.

4. Классификация и основные параметры СА

4.1 СА подразделяют по виду звукопроведения на:

  • СА воздушного звукопроведения;
  • СА костного звукопроведения.

4.2 СА в зависимости от конструктивного исполнения подразделяют на основные типы:

  • внутриушные СА
  • невидимый в канале СА – «IIC» (Invisible-In-Canal);
  • глубококанальный СА – «CIC» (Completely-In-the-Canal);
  • внутриканальный СА – «ITC» (In-The-Canal);
  • внутриушной СА – «ITE» (In-The-Ear);
  • заушные СА «ВТЕ» (Behind-The-Ear);
  • заушные СА с выносным телефоном

  • телефон в ухе – «RITE» (receiver in the ear);
  • телефон в канале – «RIC» (Receiver-in-canal);
  • очковые СА – СА в очковой оправе;
  • карманные СА «BW» (Body-Worn).

Указанные основные типы не ограничивают возможные конструктивные исполнения СА, но служат ориентиром для определения предъявляемых к СА технических требований и способов соединения с имитатором уха, камерой малого объема или механической камерой связи.

4.3 В соответствии с принципами действия СА подразделяются на:

4.3.1 По способу обработки сигнала:

  • аналоговые;
  • цифровые.

4.3.2 По способу управления:

  • триммерные;
  • программируемые;
  • триммерно-программируемые.

4.4 В технических условиях на СА воздушного звукопроведения конкретных типов для контроля качества СА в зависимости от целевого назначения и объема реализуемых функций рекомендуется указывать следующие параметры:

а) частотную характеристику ВУЗД90 с допустимыми отклонениями;

б) номинальное максимальное значение ВУЗД90 с допустимыми отклонениями;

в) номинальное среднее значение на высоких частотах ВУЗД90 (СЗВЧ ВУЗД90) с допустимыми отклонениями;

г) частотную характеристику полного акустического усиления с допустимыми отклонениями;

д) номинальное максимальное значение акустического усиления с допустимыми отклонениями;

е) номинальное среднее значение на высоких частотах полного акустического усиления (СЗВЧ ПУ) с допустимыми отклонениями;

ж) номинальное значение нижней и верхней границы основной частотной характеристики с допустимыми отклонениями;

з) основную частотную характеристику с допустимыми отклонениями;

и) частотную характеристику при различных положениях триммерных регуляторов тембра (при их наличии);

к) глубину регулировки акустического усиления (при наличии);

л) номинальный потребляемый ток;

м) эквивалентный входной уровень шума;

н) общие гармонические искажения;

о) частотную характеристику выходного УЗД при работе СА с индукционной катушкой (при наличии) с допустимыми отклонениями;

п) номинальное максимальное значение выходного УЗД при работе СА с индукционной катушкой с допустимыми отклонениями (при наличии);

р) номинальное среднее значение на высоких частотах максимального уровня магнитоакустической чувствительности (СЗВЧ УМАЧ) индукционной катушки с допустимыми отклонениями (при наличии);

с) характеристику входа-выхода АРУ при установившемся состоянии (при наличии);

т) время обработки входного воздействия и время отпускания АРУ (при наличии);

у) чувствительность по электрическому входу (при его наличии);

ф) изменение ВУЗД90 при изменении напряжения питания;

х) изменение полного акустического усиления при изменении напряжения питания;

ц) изменение коэффициента гармоник при изменении напряжения питания;

ч) изменение ВУЗД90 при изменении внутреннего сопротивления источника питания;

ш) изменение полного акустического усиления при изменении внутреннего сопротивления источника питания;

щ) изменение коэффициента гармоник при изменении внутреннего сопротивления источника питания.

4.5 В технических условиях на СА костного звукопроведения конкретных типов в зависимости от целевого назначения и объема реализуемых функций рекомендуется указывать следующие параметры:

а) номинальное максимальное значение полного УАМЧ с допустимыми отклонениями;

б) частотную характеристику ВУС90 с допустимыми отклонениями;

в) номинальное максимальное значение ВУС90 с допустимыми отклонениями;

г) частотную характеристику наибольшего уровня силы с допустимыми отклонениями;

д) глубину регулировки УАМЧ;

е) основную частотную характеристику уровня силы с допустимыми отклонениями;

ж) номинальное значение нижней и верхней границы основной частотной характеристики уровня силы с допустимыми отклонениями;

з) частотную характеристику ВУС при работе СА с индукционной катушкой (при наличии) с допустимыми отклонениями;

и) номинальное максимальное значение ВУС при работе СА с индукционной катушкой с допустимыми отклонениями (при наличии);

к) номинальный потребляемый ток;

л) изменение ВУС90 при изменении напряжения питания;

м) изменение УАМЧ при изменении напряжения питания;

н) изменение ВУС90 при изменении внутреннего сопротивления источника питания;

о) изменение УАМЧ при изменении внутреннего сопротивления источника питания.

4.6 В технических условиях на СА конкретных типов дополнительно к перечисленным могут быть приведены другие параметры, в соответствии с функциональными особенностями и назначением СА.

4.7 В технических условиях на СА рекомендуется привести описание функций и алгоритмов, реализуемых СА, из числа указанных в приложении Г. Дополнительно к перечисленным функциям и алгоритмам обработки звуковых сигналов могут быть приведены и другие, в соответствии с функциональными особенностями и назначением СА.

4.8 В технических условиях на СА конкретных типов должны быть указаны номинальные напряжения питания и типы используемых источников питания.

5. Общие технические требования

5.1 Требования к электроакустическим параметрам

5.1.1 Все публикуемые кривые, показывающие изменение параметра относительно частоты, должны быть представлены на координатной сетке, имеющей линейную шкалу уровней в децибелах по ординате и логарифмическую шкалу частот по абсциссе, градуированную по частоте, с длиной одной декады на шкале абсцисс, равной длине (50 ± 2) дБ на шкале ординат.

5.1.2 Допуски частотных характеристик согласно таблице 1а.

Таблица 1а – Допуски частотных характеристик

Частотный диапазон Допуск
Нижний: от 1,25 × f1 или 200 Гц (большая из них) до 2000 Гц ± 4 дБ от номинальной кривой частотной характеристики
Верхний: от 2000 Гц до 4000 Гц или 0,8 × f2 (меньшая из них) ± 6 дБ от номинальной кривой частотной характеристики

f1 – Нижняя граница полосы пропускания;

f2 – Верхняя граница полосы пропускания.

5.1.3 Максимальное значение ВУЗД90 должно быть в пределах номинального значения +3/-4 дБ.

5.1.4 СЗВЧ ВУЗД90 должно быть в пределах номинального значения ± 4 дБ.

5.1.5 Максимальное значение полного акустического усиления должно быть в пределах номинального значения +3/-4 дБ.

5.1.6 СЗВЧ ПУ должно быть в пределах номинального значения ± 5 дБ.

5.1.7 Максимальный ВУС90 должен быть в пределах номинального значения ± 4 дБ.

5.1.8 Максимальный полный УАМЧ должен быть в пределах номинального значения ± 5 дБ.

5.1.9 Допуски на нижнюю границу основной частотной характеристики
(f1) – 50/+100 Гц и верхнюю границу основной частотной характеристики (f2) ±20% от заявленной частоты.

5.1.10 Ток потребления не должен превышать номинальное значение плюс 20%.

5.1.11 Значение эквивалентного входного шума не должно превышать номинальное значение плюс 3 дБ.

5.1.12 Значение общего гармонического искажения не должно превышать номинального значения в процентах плюс 3 %.

Измеряют и заявляют общие гармонические искажения в процентах на частотах и уровнях, указанных в таблице 1б (должны быть заявлены частоты, используемые фактически);

Таблица 1б – Частоты испытания искажения и входные уровни звукового давления

Частота испытания искажения, Гц Входной УЗД, дБ
500 или половина наименьшей частоты, используемой для СЗСН 70
800 или половина средней частоты, используемой для СЗСН 70
1600 или половина наибольшей частоты, используемой для СЗСН 65

В случае, если определяемая кривая частотной характеристики поднимается на 12 дБ или более между любой частотой испытания искажения и ее второй гармоникой, испытания искажения на этой частоте можно не проводить.

Измерения при частоте ниже 200 Гц не требуются.

Примечание – При измерении общего гармонического искажения необходимо соблюдать осторожность во избежание ошибок, которые могут быть вызваны ложными сигналами, например, шумом и гулом.

5.1.13 Ширина поля допуска отклонений частотных характеристик выходного УЗД и ВУС при работе СА с индукционной катушкой от номинальных не должна превышать ± 6 дБ, согласно таблице 1в

Таблица 1в – Ширина поля допуска

Частотный диапазон Допуск
Нижний: от 1,25 × f1 или 200 Гц (большая из них) до 2000 Гц ± 4 дБ от номинальной кривой частотной характеристики
Верхний: от 2000 Гц до 4000 Гц или 0,8 × f2 (меньшая из них) ± 6 дБ от номинальной кривой частотной характеристики

f1 – Нижняя граница полосы пропускания;

f2 – Верхняя граница полосы пропускания.

5.1.14 Максимальные значения выходного УЗД и ВУС, СЗВЧ УМАЧ при работе СА с индукционной катушкой не должны отклоняться от номинального значения более чем на ± 6 дБ согласно таблице 1в.

5.1.15 В слуховых аппаратах с АРУ измерения должны быть на частоте 2000 Гц и также могут быть выполнены на одной или более частотах из диапазона 250–4000 Гц.

5.1.16 Допуск характеристик входа-выхода АРУ при установившемся состоянии:

а) измеренная кривая и номинальная кривая должны быть нормализованы к входному уровню звукового давления, равному 70 дБ;

б) максимальное отклонение при входных уровнях звукового давления, равных 50 и 90 дБ, не должно отклоняться более чем на ± 5 дБ.

в) график зависимости выходного УЗД от входного УЗД выполняют, используя линейную шкалу в децибелах и аналогичные размеры шкалы для оси ординат и оси абсцисс.

5.1.17 Время отработки входного воздействия и время отпускания АРУ не должно превышать большего значения: или ±5 мс, или ±50 % от номинального значения.

5.1.18 Чувствительность по электрическому входу – от 0,5 до 10 мВ.

Примечание – Допускается устанавливать другие значения указанного параметра в зависимости от назначения СА.

5.1.19 При изменении напряжения питания на плюс 10% или минус 20% относительно номинального при питании от сухих элементов и на плюс 10% или минус 10% при питании от аккумуляторов изменение полного акустического усиления и ВУЗД90 на контрольной частоте или полного УАМЧ и ВУС90 на контрольной частоте должно быть не более ±3 дБ. Номинальное напряжение питания указывают в технических условиях на СА конкретных типов.

5.1.20 Помехоустойчивость СА в соответствии с ГОСТ Р 51407 и/или ГОСТ Р МЭК 60118-13.

5.1.21 СА должны соответствовать требованиям ГОСТ Р МЭК 60601-1 для изделий с внутренним источником питания, рабочая часть – тип В.

5.1.22 По требованиям пылевлагозащищенности (IP) СА должны соответствовать ГОСТ 14254.

5.1.23 Программное обеспечение должно соответствовать требованиям следующих стандартов:

ГОСТ Р ИСО/МЭК 9126-93;

ГОСТ Р ИСО/МЭК 12119-2000;

ГОСТ Р МЭК 62304-2013.

5.2 Требования к конструкции

5.2.1 В технических условиях на СА конкретных типов должны быть приведены:

  • габаритные размеры или объем СА;
  • масса СА без источника питания.

5.2.2 По внешнему виду СА должны соответствовать требованиям конструкторской документации и образцу внешнего вида, утвержденному изготовителем.

Отсек для источника питания должен быть легкодоступным и иметь четкую маркировку полярности источника питания.

Отсек и держатель источника питания должны быть сконструированы таким образом, чтобы по возможности предотвратить неправильную установку источника питания.

Разъемы питания должны быть такими, чтобы, не затрудняя установку или изъятие источника питания, удерживали его на месте.

Держатель источника питания и отсек источника питания должны быть присоединены к корпусу СА.

Регуляторы (триммеры) в СА должны быть установлены таким образом, чтобы они непроизвольно не изменяли своего положения.

Регуляторы заушных и внутриушных СА, которые влияют на выходной уровень сигнала, рекомендуется располагать таким образом, чтобы выходной уровень сигнала повышался при движении головки регулятора вверх или при вращении по часовой стрелке.

5.2.3 Оперативные регуляторы усиления СА роторного типа должны иметь рельефные деления, которые могут маркироваться цифрами или заменяющими их цветными метками. При использовании ступенчатых (дискретных) оперативных регуляторов усиления скачкообразное изменение выходного УЗД не должно превышать 3 дБ.

5.2.4 При плавных манипуляциях регулятором усиления СА скачкообразное увеличение или уменьшение выходного УЗД (ВУС) не должно превышать 10 дБ.

5.2.5 Механические коммутирующие элементы, разъемы соединительных шнуров и источников питания СА должны иметь фиксацию рабочих положений.

5.2.6 Требования к износоустойчивости механических коммутирующих и регулирующих устройств должны быть указаны в технических условиях на СА конкретных типов. Количество циклов срабатываний должно соответствовать приведенному в таблице 1.

Таблица 1 – Количество циклов срабатываний

Наименование коммутирующих и регулирующих устройств Количество циклов срабатывания, не менее
Оперативные регуляторы 3000
Оперативные выключатели и переключатели с ручками 3000
Неоперативные плавные (триммеры) и ступенчатые регуляторы под шлиц 100
Неоперативные переключатели, в том числе под шлиц 100
Разъемы питания 3000
Разъемы телефонов 300
Прочие разъемы 300

5.2.7 Соединительные патрубки для телефонов СА карманного типа следует выполнять в соответствии с требованиями ГОСТ Р МЭК 60118-5.

5.2.8 Требование к устройствам цифрового интерфейса и электрическим соединителям следует выполнять в соответствии с требованиями ГОСТ Р МЭК 60118-14.

5.3 Комплектность

Требования к комплектности устанавливают в технических условиях на СА конкретных типов. В комплект поставки обязательно должны входить:

  • СА;
  • потребительская тара;
  • паспорт или руководство по эксплуатации.

5.4 Требования к маркировке и упаковке

5.4.1 Маркировка СА – по ГОСТ Р 50444 и ГОСТ Р ИСО 15223-1 со следующими дополнениями.

Маркировка СА должна содержать (для внутриушных СА допускается не наносить в случае наличия необходимых сведений в паспорте или руководстве по эксплуатации):

  • обозначение модели;
  • номер СА по системе нумерации изготовителя.
  • товарный знак предприятия-изготовителя;
  • год изготовления (допускается не наносить на СА в случае наличия необходимых сведений в паспорте или руководстве по эксплуатации);
  • тип применяемого источника питания (наносится в батарейном отсеке);
  • символ рабочей части В (допускается не наносить на СА в случае наличия необходимых сведений в паспорте или руководстве по эксплуатации).

Содержание маркировки СА, предназначенных для экспорта, устанавливают в соответствии с условиями контракта.

Маркировка потребительской тары должна содержать (может быть выполнена в виде этикетки):

  • товарный знак предприятия-изготовителя;
  • обозначение модели СА;
  • дату изготовления / упаковывания (месяц и год);
  • обозначение цвета корпуса при выпуске СА различных цветов;
  • количество изделий (при упаковке группой);
  • обозначение технических условий или стандартов на изделие;
  • номер и дату выдачи регистрационного удостоверения;
  • номер изделия по системе нумерации изготовителя;
  • условия хранения (может быть в виде указания стандарта);
  • срок службы.

Содержание маркировки потребительской тары СА, предназначенных для экспорта, устанавливают в соответствии с условиями контракта.

Транспортная маркировка грузов – по ГОСТ Р 50444.

5.4.2 Упаковка СА – по ГОСТ Р 50444.

Эксплуатационная документация, комплектующие и принадлежности к СА могут быть вложены в потребительскую тару СА без защитного пакета или конверта. Вся необходимая информация к комплектующим и принадлежностям, вложенным в потребительскую тару с СА, должна содержаться на вкладыше и/или в эксплуатационной документации к СА.

5.5 Требования стойкости к внешним воздействиям

5.5.1 Требования стойкости к механическим воздействиям.

5.5.1.1 СА должны обладать вибропрочностью при воздействии синусоидальной вибрации в диапазоне частот 10-55 Гц с амплитудой колебаний 0,35 мм.

5.5.1.2 СА должны обладать ударопрочностью при воздействии многократных ударов с пиковым ударным ускорением 100 м/с2 (10 g).

5.5.1.3 СА в транспортной упаковке должны быть устойчивыми к механическим воздействиям, возникающим при транспортировании, в соответствии с ГОСТ Р 50444.

5.5.2 Требования стойкости к климатическим воздействиям.

5.5.2.1 СА должны быть устойчивыми к воздействию повышенной рабочей температуры плюс 40 °С.

5.5.2.2 СА должны быть устойчивыми к воздействию пониженной рабочей температуры минус 10 °С.

5.5.2.3 СА должны быть устойчивыми к воздействию повышенной относительной влажности воздуха 85 % при температуре плюс 25 °С и ниже без конденсации влаги.

5.5.2.4 СА при транспортировании должны быть устойчивыми к воздействию повышенной температуры плюс 50 °С и пониженной температуры минус 50 °С.

В технических условиях на СА конкретных типов могут быть установлены иные требования к условиям транспортирования по п. 8.3.6 ГОСТ Р 50444.

СА при хранении должны быть устойчивыми к воздействию повышенной температуры плюс 40 °С и пониженной температуры минус 5 °С.

5.5.2.5 СА при транспортировании должны быть устойчивыми к повышенной относительной влажности воздуха 95% при температуре плюс 25 °С и ниже без конденсации влаги.

СА при хранении должны быть устойчивыми к повышенной относительной влажности воздуха 85% при температуре плюс 25 °С и ниже без конденсации влаги.

5.5.3 Требования к дезинфекции.

5.5.3.1 СА должны быть устойчивыми к дезинфекции по ГОСТ Р 50444.

5.6 Требования к надежности

5.6.1 Среднюю наработку на отказ СА или вероятность безотказной работы в течение года эксплуатации устанавливают по ГОСТ Р 50444.

5.6.2 Средний срок службы СА – не менее пяти лет.

5.7 Требования безопасности

5.7.1 Материалы, касающиеся тела человека, должны быть разрешены к применению Федеральным уполномоченным органом власти РФ и не должны оказывать вредного воздействия.

5.8 Требование к утилизации

5.8.1 СА (без элементов питания) следует утилизировать как отходы класса А по [1]. Отходы класса А, приближенные к ТБО (твердым бытовым отходам), необходимо утилизировать в соответствии с местными и федеральными законами.

5.8.2 Элементы питания утилизировать отдельно от СА. Отработанные элементы питания следует сдать в пункты приема использованных элементов питания.

Утилизация элементов питания производится в соответствии с указаниями производителя конкретного типа источника питания.

6. Приемка

6.1 Правила приемки СА – по ГОСТ Р 50444 со следующими дополнениями.

6.2 Для проверки СА устанавливают следующие категории испытаний:

  • приемо-сдаточные;
  • периодические;
  • квалификационные;
  • приемочные (для получения разрешения на производство);
  • на надежность.

6.3 Состав категорий испытаний указан в таблице 2. Допускается изменять последовательность проведения испытаний.

Таблица 2 – Состав категорий испытаний

Наименование испытаний Категории испытаний Номер пункта настоящего стандарта в разделах
квалифи-
кационные
перио-
дические
приемо-
сдаточные
технических требований методов испытаний
1 Проверка внешнего вида, маркировки и комплектности + + + 5.2.2
5.2.3
5.3
5.4
7.2
2 Проверка применяемых материалов - - - 5.7 7.3
3 Проверка электроакустических параметров СА воздушного звукопроведения
3.1 Частотная характеристика ВУЗД90 + + + 4.4 а)
5.1.2
7.4.1
Продолжение таблицы 2
Наименование испытаний Категории испытаний Номер пункта настоящего стандарта в разделах
квалифика-
ционные
периоди-
ческие
приемо-
сдаточные
технических требований методов испытаний
3.2 Максимальное ВУЗД90 + + + 4.4 б)
5.1.3
7.4.2
3.3 Среднее значение на высоких частотах ВУЗД90 (СЗВЧ ВУЗД90) + + - 4.4 в)
5.1.4
7.4.3
3.4 Частотная характеристика полного акустического усиления + + + 4.4 г)
5.1.2
7.4.4
3.5 Максимальное полное акустическое усиление + + + 4.4 д)
5.1.5
7.4.5
3.6 Среднее значение на высоких частотах полного акустического усиления (СЗВЧ ПУ) + + - 4.4 е)
5.1.6
7.4.6
3.7 Основная частотная характеристика + - - 4.4 з)
5.1.2
7.4.7
3.8 Нижняя и верхняя границы основной частотной характеристики + - - 4.4 ж)
5.1.9
7.4.8
3.9 Частотная характеристика при различных положениях регуляторов тембра (при их наличии) + + Р 4.4 и)
5.1.2
7.4.9
3.10 Глубина регулировки акустического усиления + + - 4.4 к)
5.2.3
5.2.4
7.4.10
3.11 Потребляемый ток + + - 4.4 л)
5.1.10
7.4.11
3.12 Эквивалентный входной уровень шума + + - 4.4 м)
5.1.11
7.4.12
3.13 Общие гармонические искажения + + + 4.4 н)
5.1.12
7.4.13
3.14 Частотная характеристика выходного УЗД при работе СА с индукционной катушкой (при наличии); + + - 4.4 о)
5.1.13
7.4.14
3.15 Максимальный выходной УЗД при работе СА с индукционной катушкой (при наличии); + + + 4.4 п)
5.1.14
7.4.15
3.16 Среднее значение на высоких частотах максимального уровня магнитоакустической чувствительности (СЗВЧ УМАЧ) индукционной катушки (при наличии) + + - 4.4 р)
5.1.14
7.4.16
3.17 Характеристика входа-выхода АРУ при установившемся состоянии (при наличии) + Р - 4.4 с)
5.1.15
5.1.16
7.4.17
3.18 Время обработки входного воздействия и время отпускания АРУ(при наличии) + Р - 4.4 т)

5.1.15
5.1.17
7.4.18
3.19 Чувствительность по электрическому входу (при его наличии); + + - 4.4 у)
5.1.18
7.4.19
3.20 Изменение ВУЗД90 при изменении напряжения питания + + - 4.4 ф)
5.1.19
7.4.20
3.21 Изменение полного акустического усиления при изменении напряжения питания + + - 4.4 х)
5.1.19
7.4.21
3.22 Изменение коэффициента гармоник при изменении напряжения питания + + - 4.4 ц)
5.1.12
7.4.22
3.23 Изменение ВУЗД90 при изменении внутреннего сопротивления источника питания + - - 4.4 ч) 7.4.23
3.24 Изменение полного акустического усиления при изменении внутреннего сопротивления источника питания + - - 4.4 ш) 7.4.24
3.25 Изменение коэффициента гармоник при изменении внутреннего сопротивления источника питания + - - 4.4 щ) 7.4.25
4 Проверка электроакустических параметров СА костного звукопроведения
4.1 Полный УАМЧ + + + 4.5 а)
5.1.8
7.5.1
4.2 Частотная характеристика ВУС90 + + + 4.5 б)
5.1.2
7.5.2
4.3 Максимальный
ВУС90
+ + - 4.5 в)
5.1.7
7.5.3
4.4 Частотная характеристика наибольшего уровня силы + + + 4.5 г)
5.1.2
7.5.4
4.5 Глубина регулировки УАМЧ + + - 4.5 д) 7.5.5
4.6 Основная частотная характеристика уровня силы + + - 4.5 е)
5.1.2
7.5.6
4.7 Нижняя и верхняя границы основной частотной характеристики + - - 4.5 ж)
5.1.9
7.5.7
4.8 Частотную характеристику ВУС при работе СА с индукционной катушкой (при наличии); + + - 4.5 з)
5.1.13
7.5.8
4.9 максимальный ВУС при работе СА с индукционной катушкой с допустимыми отклонениями (при наличии); + + + 4.5 и)
5.1.14
7.5.9
4.10 Потребляемый ток + + - 4.5 к)
5.1.10
7.5.10
4.11 Изменение
ВУС90 при изменении напряжения питания
+ + - 4.5 л)
5.1.19
7.5.11
4.12 Изменение УАМЧ при изменении напряжения питания + + - 4.5 м)
5.1.19
7.5.12
4.13 Изменение
ВУС90 при изменении внутреннего сопротивления источника питания
+ - - 4.5 н) 7.5.13
4.14 Изменение УАМЧ при изменении внутреннего сопротивления источника питания + - - 4.5 о) 7.5.14
5 Проверка массы + + - 5.2.1 7.6.1
6 Проверка габаритных размеров или объема СА + + - 5.2.1 7.6.2
7 Проверка фиксации рабочих положений механических коммутирующих и регулирующих устройств + + - 5.2.5 7.6.3
8 Проверка упаковки + + - 5.4.2 7.2
9 Проверка вибропрочность и на виброустойчивость + + - 5.5.1.1 7.7.1

7.7.1.1
10 Проверка на ударопрочность и

удароустойчивость при многократных ударах
+ + - 5.5.1.2 7.7.1
7.7.1.2
11 Проверка ударопрочности при одиночных ударах + + - 5.5.1.3 7.7.1
12 Проверка исправности после транспортной тряски + - - 5.5.1.4 7.7.1
13 Проверка стойкости к воздействию повышенной рабочей температуры + + - 5.5.2.1 7.7.2
14 Проверка стойкости к воздействию пониженной рабочей температуры + + - 5.5.2.2 7.7.2
15 Проверка на влагоустойчивость + + - 5.5.2.3 7.7.2
16 Проверка стойкости к повышенной температуре транспортирования + - - 5.5.2.4 7.7.2
17 Проверка стойкости к пониженной температуре транспортирования + - - 5.5.2.4 7.7.2
18 Проверка стойкости к повышенной влажности воздуха при транспортировании + - - 5.5.2.5 7.7.2
19 Проверка стойкости к дезинфекции + + - 5.5.3.1 7.7.2
20 Проверка износоустойчивости + + - 5.2.6 7.6.4
21 Проверка средней наработки на отказ + + - 5.6.1 7.8.1
22 Проверка среднего срока службы - + - 5.6.2 7.8.1
Окончание таблицы 2

Наименование испытаний

Категории испытаний

Номер пункта настоящего стандарта в разделах

квалифи-
кационные
перио-
дические
приемо-
сдаточные
технических требований

методов испытаний

23 Проверка помехоустойчивости СА - - - 5.1.20 7.11
24 Проверка соответствия требованиям ГОСТ Р МЭК 60601-1 для изделий с внутренним источником питания, рабочая часть – типа В - - - 5.1.21 7.12
25 Проверка соответствия требованиям пылевлаго-защищенности (IP) - - - 5.1.22 7.13
Примечания:
  1. Знаком "+" обозначены испытания, проводимые для данной категории испытаний, если это предусмотрено в технических условиях на СА конкретных типов.
  2. Буквой "Р" обозначены испытания, рекомендуемые для данной категории испытаний.

6.4 Приемо-сдаточные, периодические, квалификационные и приемочные испытания СА воздушного звукопроведения проводят только с использованием камеры малого объема по ГОСТ Р МЭК 60318-5.

6.5 Приемо-сдаточные, периодические, квалификационные и приемочные испытания СА костного звукопроведения проводят с использованием механической камеры связи по ГОСТ Р МЭК 60118-9.

6.6 Для проведения квалификационных и периодических испытаний выборки комплектуют отдельно для каждой группы испытаний:

  • по перечислениям 1-19 таблицы 2 – не менее 3 шт.;
  • по перечислению 20 таблицы 2 объем выборки 13 шт., приемочное число 1, браковочное число 2 для каждого коммутирующего и регулировочного органа.

Допускается увеличивать число выборок или проводить испытания по любой группе на выборке для испытаний по перечислениям 1-19 таблицы 2.

6.7 Периодические испытания СА проводят не реже одного раза в год, кроме испытаний по перечислениям 3.19–3.21, 4.9–4.10, 10–11, 13–15 таблицы 2, которые проводят не реже одного раза в три года.

6.8 Проверку средней наработки на отказ допускается проводить расчетным, расчетно-экспериментальным, экспериментальным или лабораторным методами. Расчетный метод можно применять только при разработке и постановке продукции на производство (проведение квалификационных испытаний).

Проверку среднего срока службы проводят при подконтрольной эксплуатации СА.

Периодичность определения показателей безотказности на этапе серийного производства – не реже одного раза в пять лет.

Контроль среднего срока службы проводят на образцах серийного производства не позднее первого года выпуска. Повторный контроль среднего срока службы проводят при изменении конструкции, материалов, комплектующих изделий в случаях, когда эти изменения влияют на надежность СА.

6.9 СА, прошедшие испытания по перечислениям 10, 11, 12, 13, 14, 15, 20 и 21 таблицы 2, а также подвергнутые испытаниям на надежность лабораторным методом, отгрузке не подлежат.

6.10 При приемо-сдаточных испытаниях СА подвергают сплошному контролю, при этом проверку приведенного ко входу уровня собственных шумов проводят выборочно в соответствии с ГОСТ Р ИСО 2859-1 при приемочном уровне дефектности не более 1,5%, если иное не указано в договоре на поставку.

6.11 При достижении в производстве стабильного уровня качества допускается в соответствии с договором на поставку испытания из состава приемо-сдаточных проводить выборочно в соответствии с ГОСТ Р ИСО 2859-1.

6.12 При оценке результатов измерений параметров СА необходимо учитывать погрешность в зависимости от выбранного метода измерений.

7. Методы испытаний

7.1 Требования к испытательной аппаратуре и условия испытаний приведены в приложении В.

При определении соответствия измеренной частотной характеристики требованиям 5.1.2 поле допуска разрешается перемещать вдоль оси ВУЗД (ВУС).

7.2 Проверку внешнего вида, комплектности, маркировки и упаковки проводят визуально и сличением с конструкторской документацией.

7.3 Проверку применяемых материалов проводят путем сличения материалов частей корпуса СА, касающихся тела человека и указанных в конструкторской документации, с разрешенными к применению.

7.4 Методы проверки электроакустических параметров СА воздушного звукопроведения

7.4.1 Частотную характеристику ВУЗД90 определяют при входном УЗД, равном 90 дБ при установке регулятора усиления СА в положение максимума и установке других регуляторов, как заявлено в В.2.4.

Изменяя частоту в пределах проверяемого диапазона при постоянном входном УЗД, фиксируют значение выходного УЗД путем непрерывной записи или путем измерения на дискретных частотах, отстоящих друг от друга не более чем на 1/3 октавы.

7.4.2 Максимальный ВУЗД90 СА определяют по частотной характеристике ВУЗД90 как наивысшую точку графика.

7.4.3 Среднее значение на высоких частотах ВУЗД90 (СЗВЧ ВУЗД90) определяют по частотной характеристике ВУЗД90 на частотах 1000, 1600 и 2500 Гц.

7.4.4 Частотную характеристику полного акустического усиления определяют аналогично изложенному в 7.4.1 при входном УЗД, равном 50 или 60 дБ.

Полное акустическое усиление регистрируют как разность полученную вычитанием 50 дБ из ВУЗД50 (60 дБ из ВУЗД60) в зависимости от частоты.

Значение входного УЗД 50 дБ выбирают в том случае, если входной УЗД, равный 60 дБ, не обеспечивает работу СА в линейном динамическом диапазоне, что должно быть указано в технических условиях на СА конкретных типов.

При измерении СА с неотключаемой АРУ входной УЗД должен быть 50 дБ.

При проведении приемо-сдаточных и периодических испытаний можно считать, что СА работает в линейном динамическом диапазоне при входном УЗД, равном 60 дБ, если разность между частотной характеристикой ВУЗД60 и частотной характеристикой полного акустического усиления составляет не менее 5 дБ в пределах проверяемого частотного диапазона.

7.4.5 Максимальное акустическое усиление определяют по частотной характеристике полного акустического усиления как наивысшую точку графика.

7.4.6 Среднее значение на высоких частотах полного усиления (СЗВЧ ПУ) определяют по частотной характеристике полного акустического усиления на частотах 1000, 1600 и 2500 Гц.

7.4.7 Основную частотную характеристику определяют согласно 7.4.1 при входном УЗД, равном 60 дБ, и установке регулятора усиления в положение контрольной настройки при испытании.

Контрольную настройку при испытании регулятора усиления определяют следующим образом:

  • определяют СЗВЧ ВУЗД90 на частотах 1000, 1600 и 2500Гц;
  • входной УЗД устанавливают 60 дБ;
  • изменяют усиление СА и измеряют ВУЗД60, находят такое положение регулятора усиления СА, для которого результат измерения СЗВЧ ВУЗД60 на частотах 1000, 1600 и 2500Гц оказывается равным СЗВЧ ВУЗД90 минус 77 дБ с погрешностью ±1,5 дБ. Если СЗВЧ ВУЗД60 меньше чем СЗВЧ ВУЗД90 минус 77 дБ, то регулятором усиления устанавливают усиление СА равным полному акустическому усилению.

Найденное таким образом положение регулятора усиления считается контрольной настройкой при испытании (КНИ).

7.4.8 Нижнюю и верхнюю границы основной частотной характеристики определяют по основной частотной характеристике. Определяют среднее значение на высоких частотах ВУЗД60 (СЗВЧ ВУЗД60) на частотах 1000, 1600 и 2500 Гц. Определяют наименьшую и наибольшую частоты, при которых кривая основной частотной характеристики имеет значение СЗВЧ ВУЗД60 минус 20 дБ. Устанавливают полосу пропускания от наименьшей до наибольшей частоты.

7.4.9 Частотные характеристики при различных положениях регуляторов тембра определяют при установленном КНИ при поочередном снятии частотных характеристик для каждого фиксированного положения каждого регулятора тембра или, при отсутствии промежуточных фиксированных положений, для каждого крайнего положения каждого регулятора тембра при входном УЗД, равном 60 дБ.

7.4.10 Глубину регулировки акустического усиления определяют как разность между максимальным и минимальным значениями акустического усиления при входном УЗД, равном 50 дБ, на контрольной частоте. При этом каждое из этих значений вычисляют как разность между прямо измеренным выходным УЗД, и входным УЗД, устанавливая оперативный регулятор усиления СА последовательно в два крайних положения.

7.4.11 Потребляемый ток измеряют при входном УЗД, равном 65 дБ, на частоте 1000 Гц при установке КНИ.

7.4.12 Эквивалентный входной уровень шума измеряют при параметрах настройки СА, обеспечивающих максимальное акустическое усиление и установке регулятора на КНИ.

При входном УЗД, равном 50 дБ, измеряют СЗВЧ ВУЗД50 на частотах 1000, 1600 и 2500 Гц. Выключают акустический сигнал и измеряют выходной уровень звукового давления общего шума в стабильном состоянии, используя полосу частот для измерения от 200 до 5000 Гц и усредненное время, по крайней мере, 0,5 с.

Эквивалентный входной уровень шума (Lш.вх.), дБ, вычисляют по формуле (1)

Lш вх = Lш вых – (Lвых – Lвх), (1)

где: Lш вых – выходной УЗД общего шума, дБ;

Lвых – СЗВЧ ВУЗД50 на частотах 1000, 1600 и 2500 Гц, дБ;

Lвх – входной УЗД, равный 50 дБ.

7.4.13 Общие гармонические искажения измеряют при установке регулятора усиления на КНИ на частотах 500 и 800 Гц при входном УЗД, равном 70 дБ, и на частоте 1600 Гц при входном УЗД, равном 65 дБ.

В случае, если определяемая кривая частотной характеристики поднимаются на 12 дБ или более между любой частотой испытания искажения и ее второй гармоникой, испытания искажения на этой частоте можно не проводить.

На квалификационных и периодических испытаниях измерение общих гармонических искажений проводят на частотах 500, 800 и 1600 Гц.

На приемо-сдаточных испытаниях измерение общих гармонических искажений проводят на частоте 500 Гц.

При испытаниях на стойкость к внешним воздействующим факторам и проверке средней наработки на отказ измерение общих гармонических искажений проводят на частоте 500 Гц.

7.4.14 Частотную характеристику выходного УЗД при работе СА с индукционной катушкой измеряют при напряженности магнитного поля 10 мА/м и установке оперативного регулятора усиления в положение максимального усиления.

Допускается проводить измерения при напряженности магнитного поля 31,6 мА/м с последующим пересчетом на 10 мА/м.

СА располагают в магнитном поле так, чтобы достичь максимума значения выходного УЗД.

Все измерения должны быть выполнены в вертикальном магнитном поле со слуховым аппаратом, размещенным как при нормальном закреплении на ухе.

7.4.15 Максимальный выходной УЗД при работе СА с индукционной катушкой определяют по частотной характеристике выходного УЗД при работе СА с индукционной катушкой как наивысшую точку графика.

7.4.16 Среднее значение на высоких частотах максимального уровня магнитоакустической чувствительности (СЗВЧ УМАЧ) индукционной катушки.

Метод испытания:

а) устанавливают регулятор усиления на полное усиление;

б) устанавливают магнитный вход до минус 40 дБ относительно 1 А/м (=10 мА/м);

в) со слуховым аппаратом, ориентированным на максимальную приемную чувствительность, определяют СЗВЧ выходного УЗД = D;

г) рассчитывают СЗВЧ максимального уровня магнитоакустической чувствительности (УМАЧ), выраженного как СЗВЧ выходного УЗД для напряженности магнитного поля минус 60 дБ относительно 1 А/м (=1 мА/м), по формуле

УМАЧ = D - 20 (дБ).

7.4.17 Характеристики входа-выхода при установившемся состоянии.

Характеристики входа-выхода при установившемся состоянии

Измерения должны быть выполнены на частоте 2000 Гц и также могут быть выполнены на одной или более следующих частотах испытания: 250, 500, 1000, 1600, 4000 Гц. Выбранные частоты должны быть заявлены изготовителем.

Процедура испытания следующая:

а) устанавливают регулятор усиления на КНИ и другие регуляторы как в В.2.4;

б) измеряют УЗД акустической камеры для входных уровней звукового давления в диапазоне по крайней мере, от 50 до 90 дБ с шагом, не превышающим 5 дБ, на каждой из выбранных частот испытания АРУ;

в) строят график зависимости выходного УЗД от входного УЗД, используют линейную шкалу в децибелах и аналогичные размеры шкалы для оси ординат и оси абсцисс.

Допуск характеристик входа-выхода при состоянии:

а) измеренная кривая и номинальная кривая должны быть нормализованы к входному уровню звукового давления, равному 70 дБ;

б) максимальное отклонение при входных уровнях звукового давления, равных 50 и 90 дБ, вход не должен отклоняться более чем на ± 5 дБ.

Длительность каждого шага испытания должна быть достаточно продолжительной, чтобы выходной сигнал достиг условий стабильного состояния.

7.4.18 Динамические характеристики АРУ (время отработки входного воздействия и время отпускания).

Измерения должны быть выполнены на частоте 2000 Гц и также могут быть выполнены на одной или более следующих частотах испытания: 250, 500, 1000, 1600, 4000 Гц. Выбранные частоты должны быть заявлены изготовителем.

Процедура испытания следующая:

а) устанавливают регулятор усиления на КНИ;

б) выбирают частоту испытания АРУ с входным уровнем звукового давления, изменяющимся от 55 до 90 дБ;

в) измеряют УЗД акустической камеры с течением времени, длительность испытания на каждом уровне должна быть достаточно продолжительной, чтобы выходной сигнал достиг условий стабильного состояния;

г) определяют время отработки входного воздействия с временного графика кривой акустического выхода.

Время отработки входного воздействия определяют как промежуток времени от момента изменения уровня от 55 до 90 дБ УЗД до точки, где сигнал стабилизируется в пределах 3 дБ;

д) определяют время отпускания с временного графика кривой акустического выхода.

Время отпускания определяют как промежуток времени от момента изменения уровня от 90 до 55 дБ УЗД до точки, где сигнал стабилизируется в пределах 4 дБ.

7.4.19 Чувствительность по электрическому входу измеряют на контрольной частоте в последовательности: устанавливают входной УЗД, равный 70 дБ, и измеряют выходной УЗД. Затем, переведя СА в режим по электрическому входу и не меняя положение регулятора усиления, подают на электрический вход переменный сигнал. Напряжение, при котором достигается выходной УЗД, получаемый при входном УЗД, равном 70 дБ, является чувствительностью по электрическому входу.

Положение регулятора усиления при проведении измерений указывают в технических условиях на СА конкретных типов.

7.4.20 Изменение ВУЗД90 при изменении напряжения питания проверяют при измерении ВУЗД90 на контрольной частоте при крайних значениях напряжения питания в соответствии с 5.1.19.

Изменение ВУЗД90 определяют относительно его значения, измеренного при номинальном значении напряжения питания.

В качестве источника питания допускается использовать стационарные источники; в технических условиях на СА конкретных типов должно быть указано внутреннее сопротивление таких источников.

7.4.21 Изменение полного акустического усиления проверяют путем измерения полного акустического усиления на контрольной частоте при крайних значениях напряжения питания в соответствии с 5.1.19 при входном УЗД, равном 50 или 60 дБ.

Изменение полного акустического усиления оценивают относительно его значения, измеренного при номинальном значении напряжения питания.

В качестве источника питания допускается использовать стационарные источники; в технических условиях на СА конкретных типов должно быть указано внутреннее сопротивление таких источников.

7.4.22 Изменение общего гармонического искажения при изменении напряжения питания проверяют в соответствии с 7.4.13 при крайних значениях напряжения питания в соответствии с 5.1.19 на частоте 500 Гц.

Полученные данные представляют в виде таблицы зависимости коэффициента гармоник от напряжения питания.

Допускается использовать стационарные источники питания, при этом в технических условиях на СА конкретных типов должно быть указано внутреннее сопротивление таких источников.

7.4.23 Изменение ВУЗД90 при изменении внутреннего сопротивления источника питания проверяют при измерении ВУЗД90 на контрольной частоте при неизменном напряжении источника питания, равном номинальному напряжению питания СА. При разных значениях внутреннего сопротивления источника питания, соответствующих различным состояниям рекомендуемых для использования в СА источников питания, проводят измерения ВУЗД90.

Изменение ВУЗД90 вычисляют как разность между его значением при каждом состоянии источников питания и при номинальном внутреннем сопротивлении источника питания.

7.4.24 Изменение полного акустического усиления при изменении внутреннего сопротивления источника питания проверяют при измерении полного акустического усиления на контрольной частоте при входном УЗД, равном 50 или 60 дБ, аналогично изложенному в 7.4.23.

7.4.25 Изменение общего гармонического искажения при изменении внутреннего сопротивления источника питания проверяют в соответствии с 7.4.13 аналогично изложенному в 7.4.23.

7.5 Методы проверки электроакустических параметров СА костного звукопроведения

7.5.1 Максимальный полный УАМЧ определяют непосредственно по частотной характеристике наибольшего уровня силы как наивысшую точку частотной характеристики при входном УЗД, равном 50 дБ или 60 дБ, при установке регулятора усиления в положение максимума и установке других регуляторов, как заявлено в В.2.4.

Выбранное значение входного УЗД должно обеспечивать работу СА в линейном динамическом диапазоне, что должно быть указано в технических условиях на СА конкретных типов.

7.5.2 Частотную характеристику ВУС90 определяют при входном УЗД, равном 90 дБ, при установке регулятора усиления в положение максимума и установке других регуляторов, как заявлено в В.2.4.

Изменяя частоту в пределах проверяемого диапазона при постоянном входном УЗД, фиксируют значение ВУС путем непрерывной записи или путем измерения в отдельных точках.

7.5.3 Максимальный ВУС90 определяют непосредственно по частотной характеристике ВУС90 как наивысшую точку частотной характеристики ВУС90.

7.5.4 Частотную характеристику наибольшего уровня силы определяют аналогично 7.5.2 при входном УЗД равном 60 дБ или, если это приводит к возникновению нелинейной передаточной характеристики – на 50 дБ. Выбранное значение входного УЗД должно быть указано в технических условиях на СА конкретных типов.

7.5.5 Глубину регулировки УАМЧ определяют как разность между максимальным и минимальным значениями УАМЧ. при входном УЗД равном 60 дБ или, если это приводит к возникновению нелинейной передаточной характеристики – на 50 дБ.

7.5.6 Основную частотную характеристику уровня силы определяют аналогично 7.5.2 при входном УЗД, равном 60 дБ, и установке регулятора усиления в положение контрольной настройки при испытании, погрешность ±1,5 дБ.

7.5.7 Нижнюю и верхнюю границы основной частотной характеристики уровня силы определяют непосредственно по графику основной частотной характеристики уровня силы при уровне, равном разности между максимальным выходным уровнем силы и значением неравномерности частотной характеристики, указанным в технических условиях на СА конкретных типов.

7.5.8 Частотную характеристику ВУС при работе СА с индукционной катушкой измеряют при напряженности магнитного поля 10 мА/м и установке оперативного регулятора усиления в положение максимального усиления.

СА располагают в магнитном поле так, чтобы достичь максимума значения выходного ВУС.

Все измерения должны быть выполнены в вертикальном магнитном поле со слуховым аппаратом, размещенным как при нормальном закреплении на ухе.

7.5.9 Максимальный ВУС при работе с индукционной катушкой определяют непосредственно по частотной характеристике ВУС при работе СА с индукционной катушкой, как наивысшую точку частотной характеристики ВУС.

7.5.10 Потребляемый ток измеряют при входном УЗД, равном 60 дБ, на контрольной частоте при установке регулятора усиления в контрольное положение в испытательных условиях.

7.5.11 Изменение ВУС90 при изменении напряжения питания проверяют при измерении ВУС90 на контрольной частоте при крайних значениях напряжения питания в соответствии с 5.1.19.

Изменение ВУС90 оценивают относительно его значения, измеренного при номинальном значении напряжения питания.

В качестве источника питания допускается использовать стационарные источники, в технических условиях на СА конкретных типов должно быть указано внутреннее сопротивление таких источников.

7.5.12 Изменение УАМЧ при изменении напряжения питания проверяют при изменении полного УАМЧ на контрольной частоте при крайних значениях напряжения питания в соответствии с 5.1.19 при входном УЗД, равном 50 или 60 дБ.

Изменение полного УАМЧ оценивают относительно его значения, измеренного при номинальном значении напряжения питания.

В качестве источника питания допускается использовать стационарные источники; в технических условиях на СА конкретных типов должно быть указано внутреннее сопротивление таких источников.

7.5.13 Изменение ВУС90 при изменении внутреннего сопротивления источника питания проверяют при измерении ВУС90 на контрольной частоте при неизменном напряжении источника питания, равном номинальному напряжению питания СА. При разных значениях внутреннего сопротивления источника питания, соответствующих различным состояниям рекомендуемых для использования в СА источников питания, проводят измерения ВУС90.

Изменение ВУС90 вычисляют как разность между его значением при каждом состоянии источников питания и при номинальном внутреннем сопротивлении источника питания.

7.5.14 Изменение УАМЧ при изменении внутреннего сопротивления источника питания проверяют при измерении полного УАМЧ на контрольной частоте при входном УЗД, равном 50 или 60 дБ, аналогично изложенному в 7.5.15.

7.6 Методы проверки соответствия СА требованиям к конструкции

7.6.1 Массу СА проверяют взвешиванием на весах с допустимой погрешностью не более ±1 г для СА массой 10 г и более и не более ±0,5 г – для СА массой менее 10 г.

7.6.2 Габаритные размеры СА проверяют с помощью средств измерений, обеспечивающих требуемую точность.

7.6.3 Фиксации механических коммутирующих элементов проверяют путем соответствующих манипуляций исходя из функционального назначения. Проверку проводят при измерении электроакустических параметров.

7.6.4 Износоустойчивость механических коммутирующих и регулирующих устройств проверяют по методике, установленной в технических условиях на СА конкретных типов или сличением с техническими условиями на конкретные устройства.

7.7 Методы проверки соответствия СА требованиям стойкости к внешним воздействующим факторам по ГОСТ Р 50444

7.7.1 Проверку стойкости СА к механическим воздействиям проводят по методикам, установленным в технических условиях на СА конкретных типов и таблицы…по ГОСТ Р 50444, с обязательным указанием положения СА при испытаниях.

7.7.1.1 Вибропрочность и виброустойчивость изделий проверяют путем плавного изменения частоты от низшей к высшей и обратно (цикл испытаний) в диапазоне частот, указанных в табл.1, устанавливая соответствующую амплитуду виброперемещения в контрольных точках.

За контрольные точки принимают частоты 10, 20, 30, 40 и 55 Гц.

Испытательный режим устанавливают в контрольной точке по показаниям рабочих средств измерений с допустимыми отклонениями по частоте ±10%, по амплитуде - ±20%.

Скорость изменения частоты должна быть 1-2 октавы в минуту.

Допускается уменьшать скорость изменения частоты, если это обеспечивает более точный контроль проверяемых параметров образца.

Продолжительность испытаний на вибропрочность - 2 цикла, на виброустойчивость - в течение времени, необходимого для контроля параметров образца, установленных в стандартах и технических условиях на изделия конкретных видов, но не менее 2 циклов.

При испытании на вибропрочность образец должен находиться в нерабочем состоянии, а при испытании на виброустойчивость - в рабочем состоянии.

Испытания изделий на вибропрочность допускается проводить в потребительской таре.

Таблица

Группа изделий

Вибрационные нагрузки

Ударные нагрузки

Диапазон частот, Гц Амплитуда перемещения, мм Пиковое ударное ускорение, мс (g) Длительность действия ударного ускорения, мс
3 10-55 0,35 100 (10) 16

При проверке ударопрочности при воздействии многократных ударов число ударов – не менее 1000.

Длительность действия ударного ускорения 16 мс, частота следования ударов от 40 до 120 в минуту. Допустимое отклонение пикового ударного ускорения ±20%, длительности действия ударного ускорения ±30%. В испытаниях допускаются перерывы, длительность которых не ограничивается, но при этом общее число ударов должно сохраняться.

Результаты испытаний на стойкость к механическим воздействиям считают положительными, если СА соответствуют требованиям 5.2.2, 5.2.4, 5.2.5, СЗВЧ ВУЗД90 или максимального ВУС90, СЗВЧ ПУ или максимального полного УАМЧ.

После воздействия транспортной тряски упаковка не должна иметь повреждений.

7.7.1.2 Ударопрочность и удароустойчивость изделий проверяют, подвергая образец воздействию механических ударов многократного действия в режимах, установленных в таблице…..

Испытательный режим устанавливают по показаниям рабочих средств измерений с допустимым отклонением пикового ударного ускорения в контрольной точке ±20%, длительности действия ударного ускорения ±30%. Параметры испытательного режима следует измерять в процессе настройки ударного стенда на режим, проводя дальнейшие испытания при неизменной настройке стенда. Испытания проводят при частоте следования ударов 40-120 в минуту. В испытании допускаются перерывы, длительность которых не ограничивается, но при этом общее число ударов должно сохраняться. Продолжительность испытаний должна быть достаточной для контроля параметров, установленных в стандартах и технических условиях на изделия конкретных видов, но не менее 100 ударов для изделий группы 3.

Результаты испытаний на стойкость к механическим воздействиям считают положительными, если СА соответствуют требованиям 5.2.2, 5.2.4, 5.2.5, СЗВЧ ВУЗД90 или максимального ВУС90, СЗВЧ ПУ или максимального полного УАМЧ.

После воздействия транспортной тряски упаковка не должна иметь повреждений.

7.7.2 Проверку на влагоустойчивость при эксплуатации СА к климатическим воздействиям проводят по методике, установленной в технических условиях на СА конкретных типов.

Влагоустойчивость при эксплуатации проверяют в камере влаги с допустимыми отклонениями относительной влажности + 3% и отклонением температуры от нормированных значений при испытании на воздействие повышенной температуры + 2°С, при испытании на воздействие пониженной температуры + 3°С, или в условиях ,позволяющих обеспечивать требуемые значения параметров окружающей среды.

Результаты испытаний на влагоустойчивость при эксплуатации считают положительными, если СА соответствуют требованиям 5.2.2, 5.2.4, 5.2.5, а также отсутствуют следы коррозии, изменение СЗВЧ ПУ или максимального полного УАМЧ относительно измеренного до испытаний находится в пределах ±5 дБ и изменение СЗВЧ ВУЗД90 или максимального ВУС90 относительно измерений до испытаний находится в пределах ±4 дБ в течение 15 мин после извлечения СА из камеры, а через 2 ч (не более) после извлечения СА из камеры электроакустические параметры, СЗВЧ ВУЗД90 или максимального ВУС90, СЗВЧ ПУ или максимального полного УАМЧ, соответствуют нормам, установленным в технических условиях на СА конкретных типов.

Результаты испытаний на стойкость к климатическим воздействиям при транспортировании и хранении считают положительными, если СА соответствуют требованиям 5.2.2, 5.2.4, 5.2.5, а электроакустические параметры, СЗВЧ ВУЗД90 или максимального ВУС90, СЗВЧ ПУ или максимального полного УАМЧ, соответствуют нормам, установленным в технических условиях на СА конкретных типов, после выдержки в нормальных условиях в течение 6 ч без транспортной упаковки или в течение 24 ч в транспортной упаковке.

7.8 Определение показателей надежности

7.8.1 Определение показателей надежности проводят по методике, установленной в технических условиях на СА конкретных типов. Критерии отказов и предельных состояний СА устанавливают в технических условиях на СА конкретных типов.

Исходными данными для расчетно-экспериментального метода служат:

  • информация о надежности СА, полученная в ходе эксплуатации в регионах, где осуществляется гарантийный ремонт этих СА;
  • экспериментальные значения показателей надежности составных частей СА, полученные при их автономных испытаниях, а также эксплуатации в составе других СА.

Расчеты показателей безотказности проводят по данным эксплуатации СА и их составных частей в пределах гарантийного срока эксплуатации.

При обработке результатов подконтрольной эксплуатации следует учитывать результаты, полученные только по тем СА, по которым зафиксировано предельное состояние, и работоспособным СА, предъявленным для оценки по истечении срока подконтрольной эксплуатации. Срок подконтрольной эксплуатации должен быть равен среднему сроку службы, указанному в технических условиях на СА конкретных типов.

7.9 Методы проверки стойкости к дезинфекции

7.9.1 Проверку стойкости к дезинфекции проводят пятикратным протиранием салфеткой, смоченной 3%-ным раствором перекиси водорода или 3%-ным раствором перекиси водорода с 0,5%-ным содержанием моющего средства. После протирания СА должны соответствовать требованиям конструкторской документации и образцу внешнего вида, утвержденному изготовителем, а также нормам на электроакустические параметры, СЗВЧ ВУЗД90 или максимального ВУС90, СЗВЧ ПУ или максимального полного УАМЧ, эквивалентного входного уровня шума, общего гармонического искажения

Материал салфетки, моющее средство и другие требования устанавливают в технических условиях на СА конкретных типов.

7.10 Оценка функций и алгоритмов

7.10.1 Для оценки функций и алгоритмов слуховых аппаратов с обычным набором пользовательских настроек допускается использовать стандарт
ГОСТ Р МЭК 60118-15.

7.10.2 Диаграммы направленности микрофонной системы измеряются на частотах 500, 1000, 1600 и 2000 Гц в свободном звуковом поле согласно разделу 3. СА программируют в режим направленности. Устанавливают контрольное усиление СА и располагают его на расстоянии до одного метра от источника звука. Ориентация СА – как при реальном расположении СА на пациенте, обращенном лицом в направлении, с которого приходит звук. Уровень звукового поля в месте расположения устанавливается на уровне 60 дБ. Далее меняют положение СА в горизонтальной плоскости от 0 до 360 градусов с шагом 15 градусов и измеряют ВУЗД слухового аппарата. В полярных координатах строят график зависимости разности ВУЗД слухового аппарата от угла поворота СА относительно ВУЗД слухового аппарата при нулевом положении. Также допускается использовать акустические камеры, позволяющие проводить измерения направленности СА по методике, указанной в документации на данную камеру, о чем должно быть указано в технических условиях.

Примечание – Допустимы иные условия измерений, о чем должно быть указано в технических условиях на СА конкретных типов.

7.11 Методика проверки СА на соответствие требованиям по помехоустойчивости

Методика проверки СА на соответствие требованиям по помехоустойчивости приведена в ГОСТ Р 51407 и/или ГОСТ Р МЭК 60118-13.

7.12 Методика проверки СА на соответствие требованиям ГОСТ Р МЭК 60601-1 для изделий с внутренним источником питания, рабочая часть – тип B.

Методика проверки приведена в ГОСТ Р МЭК 60601-1 для изделий с внутренним источником питания, рабочая часть – тип B.

7.13 Методика проверки соответствия СА требованиям по пылевлагозащищенности

Методика проверки соответствия СА требованиям по пылевлагозащищенности (IP) приведена в ГОСТ 14254.

8. Транспортирование и хранение

8.1 Транспортирование СА проводят по группе 5 ГОСТ 15150 крытым транспортом всех видов, в том числе в отапливаемых герметизированных отсеках самолетов, в соответствии с правилами перевозок, действующими на транспорте каждого вида.

8.2 Условия хранения СА в упаковке изготовителя – по группе 1 ГОСТ 15150.

9. Указания по эксплуатации

9.1 Рекомендуется при использовании СА применять индивидуальные ушные вкладыши, особенно для аппаратов с акустическим усилением более 60 дБ.

9.2 Указания по эксплуатации СА конкретных типов устанавливают в технических условиях на них.

10. Гарантии изготовителя

10.1 Изготовитель гарантирует соответствие СА требованиям настоящего стандарта при соблюдении условий эксплуатации, транспортирования и хранения.

10.2 Гарантийный срок хранения – не менее 6 мес. с момента отгрузки изготовителем.

10.3 Гарантийный срок эксплуатации СА – не менее одного года со дня продажи через розничную торговую сеть, а для внерыночного потребления – со дня получения потребителем, в пределах гарантийного срока хранения.

10.4 При комплектации СА комплектующими и принадлежностями продолжительность установленных для СА гарантийных сроков на них не распространяется. Гарантийные сроки на комплектующие и принадлежности устанавливают в стандартах и технических условиях на них.

Примечание – Изготовитель вправе указывать другие гарантийные сроки, но не ниже указанных в настоящем стандарте.

Приложения

Приложение А. Требования к эксплуатационной документации

А.1 В эксплуатационной документации (паспорте или руководстве по эксплуатации) серийно выпускаемых СА воздушного звукопроведения должны быть приведены номинальные значения параметров с допустимыми отклонениями из числа указанных в 4.4

  • максимальный ВУЗД90;
  • максимальное акустическое усиление;
  • нижняя и верхняя границы основной частотной характеристики;
  • потребляемый ток;
  • максимальный выходной УЗД при работе СА с индукционной катушкой (при наличии).

А.2 В эксплуатационной документации (паспорте или руководстве по эксплуатации) серийно выпускаемых СА костного звукопроведения должны быть приведены номинальные значения параметров с допустимыми отклонениями из числа указанных в 4.5:

  • максимальный ВУС90;
  • максимальный полный УАМЧ;
  • нижняя и верхняя границы основной частотной характеристики уровня силы;
  • потребляемый ток;
  • максимальный ВУС при работе СА с индукционной катушкой (при наличии).

А.3 В эксплуатационной документации должны быть указаны способы чистки и дезинфекции СА и применяемые для этого средства.

А.4 В эксплуатационной документации должны быть приведены рисунки с указанием расположения неоперативных регуляторов и пояснениями их положений и соответствующих значений параметров.

А.5 Эксплуатационная документация должна содержать наглядное (словесное, графическое и т. п.) описание недопустимых воздействий на СА (климатических, механических, агрессивных веществ и т. п.) и связанных с этим ограничений приема СА на гарантийный ремонт.

А.6 В эксплуатационных документах СА должны быть указания о максимально допустимых значениях напряжения переменного и постоянного тока, которое может быть приложено к электрическому входу СА (при его наличии), а также о полярности напряжения.

А.7 В эксплуатационных документах СА должны быть указаны номинальные напряжения питания и типы возможных к использованию источников питания.

А.8 В эксплуатационной документации (паспорте или руководстве по эксплуатации) серийно выпускаемых СА воздушного звукопроведения рекомендуется привести описание функций и алгоритмов, реализуемых СА, из числа указанных в приложении Г.

Приложение Б. Требования к информационным материалам

Б.1 Информационный материал, предназначается для медицинских учреждений и лиц, занимающихся подбором СА. В информационных материалах рекомендуется приводить номинальные значения параметров из числа указанных в 4.4 и 4.5.

Б.2 Информационные материалы должны содержать сведения о видах, степенях и других характеристиках тугоухости, наиболее эффективно протезируемых данной моделью СА.

Б.3 В информационных материалах рекомендуется приводить рисунки с изображением общего вида СА, с указанием расположения неоперативных регуляторов и пояснениями их положений и соответствующих значений параметров.

Б.4 В информационных материалах на импортируемые и предназначенные для экспорта СА указываются сведения о стандарте и условиях, в соответствии с которыми определены номинальные значения параметров.

Б.5 В информационных материалах рекомендуется привести описание функций и алгоритмов реализуемых СА из числа указанных в приложении Г.

Приложение В. Условия испытаний и требования к испытательной и измерительной аппаратуре

В.1 Условия окружающей среды

В.1.1 При испытаниях фактические климатические условия на месте испытания должны находиться в пределах следующих допусков, если нет других указаний в технических условиях на СА конкретных типов:

  • температура окружающего воздуха при измерении СА воздушного звукопроведения (+ 23 ±5) °С;
  • температура окружающего воздуха при измерении СА костного звукопроведения (+ 23 ±1) °С. Допустимы отклонения до ± 5 °C, при условии, что возможна корректировка результатов при помощи данных для изменения чувствительности механической камеры связи;
  • относительная влажность воздуха – от 20 % до 80 %;
  • атмосферное давление – от 610 мм. рт. ст. до 798 мм. рт. ст. (от 81,3 кПа до 106,3 кПа).

При проведении испытаний в условиях, отличающихся от указанных, необходимо сделать поправку в соответствии с паспортом и калибровочными характеристиками применяемых измерительных приборов.

В.2 Подготовка СА к испытаниям

В.2.1 Электроакустические измерения СА воздушного звукопроведения при соединении СА с эталонной камерой объемом 2 см3 проводят в соответствии с требованиями ГОСТ Р МЭК 60318-5.

Где это возможно, реальный ушной вкладыш должен быть заменен эквивалентом ушного вкладыша, состоящим из жесткой трубки, соединенной коаксиально с полостью длиной (18,00±0,20) мм и внутренним диаметром (3,00±0,06) мм, имитирующей трубчатую часть усредненного ушного вкладыша (6.3, рисунок 2, ГОСТ Р МЭК 60318-5).

Соединение между патрубком телефона и эквивалентом ушного вкладыша должно быть герметичным, для чего применяют соответствующее уплотнение. При этом необходимо следить за тем, чтобы не образовались побочные полости, которые могли бы повлиять на измеряемые характеристики телефона.

Слуховой аппарат с выходным звукопроводом (например, заушный крюк (рожок) и гибкая подводящая трубка) заушных слуховых аппаратов должен быть подсоединен к эталонной камере объемом 2 см3 с помощью эквивалента ушного вкладыша, как описано в 6.3, ГОСТ Р МЭК 60318-5. Это следует обеспечить применением небольшого наконечника, изготовленного из жесткого материала, с отверстием, внутренний диаметр которого равен номинальному диаметру конца выходного звукопровода ±0,06 мм при длине (5,0 ± 0,1) мм.

Соединение между небольшим наконечником и эквивалентом ушного вкладыша должно быть герметичным, что достигается применением соответствующих уплотнителей. При этом необходимо следить за тем, чтобы не образовались побочные полости, которые могли бы повлиять на измеряемые характеристики телефона.

Материал, из которого изготовлена подводящая трубка между слуховым аппаратом и небольшим наконечником, ее длина и внутренний диаметр должны соответствовать требованиям изготовителя. В частности, подводящая трубка может быть выполнена из гибкого или твердого материала.

Длина подводящей трубки, измеренная от конца заушного крюка (рожка) до входа в жесткую трубку эквивалента ушного вкладыша диаметром 3 мм, должна быть (25 ± 1) мм, если не установлено иное.

Основные особенности подсоединения слухового аппарата заушного типа к камере описаны в 6.4, рисунок 3, ГОСТ Р МЭК 60318-5. Как пример, внутренний диаметр небольшого наконечника выбран равным 2 мм, что соответствует диаметру наиболее часто используемых трубок. Могут быть применены и другие способы подсоединения, отличные от показанного, при условии, что они соответствуют вышеуказанным требованиям.

Внутриушной слуховой аппарат может быть непосредственно подсоединен к полости камеры в соответствии с 6.2, рисунок 1, ГОСТ Р МЭК 60318-5. Соединение слухового аппарата с камерой должно быть герметичным, для чего используют соответствующее уплотнение. При этом необходимо следить за тем, чтобы не образовались побочные полости, которые могли бы повлиять на измеряемые характеристики слухового аппарата.

В.2.2 Электроакустические измерения СА воздушного звукопроведения при соединении СА с имитатором закрытого уха проводят в соответствии с требованиями ГОСТ Р МЭК 60318-4.

Слуховой аппарат должен соединяться непосредственно с полостью имитатора внутреннего уха, как показано в 6.2, рисунок 1, ГОСТ Р МЭК 60318-4. Соединение между слуховым аппаратом и имитатором внутреннего уха должно быть герметичным, с использованием подходящих уплотнений. При этом следует обращать внимание на недопустимость ввода (образования) дополнительного объема полости, что может оказывать влияние на измеряемые характеристики слухового аппарата.

Таким же образом может измеряться (испытываться) слуховой аппарат, оборудованный отдельным слуховым вкладышем.

Слуховые аппараты с выносным (вставляемым) телефоном.

Где возможно, ушной вкладыш, используемый с ухом человека, должен заменяться имитатором ушного вкладыша (ушной формы), состоящим по существу из жесткой трубки, соосной с полостью, которая имеет длину 18,0 мм ± 0,20 мм и внутренний диаметр 3,00 мм ± 0,06 мм. и представляющим собой трубчатую часть среднего ушного вкладыша.

Соединение между ступицей (nub) телефона и имитатором ушного вкладыша должно выполняться герметичным, путем использования подходящих уплотнений. При этом следует обращать внимание на недопустимость ввода (образования) дополнительного объема полости, что может оказывать влияние на измеряемые характеристики телефона.

Пример телефона, подсоединенного к имитатору внутреннего уха с имитатором ушного вкладыша (ушной формы), представлен в 6.3, рисунок 2, ГОСТ Р МЭК 60318-4. Он иллюстрирует основные элементы данного метода соединения. Однако, могут использоваться другие формы, которые обеспечивают соответствие с вышеуказанными спецификациями.

Если неудобно отсоединять ушной вкладыш, используемый с ухом человека, от телефона, ушной вкладыш должен подсоединяться непосредственно к входу цилиндрической полости и должен быть соосным с ней. При этом следует обращать внимание на недопустимость ввода (образования) дополнительного объема полости, что может оказывать влияние на измеряемые характеристики телефона.

Слуховой аппарат заушного типа с акустическим выходным устройством (например, крюк (рожок) и гибкая соединительная трубка слухового аппарата заушного типа) должен подсоединяться к имитатору внутреннего уха с имитатором ушного вкладыша, как описано в 6.3 ГОСТ Р МЭК 60318-4. Это должно выполняться с помощью небольшого соединительного устройства из жесткого материала, который имеет внутренний диаметр такой же, как номинальный диаметр на конце акустического выходного приспособления ±0,06 мм и длину 5,0 мм ±0.1 мм.

Соединение между небольшим соединительным устройством и имитатором ушного вкладыша должно выполняться герметичным, путем использования подходящих уплотнений. При этом следует обращать внимание на недопустимость ввода (образования) дополнительного объема полости, что может оказывать влияние на измеряемые характеристики слухового аппарата.

Материал, длина и внутренний диаметр соединительной трубки между слуховым аппаратом и небольшим устройством связи должны соответствовать спецификациям производителя слухового аппарата. В частности, соединительная трубка может быть изготовлена из гибкого или жесткого материала.

Эта соединительная трубка между слуховым аппаратом и небольшим устройством связи должна быть подсоединена к ступице (кольцу) слухового аппарата, вмонтированного в оправу очков или в крюк (рожок) слухового аппарата заушного типа (что из них имеется). Соединительная трубка не должна подсоединяться непосредственно к слуховому аппарату заушного типа, если этот аппарат предназначен для использования с крюком (рожком).

Если не определено иначе, длина соединительной трубки, измеренная от конца крюка (рожка) или от конца ступицы (nub) до входа жесткой трубки, диаметром 3 мм имитатора ушного вкладыша, должна быть равной 25 мм ±1 мм.

Основные элементы имитатора внутреннего уха с имитатором ушного вкладыша (имитатором ушной формы) и небольшого устройства связи, показывающие соединительное приспособление для слухового аппарата заушного типа, представлены в 6.3, рисунок 3, ГОСТ Р МЭК 60318-4. Как пример, внутренний диаметр небольшого устройства связи был выбран равным 2 мм, в соответствии с наиболее часто используемыми трубками. Могут быть использованы формы, отличные от представленной формы, с условием, что они соответствуют вышеприведенным спецификациям.

В.2.3 Все электроакустические измерения СА костного звукопроведения проводят при соединении СА с механической камерой связи в соответствии
с ГОСТ Р МЭК 60118-9.

Центр вибрирующей поверхности костного вибратора должен совпадать с центром прокладки механической камеры связи. Вибрационная поверхность должна быть перпендикулярна к оси механической камеры связи.

Варианты монтажа костного вибратора к механической камере связи производятся в соответствии с 6.4 и приложением А по ГОСТ Р МЭК 60118-9.

Костный вибратор присоединяется к механической камере связи со статической силой 2.5Н ±0.3Н. При присоединении костного вибратора к механической камере связи масса последней не должна увеличиваться.

В.2.4 Настройка регуляторов СА

Изготовитель должен определить параметры настройки ПУ, используемые при испытании, предоставив испытательные настройки, набор запрограммированных настроек или ссылки на физические контрольные настройки и средства для получения КНИ.

Слуховой аппарат должен быть настроен так, чтобы иметь самый широкий доступный диапазон частотной характеристики, наибольшие доступные СЗВЧ ВУЗД90, ВУС90 и, если возможно, наибольшие СЗВЧ ПУ, полный УАМЧ. Для всех испытаний, где это возможно, за исключением испытаний по 4.4 с, 4.4 т, функция АРУ слуховых аппаратов должна быть настроена для получения минимального эффекта. Для испытаний по 4.4 с, 4.4 т функция АРУ должна быть настроена для получения максимального эффекта. Для целей настоящего стандарта расширение следует рассматривать как часть функции АРУ.

Адаптивные характеристики, такие как подавление шумов, системы подавления с обратной связью и так далее, влияющие на достоверность измерений, которые выполняются с установившимися сигналами чистого тона, должны быть блокированы (отключены). Какие именно настройки необходимы для процедур проведения испытаний, должен указать производитель, предоставив либо программу испытаний и набор программируемых установок, либо методику настроек регуляторов вручную.

В.3 Управление звуковым полем

В.3.1 Контрольной точкой слухового аппарата является срединная точка акустического входа слухового аппарата. При выборе другой контрольной точки СА ее положение указывают в технических условиях на СА конкретных типов.

Постоянное значение входного УЗД в контрольной точке слухового аппарата поддерживают при помощи:

а) контрольного микрофона (метод давления);

б) сохранения компьютерных данных (метод замещения).

В.3.2 При использовании метода давления, вход в контрольный микрофон должен быть расположен как можно ближе к контрольной точке слухового аппарата, без его касания. Для микрофона диаметром 15 мм или менее расстояние от центра мембраны до контрольной точки слухового аппарата должно быть равным (5 ± 3) мм Ось контрольного микрофона должна быть расположена перпендикулярно относительно оси динамика и должна пересекать ее в контрольной точке слухового аппарата. Линия, проходящая через контрольную точку слухового аппарата, должна совпадать с осью источника звука. На рисунке 1, рисунке 2 и рисунке 3 приведены примеры расположения СА при измерении методом давления.

1 пространство проведения испытания, 2 источник звука, 3 слуховой аппарат, 4 контрольный микрофон, 5 диафрагма, 6 акустическая камера,
7 контрольная точка слухового аппарата

Рисунок 1 – Расположение СА карманного типа
при измерениях методом давления

1 – пространство проведения испытания, 2 – источник звука, 3 – слуховой аппарат, 4 – контрольный микрофон, 5 – диафрагма, 6 – акустическая камера,
7 – контрольная точка слухового аппарата

Рисунок 2 – Расположение СА заушного типа
при измерениях методом давления

1 – пространство проведения испытания, 2 – источник звука, 3 – слуховой аппарат, 4 – контрольный микрофон, 5 – диафрагма, 6 – контрольная точка слухового аппарата

Рисунок 3 Расположение СА внутриушного типа при измерениях методом давления

В.3.3 При использовании альтернативного метода поддержания значения УЗД, который получил название метод замещения, контрольный микрофон, откалиброванный по давлению, располагается на расстоянии (5 ± 3) мм от контрольной точки слухового аппарата и измеряется на дискретных частотах значение УЗД испытываемой модели слухового аппарата, находящегося в положении для испытания. С помощью соответствующих средств, например, цифровой техники, сохраняют, а затем воспроизводят требуемые напряжения для постоянного УЗД в контрольной точке или с помощью контрольного микрофона, расположенного на прежнем месте, или имитатора микрофона, расположенного в этом же месте, для выполнения условий метода давления.

В.3.4 Для обоих вышеупомянутых методов рекомендуется использовать микрофон диаметром 15 мм или менее. Фактически используемый диаметр микрофона указывают в технических условиях на СА конкретных типов.

В.3.5 Следует обратить внимание на то, чтобы ни акустическая камера, ни механическая опора слухового аппарата существенно не нарушали звуковое поле вблизи слухового аппарата на используемых частотах испытания и не оказывали негативного влияния, возникающего от механического резонанса или механической вибрации, а также ни в коем случае не влияли на механические и акустические свойства слухового аппарата при испытании.

В.4 Принцип измерений слуховых аппаратов с функцией направленности

В.4.1 Проведение измерений для слуховых аппаратов направленного действия требует специальной системы измерений. Источник звука должен соответствовать условиям свободного поля. Контрольной точкой слухового аппарата является срединная точка акустических входов слухового аппарата. Контрольный микрофон должен иметь диаметр 15 мм или меньше. Расстояние от центра диафрагмы до контрольной точки должно составлять (12 ± 2) мм. Ось контрольного микрофона должна быть расположена перпендикулярно относительно оси источника звука и должна пересекать ее в контрольной точке слухового аппарата как указано на рисунке 4.

Линия, проходящая через акустические входы, расположенные на передней и задней панели слухового аппарата, должна совпадать с осью динамика. В случае наличия на обеих панелях аппарата нескольких акустических входов эта линия должна проходить через контрольную точку слухового аппарата.

А - вид сверху, B - вид сбоку.

1 – пространство проведения испытания, 2 – источник звука, 3 – слуховой аппарат, 4 – контрольный микрофон, 5 – диафрагма, 6 – контрольная точка слухового аппарата, 7 – акустическая камера.

Рисунок 4 – Расположение СА направленного действия при измерениях

В.4.2 СА устанавливают в звуковом поле без каких-либо перегородок или других приспособлений, имитирующих тело или часть тела человека. Условия испытаний СА при испытаниях указывают в технических условиях на СА конкретных типов.

В.5 Требования к испытательной аппаратуре.

В.5.1 Нежелательное воздействие в испытательной камере

В.5.1 Нежелательное воздействие в испытательной камере внешнего шума, механической вибрации и случайных электрических или магнитных полей должно быть достаточно низким, чтобы не оказывать влияния на результаты испытания более чем на 0,5 дБ. Это можно проверить, если выходной уровень слухового аппарата падает, по меньшей мере, на 10 дБ при выключенном источнике сигнала.

В.5.2 Источник звука.

В.5.2.1 Источник звука (неискаженный тон) должен быть способен создавать в испытательной точке требуемые УЗД от 50 дБ до 90 дБ с минимальным шагом 5 дБ в пределах допуска ± 1,5 дБ относительно указанных значений в диапазоне частот от 200 Гц до 3 000 Гц, и в пределах ± 2,5 дБ относительно указанных значений в диапазоне частот от 3 000 Гц до 8 000 Гц.

Если калибровка источника звука зависит от условий окружающей среды, то при необходимости должны быть внесены соответствующие корректировки.

В.5.2.2 Погрешность частоты источника звука должна быть в пределах ± 2 % установленного значения. Частотный интервал между информационными точками в кривых частотной характеристики не должен превышать одной двенадцатой октавы или 100 Гц в зависимости от того, какой из этих интервалов больший.

В.5.2.3 Для измерения частотной характеристики и максимального усиления общее гармоническое искажение акустического сигнала не должно превышать 2 %.

При измерении гармонического искажения общее гармоническое искажение акустического сигнала вплоть до уровня звукового давления, равного 70 дБ, не должно превышать 0,5 %.

В.5.2.4 Камера малого объема должна соответствовать требованиям
ГОСТ Р МЭК 60318-5, имитатор закрытого уха должен соответствовать требованиям ГОСТ Р МЭК 60318-4, механическая камера связи должна соответствовать требованиям ГОСТ Р МЭК 60318-6.

В.5.3 Оборудование для измерений значений УЗД и гармонических искажений, создаваемых слуховым аппаратом

Оборудование для осуществления измерений значений УЗД, создаваемых слуховым аппаратом, должно соответствовать следующим требованиям:

В.5.3.1 Система измерения уровня звукового давления должна иметь точность измерения в пределах ±1,0 дБ на частоте калибровки;

В.5.3.2 Показания уровня звукового давления в акустической камере относительно показаний на частоте калибровки должны быть измерены с расширенной неопределенностью не более ±1,0 дБ в диапазоне частот от 200 до 5000 Гц.

Использование при необходимости селективной измерительной системы для того, чтобы отделить отклик слухового аппарата на сигнал от сопутствующих шумов слухового аппарата, должно быть указано в отчете об испытаниях.

В.5.3.3 Коэффициент гармоник измерительной системы должен быть менее 1 % для измерения УЗД до 130 дБ включительно и менее 3 % для измерения УЗД от 130 до 145 дБ включительно.

В.5.4 Система измерений постоянного тока

Система измерений постоянного тока должна соответствовать следующим характеристикам:

а) Допустимое отклонение ± 5 % от значения измеряемого тока;

б) падение напряжения на устройстве измерения тока при измерении постоянного тока, равное или не превышающее 50 мВ;

в) Полное сопротивление, не превышающее 1 Ом по всему диапазону частот от 200 до 5000 Гц.

Примечание – Одним из способов реализации в) является шунтирование устройства измерения тока емкостью 8000 мкФ. Емкость не должна шунтировать батарею или источник питания.

В.5.5 Источник магнитного поля.

В.5.5.1 Источник магнитного поля не должен содержать никаких ферромагнитных материалов, механическая опора СА должна быть изготовлена не из металла, пространство для измерений должно быть удалено от каких-либо ферромагнитных или других материалов, в которых могут наводиться вихревые токи, вызывающие возмущение магнитного поля.

В.5.5.2 Внешние шумы, фон и поля рассеяния в пространстве для измерения не должны превышать 0,5 дБ и влиять на результаты измерений во всем требуемом частотном диапазоне.

Примечание – Это требование считают выполненным, если при выключении источника сигнала выходной УЗД снижается не менее чем на 10 дБ.

В.5.5.3 Источник магнитного поля должен иметь такую форму и размеры, чтобы внутри сферы диаметром 10 см, центр которой является точкой измерения и совпадает с центром витка источника, отклонение магнитного поля по значению и направлению не превышало ±5 и ±10% соответственно.

Примечания
  1. Этим требованиям отвечает квадратная петля со сторонами «a» более 0,5 м и круглая петля диаметром «d», превышающим 0,56 м.
  2. При использовании источников магнитного поля, образующих сферу меньшего диаметра, должна быть обеспечена соответствующая воспроизводимость установки СА в точке измерения.

В.5.5.4 Общие гармонические искажения магнитного поля не должны превышать 1 %.

Примечание – Это условие выполняется, если искажения входного тока составляют менее 1%.

В.5.5.5 Значение напряженности магнитного поля в точке измерения следует поддерживать в пределах допустимого отклонения ± 20 % в диапазоне частот от 200 Гц до 8 000 Гц.

В.5.5.6 Напряженность магнитного поля в центре прямоугольного контура со стороной «a» и током «i», определяется формулой 1:

(1)

где H – напряженность магнитного поля, А/м;

i – ток в витке, А;

a – сторона витка квадратной формы, м.

В центре круглого контура диаметром «d» и током «i», напряженность магнитного поля определяется формулой 2:

(2)

где d – диаметр витка круглой формы, м.

В.5.5.7 СА должен быть расположен в точке измерения в положении, обеспечивающем при подаче сигнала максимальный выходной УЗД. Положение СА должно быть зафиксировано и указано в технических условиях на СА конкретных типов.

В.5.6 Нормальные условия эксплуатации СА

В.5.6.1 Батарея или источник питания

Предпочтительно следует использовать подходящий источник питания, который воспроизводит напряжение и внутренне сопротивление реальных батарей. Также можно использовать реальную батарею, тип которой рекомендован производителем для использования в слуховом аппарате.

Тип используемого источника питания и значение напряжения разомкнутой цепи должны быть указаны в технических условиях на СА конкретных типов. Напряжение разомкнутой цепи представляет собой значение напряжения при отключенном слуховом аппарате.

Для имитаторов батарей следует использовать следующие значения напряжения разомкнутой цепи и ряда внутренних сопротивлений, приведенные в таблице 3.

Таблица 3 – Значения сопротивлений и напряжения разомкнутой цепи для имитаторов батарей

Обозначение типа батареи по МЭК/ANSI Внутреннее сопротивление. Ом Напряжение разомкнутой цепи. В
PR521 / 5А 8,2 1,3
PR70/ 10А 6,2 1,3
PR41/312 6,2 1,3
PR48/13 6,2 1,3
PR44/675 3,3 1,3

Допуски:

  • напряжение разомкнутой цепи — ± 0,05 В;
  • сопротивление — 5 %.

В.5.6.2 Условия окружающей среды

При испытаниях фактические условия на месте испытания должны находиться в пределах следующих допусков и должны быть заявлены:

  • температура: (+23 ± 5) °С;
  • относительная влажность воздуха: от 20 % до 80 %;
  • атмосферное давление в диапазоне: от 81,3 кПа до 106,3 кПа.

Если имеют место другие условия, эти условия должны быть заявлены. Если от условий окружающей среды зависит калибровка системы измерения, то для такой зависимости должна быть введена коррекция.

В.5.6.3 Система акустического выхода

Системы звукового выхода, такие как телефон с ушными вкладышами, заушный крюк (рожок) или звуковые трубки – по МЭК 60318-5.

Используемая система звукового выхода должна быть заявлена.

В.5.6.4 Вспомогательные устройства

Используемые для соединения со слуховым аппаратом конкретные вспомогательные устройства должны быть заявлены.

Приложение Г. Описание функций и алгоритмов обработки звуковых сигналов в слуховом аппарате

Методика подтверждения наличия функций и алгоритмов обработки звуковых сигналов в СА и проверки соответствующих заявленных параметров описывается в ТУ на конкретный СА конкретным производителем.

В технических условиях на СА конкретных типов дополнительно к перечисленным функциям и алгоритмам обработки звуковых сигналов могут быть приведены и другие, в соответствии с функциональными особенностями и назначением СА.

Каналы компрессии. Количество каналов компрессии.

Определение: количество частотных полос, разбивающих весь диапазон обрабатываемых частот, в каждой из которых имеется возможность устанавливать значение коэффициента и/или порога компрессии, то есть возможность независимой раздельной регулировки/установки усиления для входных сигналов различных уровней громкости.

Бесканальная обработка звука.

Определение: обработка звукового сигнала без разделения на частотные каналы в момент времени с возможностью устанавливать значения коэффициентов компрессии во всём частотном диапазоне, независимо в каждой отдельной частоте, то есть возможность независимой раздельной регулировки усиления для входных сигналов различных уровней громкости для каждого сигнала в момент времени.

Эквалайзер. Количество полос эквалайзера.

Определение: количество частотных полос, разбивающих весь диапазон обрабатываемых частот, в каждой из которых нет независимой раздельной регулировки усиления для входных сигналов различных уровней громкости, но в каждой из этих полос имеется возможность регулировки общего усиления.

Количество программ.

Определение: количество областей памяти с возможностью хранения независимых вариантов настроек слухового аппарата. Эти варианты настроек одновременно хранятся в слуховом аппарате и независимо активируются пользователем с помощью оперативного переключателя программ.

Подавление обратной связи.

а) Противофазное

Определение: аппаратный анализ выходного сигнала и формирование противофазного сигнала к части выходного сигнала, вызывающего акустическую обратную связь. В итоге, смешение на выходе слухового аппарата противофазного сигнала с выходным сигналом, вызывающим акустическую обратную связь, вызывает исчезновение акустической обратной связи за счет устранения условий ее возникновения.

б) Стационарный фильтр

Определение: определение частоты возникновения акустической обратной связи и формирование частотного выреза (узкополосного фильтра) на амплитудно-частотной характеристике усиления слухового аппарата. В результате применения фильтра акустическая обратная связь исчезает за счет устранения условий ее возникновения. Характеристики узкополосного фильтра: добротность, глубина.

Адаптивный фильтр включает в себя отслеживание и определение частоты возникновения акустической обратной связи в режиме реального времени и оперативную автоматическую настройку центральной частоты фильтра на частоту возникновения акустической обратной связи.

в) Дополнительные алгоритмы устранения акустической обратной связи

1 – Частотный сдвиг – разрыв фазовых условий возникновения акустической обратной связи.

2 – «Отпечаток пальца» – модулирование поднесущей частотой всего сигнала, проходящего через процессор. В слуховом аппарате производится анализ входного сигнала для определения наличия в нем составляющих, модулированных на предыдущем этапе, и отфильтровывание этих составляющих для устранения условий возникновения акустической обратной связи.

Шумоподавление

Высокоуровневое шумоподавление (адаптивное, модуляционное, спектральное, выделение речи).

Разделение полосы пропускания на каналы (полосы) и анализ в каждой полосе соотношения SNR. При превышении заданного порога происходит снижение усиления в данном канале (полосе). Возможность ручной или адаптивной регулировки степени снижения усиления.

Анализ SNR по типу делится на модуляционный и спектральный.

а)Подавление импульсных шумов

Определение: в основе подавления импульсных шумов лежит анализ скорости нарастания входного сигнала. При превышении им заданного значения происходит снижение усиления в канале (полосе) шумоподавления.

б) Подавление собственных шумов (микрофона), шумов низкого входного уровня (экспансия, менеджер тихих шумов, Soft Squelch). Используется коэффициент экспансии меньше 1 и значения порогов экспансии ниже 48 дБ в каналах компрессии или во всем частотном диапазоне.

Направленность

а) Фиксированная направленность

Диаграмма направленности слухового аппарата (с наибольшей чувствительностью микрофона с фронтального направления) неизменна с течением времени и при изменении окружающей акустической обстановки. Диаграмма направленности может иметь вид диполя, кардиоида, суперкардиоида, гиперкардиоида, либо промежуточных между ними видов.

б) Адаптивная направленность

Плавное изменение типа диаграммы направленности в зависимости от направления на самый громкий источник звука в тыловой полусфере таким образом, чтобы этот звук имел минимальный выходной уровень.

в) Разделенная направленность

Ненаправленный режим (Omni) в низкочастотном диапазоне и направленный режим в высокочастотном диапазоне. Направленный режим может быть реализован в виде как фиксированной, так и адаптивной направленности.

г) Многочастотная направленность

Разделение полосы пропускания слухового аппарата на каналы (полосы) и формирование адаптивной диаграммы направленности независимо для каждого канала в зависимости от входного сигнала в этом канале (полосе).

д) Автоматическая направленность.

Выключение одного из типов направленности по алгоритму производителя (разработчика) и переход в Ненаправленный режим (Omni) при тихой окружающей обстановке.

Бинауральные функции

а) Бинауральная координация

Координированное (одновременное) переключение программ на обоих слуховых аппаратах в случае переключения программы на одном из аппаратов, и/или координированное (одновременное) изменение громкости на обоих слуховых аппаратах в случае регулировки громкости на одном из аппаратов.

б) Бинауральная синхронизация

Синхронизация включения, работы и степени (глубины) срабатывания адаптивных функций обработки звука на обоих слуховых аппаратах для сохранения бинаурального баланса звучания. Это относится к таким функциям, как направленность, шумоподавление, подавление обратной связи и т.д.

Под действие бинауральной синхронизации может подпадать, как только одна какая-либо функция, так и произвольное количество функций, доступных в конкретной модели слухового аппарата, количество которых не ограничивается вышеперечисленными функциями.

Бинауральная обработка звука

Это понятие включает в себя:

а) Бинауральную компрессию – сохранение межушной разницы громкости для локализации источника звуки;

б) Бинауральную направленность – формирование узкой диаграммы направленности с помощью бинауральной системы с использованием микрофонов двух слуховых аппаратов.

в) Бинауральный анализ окружающей обстановки. Система использует информацию от обоих слуховых аппаратов, что позволяет проводить более точный анализ окружающей обстановки, исключив из анализа тень головы.

г) Синхронизацию работы системы подавления обратной связи обоих слуховых аппаратов. Система позволяет уменьшить количество ложных срабатываний и уменьшить вызываемые ими артефакты.

Бинауральная передача данных

Беспроводная передача стереосигнала в слуховые аппараты при бинауральном протезировании от внешнего источника посредством специализированного устройства – стримера, или напрямую в слуховые аппараты.

Библиография

  1. СанПиН 2.1.7.2790-10. Санитарно-эпидемиологические требования к обращению с медицинскими отходами

УДК 616.28-089.24: 006.354 ОКС 17.140.50

Ключевые слова: аппараты слуховые электронные реабилитационные, технические требования, методы испытаний